Контактный телефон: +7 (981) 121-46-93, +7 (800) 200-90-76 , Email: parts-katalog@yandex.ru, где купить |
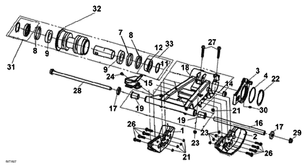
вернуться к списку узлов и деталей ДЕТАЛИРОВКА ДЛЯ МОДЕЛИ: BRP ATV DS 250, 2016 Раздел: Rear Swing Рычаг North America
|
|||||||||||||||||||||||||||||||||||||||||||||||||||||||||||||||||||||||||||||||||||||||||||||||||||||||||||||||||||||||||||||||||||||||||||||||||||||||||||||||||||||||||||||||
| Номер на рисунке | Артикул | Наименование | Кол-во на складе | Цена | |
| 1 | S40150RCA000 | RH Skid Пластина (RH Skid Plate) | под заказ | 2120 руб. | |
| 2 | S40160RCA000 | LH Skid Пластина (LH Skid Plate) | под заказ | 2120 руб. | |
| 3 | S42318RCA000 | Rear тормоз Caliper Кронштейн (Rear Brake Caliper Bracket) | под заказ | 3690 руб. | |
| 4 | S42319RCA000 | Уплотнительное кольцо (O Ring) | под заказ | 450 руб. | |
| 7 | S42312RCA000 | Steel Воротник (Steel Collar) | под заказ | 1360 руб. | |
| 8 | S91206RCA000 | Сальник (Oil Seal) | под заказ | 760 руб. | |
| 9 | S961506008310 | Шариковый подшипник (Ball Bearing) | под заказ | 8240 руб. | |
| 12 | XXX | Axle Корпус Проставка (Axle Housing Spacer) | |||
| 14 | S52201RCA000 | Locking Воротник (Locking Collar) | под заказ | 460 руб. | |
| 15 | S52205RCA000 | Цепь Направляющая (Chain Guide) | под заказ | 920 руб. | |
| 16 | S52208RCA000 | Стержень Проставка (Pivot Spacer) | под заказ | 1530 руб. | |
| 17 | S52209RCA000 | Стержень Пыльник (Pivot Dust Seal) | под заказ | 460 руб. | |
| 18 | S52200RCA000 | Swing Рычаг (Swing Arm) | под заказ | 17940 руб. | |
| 19 | S52210RCA000 | Стержень (Pivot) | под заказ | 1380 руб. | |
| 21 | S90304RCA000 | Фланецd Нейлоновая гайка 10 mm (Flanged Nylon Nut 10 mm) | под заказ | 450 руб. | |
| 22 | S91301RCA000 | Стопорное кольцо (Circlip) | под заказ | 760 руб. | |
| 23 | S9405008070 | Фланецd Гайка 10 mm (Flanged Nut 10 mm) | под заказ | 300 руб. | |
| 24 | S958010601207 | Фланецd Болт M6 X 12 (Flanged Bolt M6 X 12) | под заказ | 300 руб. | |
| 26 | S958010803007 | Фланецd Болт M8 X 30 (Flanged Bolt M8 X 30) | под заказ | 300 руб. | |
| 27 | S964001006508 | Фланецd Болт M10 X 65 (Flanged Bolt M10 X 65) | под заказ | 610 руб. | |
| 28 | S90103RCA000 | Стержень Болт (Pivot Bolt) | под заказ | 2420 руб. | |
| 29 | S90305GW0901 | Self Стопорная гайка 14 mm (Self Lock Nut 14 mm) | под заказ | 910 руб. | |
| 30 | S90465M9Q000 | Шайба 8 mm (Washer 8 mm) | под заказ | 610 руб. | |
| 31 | S4011ARCA000 | RH Axle Воротник в сборе (RH Axle Collar Assy) | под заказ | 1380 руб. | |
| 32 | S4231ARCA000 | Rear Axle Корпус в сборе (Rear Axle Housing Assy) | под заказ | 25400 руб. | |
| 33 | S4011BRCA000 | LH Axle Воротник в сборе (LH Axle Collar Assy) | под заказ | 1380 руб. | |

Время выполнения запроса 6.6169679164886 сек.
склад запчастей для водомоторной техники