вконтакте

Контактный телефон: +7 (981) 121-46-93, +7 (800) 200-90-76 , Email: parts-katalog@yandex.ru, где купить

 
 

  Логин:

Пароль:

Регистрация

www.partskatalog.ru Все каталоги Запчасти Mercury Запчасти Suzuki Запчасти Tohatsu Запчасти Honda Контакты


Выбрать другую модель

назад Раздел:   вперёд

вернуться к списку узлов и деталей

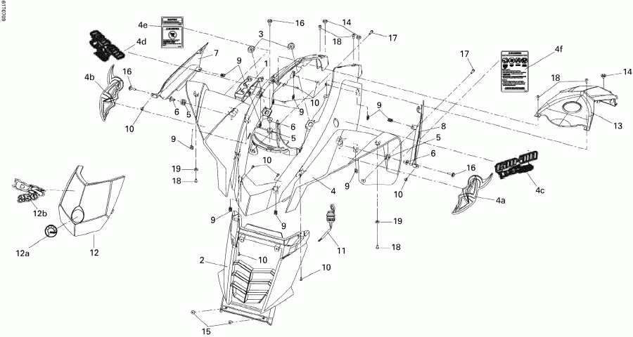
ДЕТАЛИРОВКА ДЛЯ МОДЕЛИ: BRP ATV DS 250, CE, 2007

Раздел: Front Fender | Front Fender


Квадроцикл  модификация DS 250, CE, 2007 - Front Fender

Номер на
рисунке
АртикулНаименованиеКол-во
на складе
Цена
1 S46220RCA000

Рычаг переключения Крышка (Shift Lever Cover)

под заказ460 руб.
2 S50611RCA000

Radiator Grill (Radiator Grill)

под заказ1230 руб.
3 S61105RCA000

Gromet (Gromet)

под заказ300 руб.
4 S6110GRCA700

Front Fender (Front Fender)

под заказ10230 руб.
4a S87134RCA000

LH Front Fender Наклейка (LH Front Fender Decal)

под заказ1070 руб.
4b S87135RCA000

RH Front Fender Наклейка (RH Front Fender Decal)

под заказ1230 руб.
4c S87136RCA700

LH Передняя наклейка "CAN-AM" (LH Front Decal "CAN-AM")

под заказ1230 руб.
4d S87137RCA700

RH Передняя наклейка "CAN-AM" (RH Front Decal "CAN-AM")

под заказ1230 руб.
4e S8750ARCA000

Warning Наклейки, Under 16 Years (Warning Label, Under 16 Years)

под заказ240 руб.
4f S87501RCA000

Warning Наклейки, Death и Injury (Warning Label, Death And Injury)

под заказ240 руб.
5 S80103X01000

Rubber Шайба (Rubber Washer)

под заказ300 руб.
6 S80104X01000

Fender Воротник (Fender Collar)

под заказ310 руб.
7 S83520RCA000

RH Side Pannel (RH Side Pannel)

под заказ980 руб.
8 S83620RCA000

LH Side Pannel (LH Side Pannel)

под заказпо запросу
9 S90302V02000

Зажим Гайка (Clip Nut)

под заказ300 руб.
10 S9390332280

Саморез M4 X 12 (Tapping Screw M4 X 12)

под заказ300 руб.
11 S38600RA1000

DC Power выход, 12 Volts (DC Power Outlet, 12 Volts)

под заказ2880 руб.
12 S64300RCA000

Radiator Крышка (Radiator Cover)

под заказпо запросу
12a S87500RCA000

Brp Logo (Brp Logo)

под заказ3380 руб.
12b S87130RCA000

Наклейка DS 250 (Decal DS 250)

под заказ1070 руб.
13 S43020RCA000

Топливный бак Крышка (Fuel Tank Cover)

под заказ1230 руб.
14 S934040601407

Шайба Болт (Washer Bolt)

под заказ300 руб.
15 S90164RCA000

Special Винт (Special Screw)

под заказ300 руб.
16 S934040602507

Шайба Болт (Washer Bolt)

под заказ300 руб.
17 S9390344380

Саморез (Tapping Screw)

под заказ300 руб.
18 S9390345380

TaШтифтg Винт M5 X 16 (Taping Screw M5 X 16)

под заказ150 руб.
19 S9411105800

Пружинная шайба 5 mm (Spring Washer 5 mm)

под заказ300 руб.
brp atv

Время выполнения запроса 0.74430298805237 сек.


 
 

данный сайт носит информационный характер и не является публичной офертой

склад запчастей для водомоторной техники