вконтакте

Контактный телефон: +7 (981) 121-46-93, +7 (800) 200-90-76 , Email: parts-katalog@yandex.ru, где купить

 
 

  Логин:

Пароль:

Регистрация

www.partskatalog.ru Все каталоги Запчасти Mercury Запчасти Suzuki Запчасти Tohatsu Запчасти Honda Контакты



УВАЖАЕМЫЕ КЛИЕНТЫ!
C 31 ОКТЯБРЯ 2025 ПО 10 НОЯБРЯ 2025 ГОДА РАБОТАТЬ НЕ БУДЕМ




Все разделы каталога запчастей на этот двигатель

назад Раздел:   вперёд

вернуться к списку узлов и деталей

ДЕТАЛИРОВКА ДЛЯ МОДЕЛИ: EVINRUDE E90SLABA

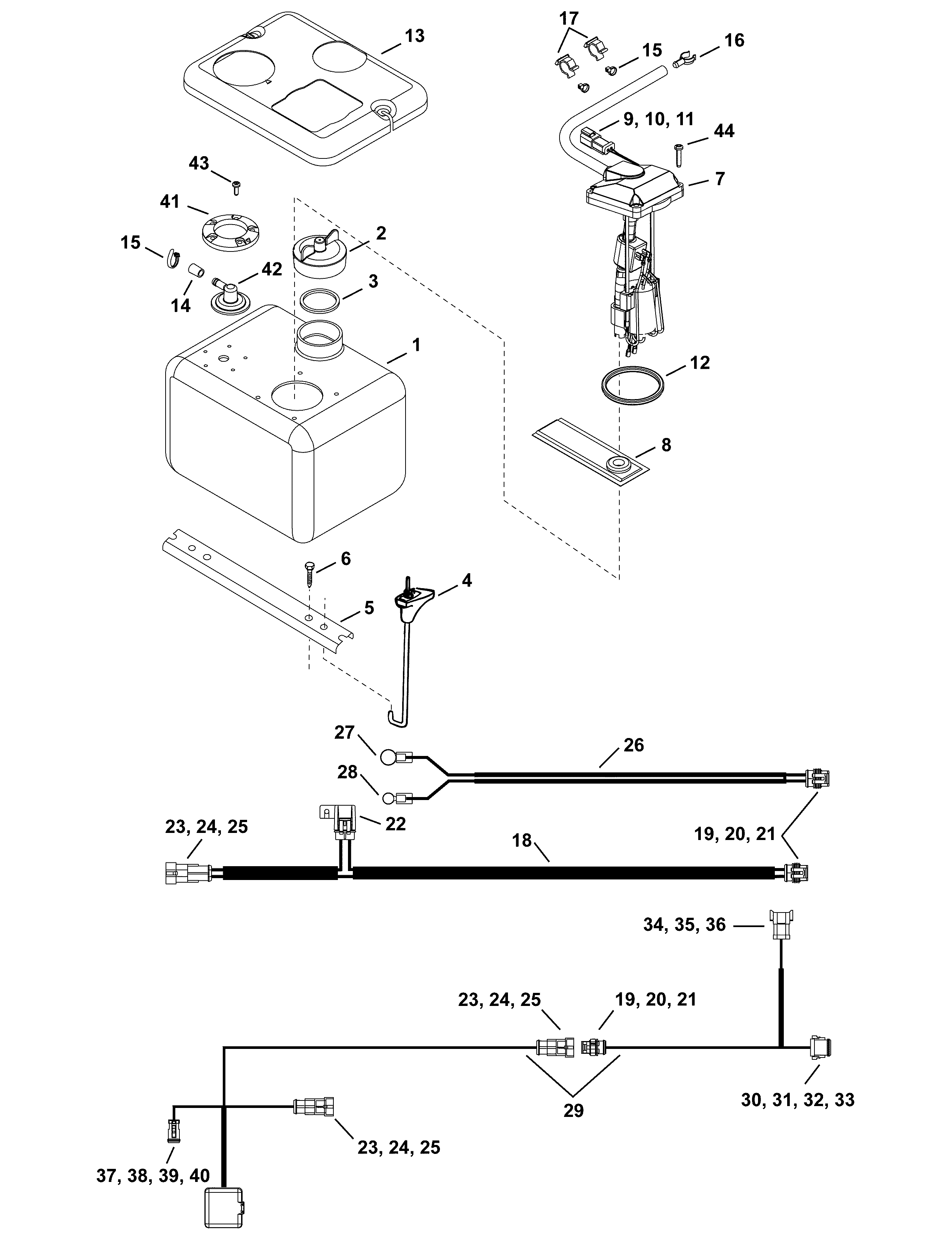
03-8 REMOTE МАСЛЯНЫЙ БАК | 03-8 REMOTE OIL TANK;


 Эвинруд E90SLABA  - remote Oil Tank / remote Масляный бак

Номер на
рисунке
АртикулНаименованиеКол-во
на складе
Цена
- 5009070

Масляный бак KIT- 1.8 галлон. стандарт with 90SL models.. Опции accessory для 90SNL models. (OIL TANK KIT- 1.8 Gallon. Standard with 90SL models.. Optional accessory for 90SNL models.)

нет в наличии, поставок нет
1 176712

*Масляный бак в сборе. (OIL TANK Assy.)

нет в наличии, поставок нет
2 176217

*Колпачок ASSEMBLY (CAP ASSEMBLY)

нет в наличии, поставок нет
3 123231

**Прокладка крышки (GASKET, Cap)

нет в наличии, поставок нет
4 175001

*Тяга ASSEMBLY, Крышка to Кронштейн (ROD ASSEMBLY, Cover to bracket)

нет в наличии, поставок нет
5 124292

*Кронштейн, Креплениеing (BRACKET, Mounting)

нет в наличии, поставок нет
6 124073

*LAG Винт (LAG SCREW)

нет в наличии, поставок нет
7 5009069

*OIL PICKвыше в сборе. (OIL PICKUP Assy.)

нет в наличии, поставок нет
8 174377

**Фильтр ASSEMBLY, Oil (FILTER ASSEMBLY, Oil)

нет в наличии, поставок нет
9 514696

**Коннектор, 2-Штифт (CONNECTOR, 2-pin)

нет в наличии, поставок нет
10 514697

**LOCK WEDGE (LOCK WEDGE)

нет в наличии, поставок нет
11 514679

**Клемма, Штифт (TERMINAL, Pin)

нет в наличии, поставок нет
12 126793

*Сальник (SEAL)

нет в наличии, поставок нет
13 127670

*Крышка (COVER)

нет в наличии, поставок нет
14 315391

*Заглушка (PLUG)

нет в наличии, поставок нет
15 317893

*Крепёжный хомут (TIE STRAP)

нет в наличии, поставок нет
16 329661

*Держатель, Заглушка (HOLDER, Plug)

нет в наличии, поставок нет
17 3011450

*Зажим (CLIP)

нет в наличии, поставок нет
18 587184

*Кабели, Accessory battery input (CABLE, Accessory battery input)

нет в наличии, поставок нет
19 3011153

**Коннектор & Сальник, 2 Pos. Заглушка (CONNECTOR & SEAL, 2 Pos. plug)

нет в наличии, поставок нет
20 3011149

***Сальник провода (SEAL, Wire)

нет в наличии, поставок нет
21 3011147

** CONTACT, Female Внешняя розетка ( CONTACT, Female receptacle)

нет в наличии, поставок нет
22 967545

**Предохранитель, ATC / ATO 10A (FUSE, ATC/ATO 10A)

нет в наличии, поставок нет
23 3011154

**Коннектор & Сальник, 2 Pos. Колпачок (CONNECTOR & SEAL, 2 Pos. cap)

нет в наличии, поставок нет
24 3011149

***Сальник провода (SEAL, Wire)

нет в наличии, поставок нет
25 3011148

**Контакт ПАПА (CONTACT, Male tab)

нет в наличии, поставок нет
26 587193

*Кабели, Accessory battery (CABLE, Accessory battery)

нет в наличии, поставок нет
27 502549

**Клемма, Кольцо 3 / 8 дюйм (9.5 мм) (TERMINAL, Ring 3/8 in. (9.5 mm))

нет в наличии, поставок нет
28 502547

**Клемма, Кольцо 5 / 16 дюйм (8.0 мм) (TERMINAL, Ring 5/16 in. (8.0 mm))

нет в наличии, поставок нет
29 587258

*Жгут проводов, Remote Масляный бак (HARNESS, Remote Oil Tank)

нет в наличии, поставок нет
30 3011030

**Коннектор, 8-socket (CONNECTOR, 8-socket)

нет в наличии, поставок нет
31 514680

**Клемма, Socket (TERMINAL, Socket)

нет в наличии, поставок нет
32 3011031

**LOCK WEDGE, 8-socket (LOCK WEDGE, 8-socket)

нет в наличии, поставок нет
33 3011033

**Сальник, 8-socket (SEAL, 8-socket)

нет в наличии, поставок нет
34 176299

**Коннектор, 8-Штифт (CONNECTOR, 8-pin)

нет в наличии, поставок нет
35 514679

**Клемма, Штифт (TERMINAL, Pin)

нет в наличии, поставок нет
36 127292

**LOCK WEDGE, 8-Штифт (LOCK WEDGE, 8-pin)

нет в наличии, поставок нет
37 176295

*Коннектор, 2-socket (CONNECTOR, 2-socket)

нет в наличии, поставок нет
38 514680

**Клемма, Socket (TERMINAL, Socket)

нет в наличии, поставок нет
39 514788

**Сальник, Коннектор (SEAL, Connector)

нет в наличии, поставок нет
40 127287

**LOCK WEDGE, 2-socket (LOCK WEDGE, 2-socket)

нет в наличии, поставок нет
41 127669

*Фиксатор (RETAINER)

нет в наличии, поставок нет
42 127666

*FITTING, Шланг (FITTING, Hose)

нет в наличии, поставок нет
43 125529

*Винт (SCREW)

нет в наличии, поставок нет
44 124485

*Винт (SCREW)

нет в наличии, поставок нет
evinrude

Время выполнения запроса 2.2259330749512 сек.


 
 

данный сайт носит информационный характер и не является публичной офертой

склад запчастей для водомоторной техники