вконтакте

Контактный телефон: +7 (981) 121-46-93, +7 (800) 200-90-76 , Email: parts-katalog@yandex.ru, где купить

 
 

  Логин:

Пароль:

Регистрация

www.partskatalog.ru Все каталоги Запчасти Mercury Запчасти Suzuki Запчасти Tohatsu Запчасти Honda Контакты



УВАЖАЕМЫЕ КЛИЕНТЫ!
C 19 ДЕКАБРЯ 2025 ПО 02 МАРТА 2026 ГОДА ОТДЕЛ ЗАПЧАСТЕЙ И СЕРВИС РАБОТАТЬ НЕ БУДУТ
ПРОДАЖА ЛОДОЧНЫХ МОТОРОВ В ШТАТНОМ РЕЖИМЕ
ОБ ИЗМЕНЕНИЯХ В ГРАФИКЕ РАБОТЫ ЧИТАЙТЕ НА САЙТА




Все разделы каталога запчастей на этот двигатель

назад Раздел:  

вернуться к списку узлов и деталей

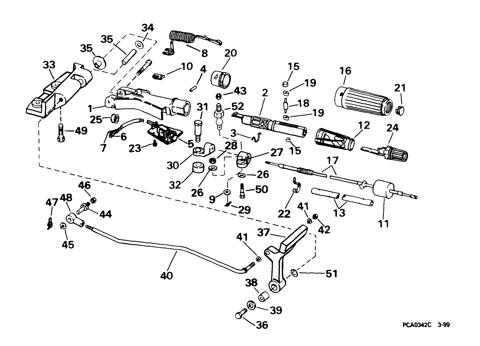
ДЕТАЛИРОВКА ДЛЯ МОДЕЛИ: EVINRUDE BE30BAEEN 1999

РУЛЕВАЯ СИСТЕМА & ПЕРЕКЛЮЧАТЕЛЬ HANDLE | STEERING & SHIFT HANDLE;


Подвесной мотор EVINRUDE BE30BAEEN 1999  - eering & Shift Handle - eeКольцо & Переключатель Handle

Номер на
рисунке
АртикулНаименованиеКол-во
на складе
Цена
1 0434094

Румпель в сборе. (STEERING HANDLE ASSY.)

нет в наличии, поставок нет
1 0433406

   (последний код) HANDLE AY,STEERING

нет в наличии, поставок нет
2 0397001

HANDLE & Фиксатор (HANDLE & RETAINER)

нет в наличии, поставок нет
3 0332089

Фиксатор Зажим (RETAINER CLIP)

нет в наличии, поставок нет
4 0334960

SPIRAL Штифт (SPIRAL PIN)

нет в наличии, поставок нет
4 0330841

   (последний код) SPIRAL PIN

нет в наличии, поставок нет
5 0585133

IDLE STOP Переключатель KIT в сборе. (IDLE STOP SWITCH KIT ASSY.)

нет в наличии, поставок нет
5 0584829

   (последний код) SWITCH AY,STOP/CUTOFF

нет в наличии, поставок нет
6 0510818

Клемма, Кольцо (TERMINAL, Ring)

нет в наличии, поставок нет
6 3854243

   (последний код) TERMINAL,RIN

нет в наличии, поставок нет
7 0581656

Клемма, Socket (TERMINAL, Socket)

нет в наличии, поставок нет
7 3852257

   (последний код) TERMINAL AY,SCKT

нет в наличии, поставок нет
8 0398602

Зажим & LANYARD в сборе. (CLIP & LANYARD ASSY.)

нет в наличии, поставок нет
9 0303715

Шайба, Шаровое соединение. "N" Suffix Models (WASHER, Ball joint. "N" Suffix Models .)

нет в наличии, поставок нет
10 0333499

Зажим, Restart (CLIP, Restart)

нет в наличии, поставок нет
11 0329063

Сальник, Румпель (SEAL, Steering handle)

нет в наличии, поставок нет
12 0339722

HELIX, Twist Рукоятка (HELIX, Twist grip)

нет в наличии, поставок нет
13 0336460

Гильза, Тросик дросселя (SLEEVE, Throttle cable)

нет в наличии, поставок нет
13 0331459

   (последний код) SPIRAL-WRAP

нет в наличии, поставок нет
14 0324602

Винт, Кронштейн (SCREW, Bracket)

нет в наличии, поставок нет
15 0329881

Ролик, Helix to Кабели (ROLLER, Helix to cable)

нет в наличии, поставок нет
16 0436216

TWIST Рукоятка & Гильза (TWIST GRIP & SLEEVE)

нет в наличии, поставок нет
17 0398243

Тросик дросселя в сборе.. "B", "M", & "C" Suffix Models (THROTTLE CABLE ASSY.. "B", "M", & "C" Suffix Models .)

нет в наличии, поставок нет
17 0433159

   (последний код) CABLE AY,THROTTLE

нет в наличии, поставок нет
17 5000581

Тросик дросселя в сборе.. "N" Suffix Models (THROTTLE CABLE ASSY.. "N" Suffix Models .)

нет в наличии, поставок нет
17 0396161

   (последний код) CABLE AY,THROTTLE

нет в наличии, поставок нет
18 0329880

Штифт, Направляющая to Роликs (PIN, Guide to rollers)

нет в наличии, поставок нет
19 0329879

Направляющая (GUIDE)

нет в наличии, поставок нет
20 0327944

Пластина, Управление дросселем (PLATE, Throttle control)

нет в наличии, поставок нет
20 0324771

   (последний код) PLATE

нет в наличии, поставок нет
21 0336347

Заглушка, Idle adjustment (PLUG, Idle adjustment)

нет в наличии, поставок нет
22 0320107

Крепёжный хомут, Тросик дросселя Трубопровод (TIE STRAP, Throttle cable tubing)

нет в наличии, поставок нет
22 5035626

   (последний код) BAND,REM CON

нет в наличии, поставок нет
23 0336481

Винт, Переключатель to handle (SCREW, Switch to handle)

нет в наличии, поставок нет
24 0584302

IDLE ADJUSTMENT в сборе. (IDLE ADJUSTMENT ASSY.)

нет в наличии, поставок нет
25 0316132

Пыльник кабеля. "B", "M", & "C" Suffix Models (GROMMET, Cable. "B", "M", & "C" Suffix Models .)

нет в наличии, поставок нет
26 0306439

Шайба, Винт, Коннектор. "B", "M", & "C" Suffix Models (WASHER, Screw, connector. "B", "M", & "C" Suffix Models .)

нет в наличии, поставок нет
26 0200158

   (последний код) WASHER

нет в наличии, поставок нет
27 0324685

Коннектор, Тросик дросселя. "B", "M", & "C" Suffix Models (CONNECTOR, Throttle cable. "B", "M", & "C" Suffix Models .)

нет в наличии, поставок нет
27 0345851

Коннектор, Тросик дросселя. "N" Suffix Models (CONNECTOR, Throttle cable. "N" Suffix Models .)

нет в наличии, поставок нет
28 0328064

Гайка. "B", "M", & "C" Suffix Models (NUT. "B", "M", & "C" Suffix Models .)

нет в наличии, поставок нет
28 0554477

   (последний код) NUT

нет в наличии, поставок нет
29 0333774

Зажим, Шарик & shell. "N" Suffix Models (CLIP, Ball & shell. "N" Suffix Models .)

нет в наличии, поставок нет
30 0325715

Коннектор, Тросик дросселя. "B", "M", & "C" Suffix Models (CONNECTOR, Throttle cable. "B", "M", & "C" Suffix Models .)

нет в наличии, поставок нет
30 0332947

Коннектор, Тросик дросселя. "N" Suffix Models (CONNECTOR, Throttle cable. "N" Suffix Models .)

нет в наличии, поставок нет
30 0396037

   (последний код) BALL-JOINT-ASSY

нет в наличии, поставок нет
31 0335329

Винт, Коннектор, Тросик дросселя. "B", "M", & "C" Suffix Models (SCREW, Connector, throttle cable. "B", "M", & "C" Suffix Models .)

нет в наличии, поставок нет
31 0329332

Винт, Коннектор. "N" Suffix Models (SCREW, Connector. "N" Suffix Models .)

нет в наличии, поставок нет
32 0335328

Проставка, Коннектор. "B", "M", & "C" Suffix Models (SPACER, Connector. "B", "M", & "C" Suffix Models .)

нет в наличии, поставок нет
33 0335380

Кронштейн, Переключатель & Рулевая система. "B", "M", & "C" Suffix Models (BRACKET, Shift & steering. "B", "M", & "C" Suffix Models .)

нет в наличии, поставок нет
33 5000759

   (последний код) BRKT AY,STRG&SHIFT

нет в наличии, поставок нет
33 5000579

Кронштейн, Переключатель & Рулевая система. "N" Suffix Models (BRACKET, Shift & steering. "N" Suffix Models .)

нет в наличии, поставок нет
33 5000504

   (последний код) COVER AY,MOTOR-UPR

нет в наличии, поставок нет
34 0304376

Шайба, Handle to Кронштейн. "N" Suffix Models (WASHER, Handle to bracket. "N" Suffix Models .)

нет в наличии, поставок нет
35 0338872

Гильза, Handle to Кронштейн. "N" Suffix Models (SLEEVE, Handle to bracket. "N" Suffix Models .)

нет в наличии, поставок нет
35 0335426

Втулка, Handle to Кронштейн. "B", "M", & "C" Suffix Models (BUSHING, Handle to bracket. "B", "M", & "C" Suffix Models .)

нет в наличии, поставок нет
35 0324594

   (последний код) BUSHING-STR

нет в наличии, поставок нет
36 0316109

Винт, Рычаг to Кронштейн (SCREW, Lever to bracket)

нет в наличии, поставок нет
37 0335282

Рычаг переключения (SHIFT LEVER)

нет в наличии, поставок нет
37 0437502

Рычаг переключения, Aluminum. Опции (SHIFT LEVER, Aluminum. Optional .)

нет в наличии, поставок нет
38 0335605

Втулка (BUSHING)

нет в наличии, поставок нет
39 0309543

Шайба, Рычаг to Кронштейн (WASHER, Lever to bracket)

нет в наличии, поставок нет
40 0335283

Переключающая тяга (SHIFT ROD)

нет в наличии, поставок нет
41 0329241

Шайба, Переключающая тяга to T-handle (WASHER, Shift rod to T-handle)

нет в наличии, поставок нет
41 3852193

   (последний код) WASHER

нет в наличии, поставок нет
42 0313022

LOCKГайка, Переключающая тяга to Рычаг (LOCKNUT, Shift rod to lever)

нет в наличии, поставок нет
42 3852118

   (последний код) NUT,LOCK

нет в наличии, поставок нет
43 0309485

Гайка, Шаровое соединение. "N" Suffix Models (NUT, Ball joint. "N" Suffix Models .)

нет в наличии, поставок нет
43 0132520

   (последний код) NUT

нет в наличии, поставок нет
44 0339272

Штифт коннектора (PIN, Connector)

нет в наличии, поставок нет
45 0124627

Шайба (WASHER)

нет в наличии, поставок нет
46 0309485

Гайка (NUT)

нет в наличии, поставок нет
46 0132520

   (последний код) NUT

нет в наличии, поставок нет
47 0333774

Зажим, Переключающая тяга (CLIP, Shift rod)

нет в наличии, поставок нет
48 0339271

Коннектор, Тяга to Пускатель (CONNECTOR, Rod to actuator)

нет в наличии, поставок нет
49 0328333

Винт, Кронштейн to Рулевая система Рычаг (SCREW, Bracket to steering arm)

нет в наличии, поставок нет
50 0344597

Винт, Коннектор. "B", "M", & "C" Suffix Models (SCREW, Connector. "B", "M", & "C" Suffix Models .)

нет в наличии, поставок нет
50 0335327

   (последний код) SCREW,PIVOT

нет в наличии, поставок нет
51 0330234

Пружинная шайба, Рычаг переключения to brkt. (SPRING WASHER, Shift lever to brkt.)

нет в наличии, поставок нет
52 0335683

Шаровое соединение. "N" Suffix Models (BALL JOINT. "N" Suffix Models .)

нет в наличии, поставок нет
evinrude

Время выполнения запроса 1.6210768222809 сек.


 
 

данный сайт носит информационный характер и не является публичной офертой

склад запчастей для водомоторной техники