вконтакте

Контактный телефон: +7 (981) 121-46-93, +7 (800) 200-90-76 , Email: parts-katalog@yandex.ru, где купить

 
 

  Логин:

Пароль:

Регистрация

www.partskatalog.ru Все каталоги Запчасти Mercury Запчасти Suzuki Запчасти Tohatsu Запчасти Honda Контакты



УВАЖАЕМЫЕ КЛИЕНТЫ!
C 19 ДЕКАБРЯ 2025 ПО 02 МАРТА 2026 ГОДА ОТДЕЛ ЗАПЧАСТЕЙ И СЕРВИС РАБОТАТЬ НЕ БУДУТ
ПРОДАЖА ЛОДОЧНЫХ МОТОРОВ В ШТАТНОМ РЕЖИМЕ
ОБ ИЗМЕНЕНИЯХ В ГРАФИКЕ РАБОТЫ ЧИТАЙТЕ НА САЙТА




Все разделы каталога запчастей на этот двигатель

Раздел:   вперёд

вернуться к списку узлов и деталей

ДЕТАЛИРОВКА ДЛЯ МОДЕЛИ: EVINRUDE E25WRLEEN 1999

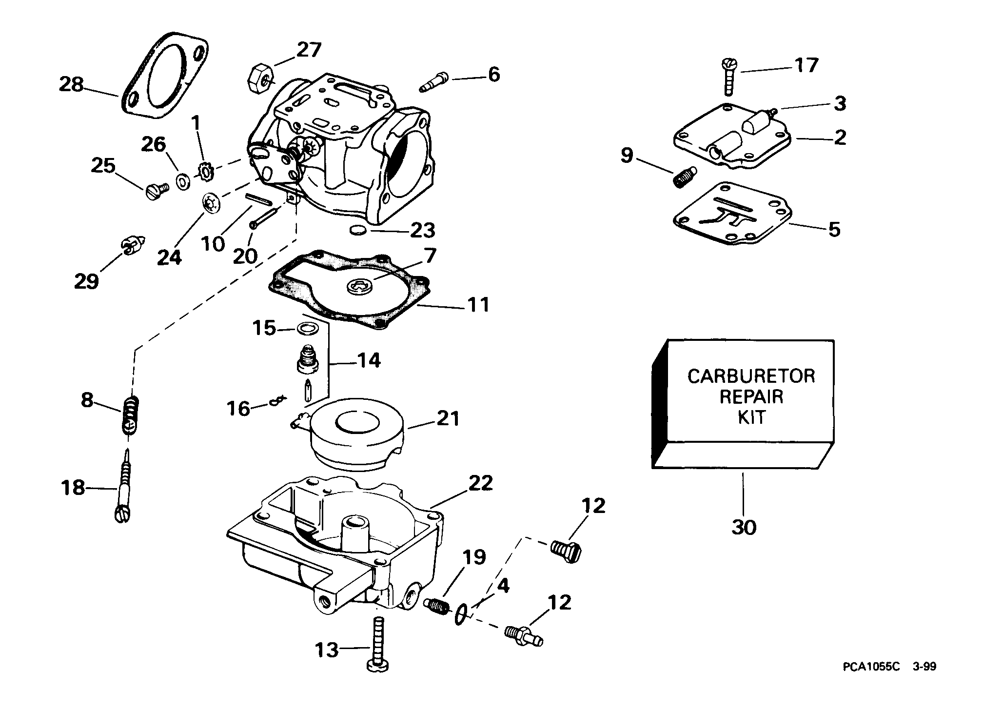
КАРБЮРАТОР | CARBURETOR;


Двигатель Evinrude E25WRLEEN 1999  - rburetor / rburetor

Номер на
рисунке
АртикулНаименованиеКол-во
на складе
Цена
0439380 0439380

Карбюратор в сборе.. Not Shown "S" Suffix Models (CARBURETOR ASSY.. Not Shown . "S" Suffix Models .)

нет в наличии, поставок нет
0439380 0437306

   (последний код) CARBURETOR AY

нет в наличии, поставок нет
0439377 0439377

Карбюратор в сборе.. Not Shown "N" Suffix Models (CARBURETOR ASSY.. Not Shown . "N" Suffix Models .)

нет в наличии, поставок нет
0439377 0435376

   (последний код) CARBURETOR AY

нет в наличии, поставок нет
1 0303701

Шайба с блокировкой, Рычаг (LOCK WASHER, Lever)

нет в наличии, поставок нет
2 0436951

Крышка, Карбюратор (COVER, Carburetor)

нет в наличии, поставок нет
2 0340167

   (последний код) COVER,CARBURETOR

нет в наличии, поставок нет
3 0327706

FITTING, Primer (FITTING, Primer)

нет в наличии, поставок нет
4 0334746

Уплотнительное кольцо. Also Available in Ремкомплект карбюратора (O-RING. Also Available in Carburetor Repair Kit .)

нет в наличии, поставок нет
5 0337808

Прокладка крышки. Also Available in Ремкомплект карбюратора (GASKET, Cover. Also Available in Carburetor Repair Kit .)

нет в наличии, поставок нет
6 0314513

Ниппель, Fuel (NIPPLE, Fuel)

нет в наличии, поставок нет
7 0343512

Прокладка, Nozzle. Also Available in Ремкомплект карбюратора (GASKET, Nozzle. Also Available in Carburetor Repair Kit .)

нет в наличии, поставок нет
7 0338881

   (последний код) GASKET

нет в наличии, поставок нет
8 0340768

Пружина, Игольчатый клапан (SPRING, Needle valve)

нет в наличии, поставок нет
9 0320921

ORIFICE, Intermediate № 55D. "S" Suffix Models (ORIFICE, Intermediate No. 55D. "S" Suffix Models .)

нет в наличии, поставок нет
9 0322907

ORIFICE, Intermediate № 57D. "N" Suffix Models (ORIFICE, Intermediate No. 57D. "N" Suffix Models .)

нет в наличии, поставок нет
9 0205880

   (последний код) PLUG

нет в наличии, поставок нет
10 0314575

ROLL Штифт (ROLL PIN)

нет в наличии, поставок нет
11 0338880

Прокладка, Поплавок bowl. Also Available in Ремкомплект карбюратора (GASKET, Float bowl. Also Available in Carburetor Repair Kit .)

нет в наличии, поставок нет
11 0332696

   (последний код) GASKET,-DLR

нет в наличии, поставок нет
12 0344275

Ниппель, Поплавок bowl. "S" Suffix Models (NIPPLE, Float bowl. "S" Suffix Models .)

нет в наличии, поставок нет
12 0344126

Заглушка, Поплавок bowl. "N" Suffix Models (PLUG, Float bowl. "N" Suffix Models .)

нет в наличии, поставок нет
13 0333430

Винт, Поплавок bowl (SCREW, Float bowl)

нет в наличии, поставок нет
14 0396522

Клапан поплавка & Седло в сборе.. Also Available in Ремкомплект карбюратора (FLOAT VALVE & SEAT ASSY.. Also Available in Carburetor Repair Kit .)

нет в наличии, поставок нет
14 0382889

   (последний код) FLOAT-VALVE

нет в наличии, поставок нет
15 0301996

Шайба, Клапан поплавка. Also Available in Ремкомплект карбюратора (WASHER, Float valve. Also Available in Carburetor Repair Kit .)

1 шт140 руб.
16 0336842

Пружина Зажим. Also Available in Ремкомплект карбюратора (SPRING CLIP. Also Available in Carburetor Repair Kit .)

нет в наличии, поставок нет
16 0603145

   (последний код) CLIP

нет в наличии, поставок нет
17 0908045

Винт, Крышка (SCREW, Cover)

нет в наличии, поставок нет
18 0339170

Игольчатый клапан, Slow speed (NEEDLE VALVE, Slow speed)

нет в наличии, поставок нет
19 0319831

ORIFICE Заглушка, № 59D. "S" Suffix Models (ORIFICE PLUG, No. 59D. "S" Suffix Models .)

нет в наличии, поставок нет
19 0319534

ORIFICE, High speed, № 67D. "N" Suffix Models (ORIFICE, High speed, No. 67D. "N" Suffix Models .)

нет в наличии, поставок нет
19 0309935

   (последний код) PLUG

нет в наличии, поставок нет
20 0302661

Стопор поплавка hinge. Also Available in Ремкомплект карбюратора (PIN, Float hinge. Also Available in Carburetor Repair Kit .)

нет в наличии, поставок нет
21 0382363

Поплавок в сборе.. Also Available in Ремкомплект карбюратора (FLOAT ASSY.. Also Available in Carburetor Repair Kit .)

нет в наличии, поставок нет
22 0439368

Поплавковая камера в сборе. (FLOAT CHAMBER ASSY.)

нет в наличии, поставок нет
23 0307542

CORE Заглушка. Also Available in Ремкомплект карбюратора (CORE PLUG. Also Available in Carburetor Repair Kit .)

нет в наличии, поставок нет
24 0313973

PUSHГайка. Also Available in Ремкомплект карбюратора (PUSHNUT. Also Available in Carburetor Repair Kit .)

нет в наличии, поставок нет
25 0324064

Винт дросселя adjustment (SCREW, Throttle adjustment)

нет в наличии, поставок нет
26 0328735

Шайба, Винт (WASHER, Screw)

нет в наличии, поставок нет
26 3852188

   (последний код) WASHER

нет в наличии, поставок нет
27 0316355

Гайка, Карбюратор Креплениеing (NUT, Carburetor mounting)

нет в наличии, поставок нет
27 3852142

   (последний код) NUT

нет в наличии, поставок нет
28 0325092

Прокладка карбюратора Креплениеing. Also Available in Ремкомплект карбюратора (GASKET, Carburetor mounting. Also Available in Carburetor Repair Kit .)

нет в наличии, поставок нет
28 0314477

   (последний код) GASKET

нет в наличии, поставок нет
29 0313329

Фиксатор, Соединитель to Карбюратор (RETAINER, Link to carburetor)

нет в наличии, поставок нет
30 0396701

Ремкомплект карбюратора (CARBURETOR REPAIR KIT)

нет в наличии, поставок нет
30 0398729

   (последний код) KIT AY,CARB REPAIR

нет в наличии, поставок нет
evinrude

Время выполнения запроса 1.8782260417938 сек.


 
 

данный сайт носит информационный характер и не является публичной офертой

склад запчастей для водомоторной техники