вконтакте

Контактный телефон: +7 (981) 121-46-93, +7 (800) 200-90-76 , Email: parts-katalog@yandex.ru, где купить

 
 

  Логин:

Пароль:

Регистрация

www.partskatalog.ru Все каталоги Запчасти Mercury Запчасти Suzuki Запчасти Tohatsu Запчасти Honda Контакты


Все разделы каталога запчастей на этот двигатель

Раздел:   вперёд

вернуться к списку узлов и деталей

ДЕТАЛИРОВКА ДЛЯ МОДЕЛИ: EVINRUDE SE65RSLD 1998

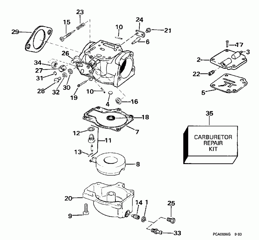
КАРБЮРАТОР | CARBURETOR;


Лодочный подвесной мотор Эвинруд SE65RSLD 1998  - rburetor - rburetor

Номер на
рисунке
АртикулНаименованиеКол-во
на складе
Цена
0437310 0437310

Карбюратор в сборе. Not Shown (CARBURETOR ASSEMBLY. Not Shown)

нет в наличии, поставок нет
0437310 0439457

   (последний код) CARBURETOR AY

нет в наличии, поставок нет
1 0303630

Шайба (WASHER)

нет в наличии, поставок нет
2 0436951

Крышка, Карбюратор (COVER, Carburetor)

нет в наличии, поставок нет
2 0340167

   (последний код) COVER,CARBURETOR

нет в наличии, поставок нет
3 0327706

Ниппель (NIPPLE)

нет в наличии, поставок нет
4 0307542

CORE Заглушка (CORE PLUG)

нет в наличии, поставок нет
5 0337808

Прокладка крышки (GASKET, Cover)

нет в наличии, поставок нет
6 0314513

Ниппель, Fuel (NIPPLE, Fuel)

нет в наличии, поставок нет
7 0338880

Прокладка, Поплавок bowl (GASKET, Float bowl)

нет в наличии, поставок нет
7 0332696

   (последний код) GASKET,-DLR

нет в наличии, поставок нет
8 0382363

Поплавок ASSEMBLY (FLOAT ASSEMBLY)

нет в наличии, поставок нет
9 0333430

Винт, Поплавок bowl (SCREW, Float bowl)

нет в наличии, поставок нет
10 0314575

ROLL Штифт (ROLL PIN)

нет в наличии, поставок нет
11 0396522

Клапан поплавка & Седло в сборе. (FLOAT VALVE & SEAT ASSY.)

нет в наличии, поставок нет
11 0382889

   (последний код) FLOAT-VALVE

нет в наличии, поставок нет
12 0301996

Шайба, Клапан поплавка (WASHER, Float valve)

1 шт140 руб.
13 0336842

Пружина Зажим (SPRING CLIP)

нет в наличии, поставок нет
13 0603145

   (последний код) CLIP

нет в наличии, поставок нет
14 0321108

ORIFICE Заглушка, 52D (ORIFICE PLUG, 52D)

нет в наличии, поставок нет
15 0339170

Игольчатый клапан, Slow speed (NEEDLE VALVE, Slow speed)

нет в наличии, поставок нет
16 0313973

Гайка, Push (NUT, Push)

нет в наличии, поставок нет
17 0908045

Винт, Крышка (SCREW, Cover)

нет в наличии, поставок нет
18 0343512

Прокладка, Nozzle (GASKET, Nozzle)

нет в наличии, поставок нет
18 0338881

   (последний код) GASKET

нет в наличии, поставок нет
19 0302661

Стопор поплавка hinge (PIN, Float hinge)

нет в наличии, поставок нет
20 0330195

Поплавковая камера в сборе. (FLOAT CHAMBER ASSY.)

нет в наличии, поставок нет
20 0344271

   (последний код) CHAMBER,FLOAT

нет в наличии, поставок нет
21 0329859

Винт, Зажим (SCREW, Clip)

нет в наличии, поставок нет
21 3852197

   (последний код) SCREW

нет в наличии, поставок нет
22 0332204

ORIFICE, № 60D (ORIFICE, No. 60D)

нет в наличии, поставок нет
23 0340768

Пружина, Игольчатый клапан (SPRING, Needle valve)

нет в наличии, поставок нет
24 0329860

Зажим, Вал дросселя (CLIP, Throttle shaft)

нет в наличии, поставок нет
25 0330057

Сливной винт, верхний & middle (SCREW PLUG, Upper & middle)

нет в наличии, поставок нет
26 0432638

Рычаг & Штифт (LEVER & PIN)

нет в наличии, поставок нет
27 0432639

Ролик колпачка folнижний (ROLLER, Cam follower)

нет в наличии, поставок нет
28 0306014

Винт, Cam folнижний (SCREW, Cam follower)

нет в наличии, поставок нет
29 0325092

Прокладка карбюратора Креплениеing (GASKET, Carburetor mounting)

нет в наличии, поставок нет
29 0314477

   (последний код) GASKET

нет в наличии, поставок нет
30 0303701

Шайба с блокировкой, Cam folнижний (LOCK WASHER, Cam follower)

нет в наличии, поставок нет
31 0324678

Уплотнительное кольцо, Ролик (O-RING, Roller)

нет в наличии, поставок нет
32 0328735

Шайба, Винт (WASHER, Screw)

нет в наличии, поставок нет
32 3852188

   (последний код) WASHER

нет в наличии, поставок нет
33 0326467

Нижний фиттинг Карбюратор (FITTING, Lower carburetor)

нет в наличии, поставок нет
33 0335235

   (последний код) NIPPLE

нет в наличии, поставок нет
34 0316355

Гайка, Карбюратор Креплениеing (NUT, Carburetor mounting)

нет в наличии, поставок нет
34 3852142

   (последний код) NUT

нет в наличии, поставок нет
35 0396701

Ремкомплект карбюратора (CARBURETOR REPAIR KIT)

нет в наличии, поставок нет
35 0398729

   (последний код) KIT AY,CARB REPAIR

нет в наличии, поставок нет
evinrude

Время выполнения запроса 1.0825271606445 сек.


 
 

данный сайт носит информационный характер и не является публичной офертой

склад запчастей для водомоторной техники