Номер на   рисунке | Артикул | Наименование | Кол-во   на складе | Цена | 
|  0439459  | 0439459 | Карбюратор в сборе. Not Shown 50 Models (CARBURETOR ASSEMBLY. Not Shown 50 Models)  | нет в наличии, поставок нет | 
|  0439459  | 0437633 |    (последний код) CARBURETOR AY                                                                     | нет в наличии, поставок нет | 
|  0439453  | 0439453 | Карбюратор в сборе. Not Shown 60 Models (CARBURETOR ASSEMBLY. Not Shown 60 Models)  | нет в наличии, поставок нет | 
|  0439453  | 0437089 |    (последний код) CARBURETOR AY                                                                     | нет в наличии, поставок нет | 
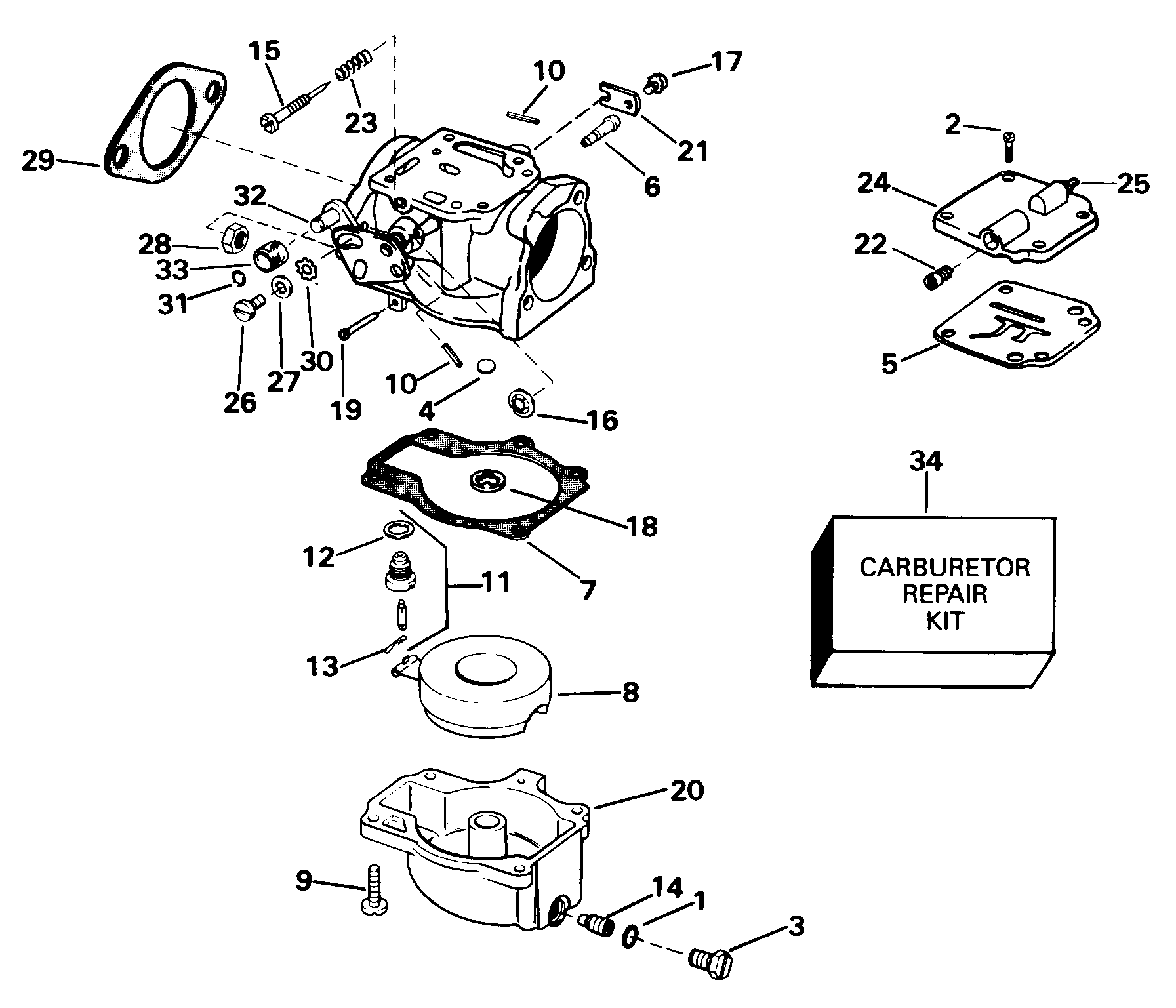
|  1  | 0334746 | Уплотнительное кольцо (O-RING)  | нет в наличии, поставок нет | 
|  2  | 0908045 | Винт, Крышка (SCREW, Cover)  | нет в наличии, поставок нет | 
|  3  | 0344126 | Сливной винт (SCREW PLUG)  | нет в наличии, поставок нет | 
|  4  | 0307542 | CORE Заглушка (CORE PLUG)  | нет в наличии, поставок нет | 
|  5  | 0337808 | Прокладка крышки (GASKET, Cover)  | нет в наличии, поставок нет | 
|  6  | 0314513 | Ниппель, Fuel (NIPPLE, Fuel)  | нет в наличии, поставок нет | 
|  7  | 0338880 | Прокладка, Поплавок bowl (GASKET, Float bowl)  | нет в наличии, поставок нет | 
|  7  | 0332696 |    (последний код) GASKET,-DLR                                                                       | нет в наличии, поставок нет | 
|  8  | 0382363 | Поплавок ASSEMBLY (FLOAT ASSEMBLY)  | нет в наличии, поставок нет | 
|  9  | 0333430 | Винт, Поплавок bowl (SCREW, Float bowl)  | нет в наличии, поставок нет | 
|  10  | 0314575 | ROLL Штифт (ROLL PIN)  | нет в наличии, поставок нет | 
|  11  | 0396522 | Клапан поплавка & Седло в сборе. (FLOAT VALVE & SEAT ASSY.)  | нет в наличии, поставок нет | 
|  11  | 0382889 |    (последний код) FLOAT-VALVE                                                                       | нет в наличии, поставок нет | 
|  12  | 0301996 | Шайба, Клапан поплавка (WASHER, Float valve)  | 1 шт | 140 руб. | 
|  13  | 0336842 | Пружина Зажим (SPRING CLIP)  | нет в наличии, поставок нет | 
|  13  | 0603145 |    (последний код) CLIP                                                                              | нет в наличии, поставок нет | 
|  14  | 0333182 | ORIFICE, № 41D. 50 Models (ORIFICE, No. 41D. 50 Models)  | нет в наличии, поставок нет | 
|  14  | 0323280 | ORIFICE, № 45D. 60 Models (ORIFICE, No. 45D. 60 Models)  | нет в наличии, поставок нет | 
|  15  | 0339170 | Игольчатый клапан, Slow speed (NEEDLE VALVE, Slow speed)  | нет в наличии, поставок нет | 
|  16  | 0313973 | Гайка, Push (NUT, Push)  | нет в наличии, поставок нет | 
|  17  | 0329859 | Винт, Зажим (SCREW, Clip)  | нет в наличии, поставок нет | 
|  17  | 3852197 |    (последний код) SCREW                                                                             | нет в наличии, поставок нет | 
|  18  | 0343512 | Прокладка, Nozzle (GASKET, Nozzle)  | нет в наличии, поставок нет | 
|  18  | 0338881 |    (последний код) GASKET                                                                            | нет в наличии, поставок нет | 
|  19  | 0302661 | Стопор поплавка hinge (PIN, Float hinge)  | нет в наличии, поставок нет | 
|  20  | 0344271 | Поплавковая камера в сборе. (FLOAT CHAMBER ASSY.)  | нет в наличии, поставок нет | 
|  20  | 0330195 |    (последний код) FLOAT CHAMBER                                                                     | нет в наличии, поставок нет | 
|  21  | 0329860 | Зажим, Вал дросселя (CLIP, Throttle shaft)  | нет в наличии, поставок нет | 
|  22  | 0328524 | ORIFICE, № 40D. 50 Models (ORIFICE, No. 40D. 50 Models)  | нет в наличии, поставок нет | 
|  22  | 0333183 | ORIFICE, № 35D. 60 Models (ORIFICE, No. 35D. 60 Models)  | нет в наличии, поставок нет | 
|  23  | 0340768 | Пружина, Игольчатый клапан (SPRING, Needle valve)  | нет в наличии, поставок нет | 
|  24  | 0436951 | Крышка, Карбюратор (COVER, Carburetor)  | нет в наличии, поставок нет | 
|  24  | 0340167 |    (последний код) COVER,CARBURETOR                                                                  | нет в наличии, поставок нет | 
|  25  | 0327706 | FITTING (FITTING)  | нет в наличии, поставок нет | 
|  26  | 0306014 | Винт, Cam folнижний (SCREW, Cam follower)  | нет в наличии, поставок нет | 
|  27  | 0328735 | Шайба, Винт (WASHER, Screw)  | нет в наличии, поставок нет | 
|  27  | 3852188 |    (последний код) WASHER                                                                            | нет в наличии, поставок нет | 
|  28  | 0316355 | Гайка, Карбюратор Креплениеing (NUT, Carburetor mounting)  | нет в наличии, поставок нет | 
|  28  | 3852142 |    (последний код) NUT                                                                               | нет в наличии, поставок нет | 
|  29  | 0325092 | Прокладка карбюратора Креплениеing (GASKET, Carburetor mounting)  | нет в наличии, поставок нет | 
|  29  | 0314477 |    (последний код) GASKET                                                                            | нет в наличии, поставок нет | 
|  30  | 0303701 | Шайба с блокировкой, Cam folнижний (LOCK WASHER, Cam follower)  | нет в наличии, поставок нет | 
|  31  | 0324678 | Уплотнительное кольцо, Ролик (O-RING, Roller)  | нет в наличии, поставок нет | 
|  32  | 0432638 | Рычаг & Штифт (LEVER & PIN)  | нет в наличии, поставок нет | 
|  33  | 0432639 | Ролик колпачка folнижний (ROLLER, Cam follower)  | нет в наличии, поставок нет | 
|  34  | 0396701 | Ремкомплект карбюратора (CARBURETOR REPAIR KIT)  | нет в наличии, поставок нет | 
|  34  | 0398729 |    (последний код) KIT AY,CARB REPAIR                                                                | нет в наличии, поставок нет |