вконтакте

Контактный телефон: +7 (981) 121-46-93, +7 (800) 200-90-76 , Email: parts-katalog@yandex.ru, где купить

 
 

  Логин:

Пароль:

Регистрация

www.partskatalog.ru Все каталоги Запчасти Mercury Запчасти Suzuki Запчасти Tohatsu Запчасти Honda Контакты



УВАЖАЕМЫЕ КЛИЕНТЫ!
C 31 ОКТЯБРЯ 2025 ПО 10 НОЯБРЯ 2025 ГОДА РАБОТАТЬ НЕ БУДЕМ




Все разделы каталога запчастей на этот двигатель

назад Раздел:   вперёд

вернуться к списку узлов и деталей

ДЕТАЛИРОВКА ДЛЯ МОДЕЛИ: EVINRUDE E10RLECC 1998

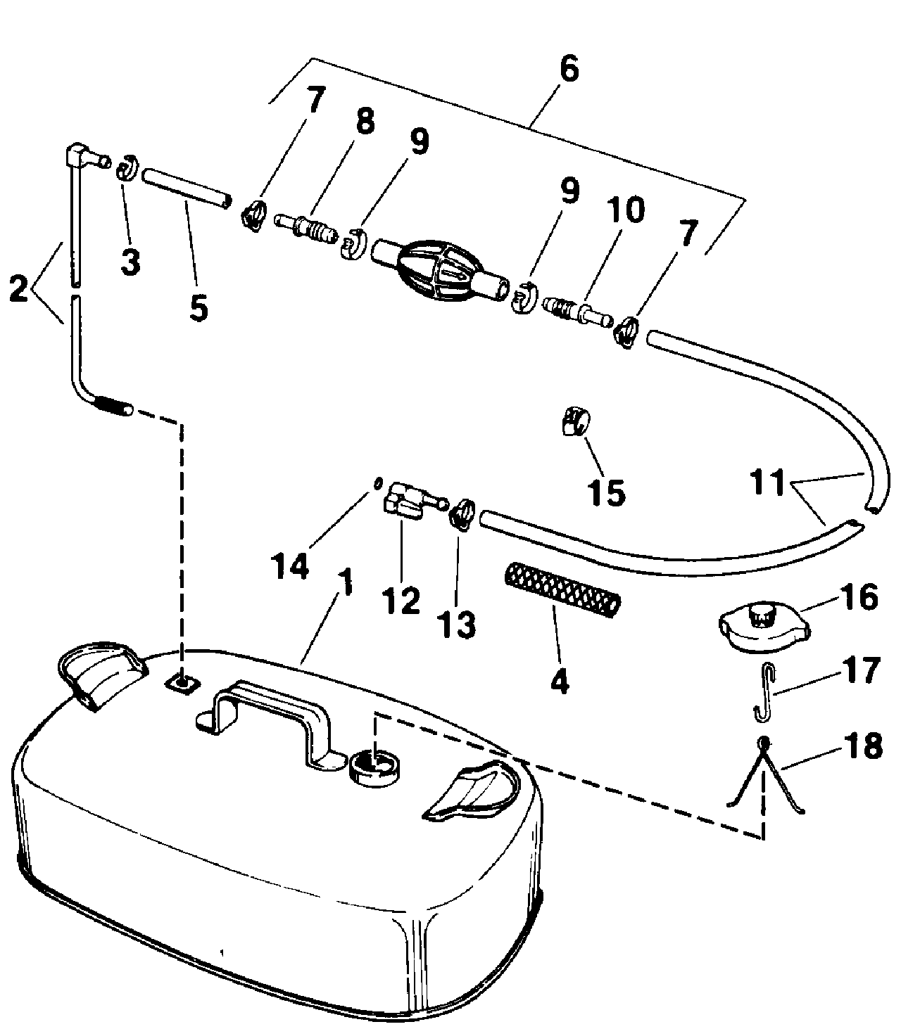
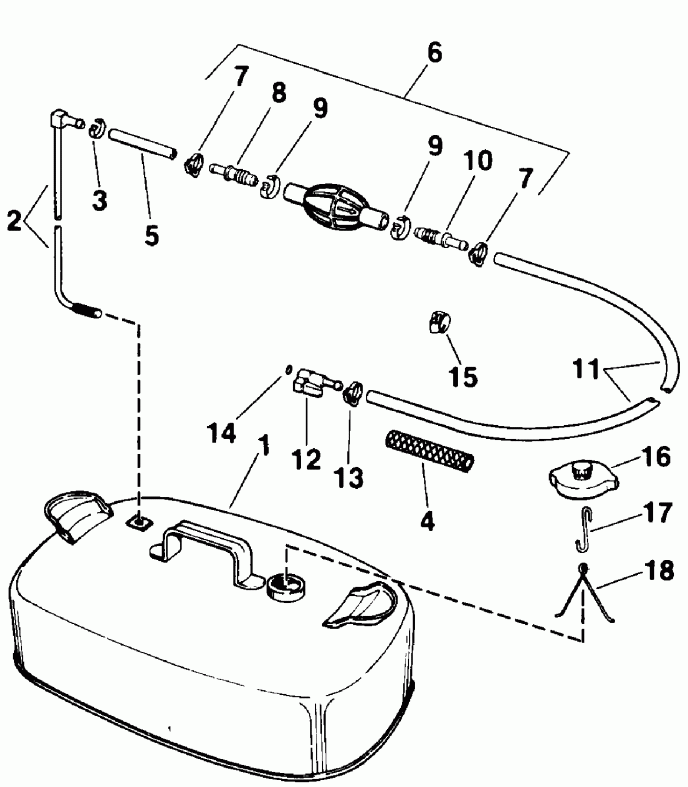
ТОПЛИВНЫЙ НАСОС | FUEL PUMP;


 Эвинруд E10RLECC 1998  - el Pump / el Помпа

Номер на
рисунке
АртикулНаименованиеКол-во
на складе
Цена
1 0438562

Топливный насос в сборе. (FUEL PUMP ASSY.)

нет в наличии, поставок нет
1 0434728

   (последний код) PUMP-AY,FUEL

нет в наличии, поставок нет
2 0319528

Уплотнительное кольцо, Колпачок to Помпа (O-RING, Cap to pump)

нет в наличии, поставок нет
3 0312675

SCREEN, Фильтр (SCREEN, Filter)

нет в наличии, поставок нет
4 0335335

Крышка фильтра (CAP, Filter)

нет в наличии, поставок нет
5 0330061

Винт, Колпачок (SCREW, Cap)

нет в наличии, поставок нет
5 0312677

   (последний код) SCREW

нет в наличии, поставок нет
6 0332678

Диафрагма (DIAPHRAGM)

нет в наличии, поставок нет
6 0328780

   (последний код) DIAPHRAGM

нет в наличии, поставок нет
7 0324660

Уплотнительное кольцо (O-RING)

нет в наличии, поставок нет
8 0344040

FITTING, Fuel (FITTING, Fuel)

нет в наличии, поставок нет
8 0335336

   (последний код) NIPPLE

нет в наличии, поставок нет
9 0305739

Уплотнительное кольцо корпуса (O-RING, Housing)

нет в наличии, поставок нет
9 0900224

   (последний код) O RING

нет в наличии, поставок нет
10 0328717

Винт, Помпа Креплениеing (SCREW, Pump mounting)

нет в наличии, поставок нет
10 0308777

   (последний код) SCREW

нет в наличии, поставок нет
11 0338183

Топливный шланг от помпы к карбюратору.. Шнур Models Electric Models (HOSE, Fuel pump to carb.. Rope Models Electric Models)

нет в наличии, поставок нет
11 0338184

Топливный шланг Помпа to tee. Remote Electric Models (HOSE, Fuel pump to tee. Remote Electric Models)

нет в наличии, поставок нет
12 0303615

Прокладка, Помпа Креплениеing (GASKET, Pump mounting)

нет в наличии, поставок нет
13 0320107

Крепёжный хомут, Шланг (TIE STRAP, Hose)

нет в наличии, поставок нет
13 5035626

   (последний код) BAND,REM CON

нет в наличии, поставок нет
14 0343566

Шланг, Коннектор to Помпа (HOSE, Connector to pump)

нет в наличии, поставок нет
15 0438616

Топливный насос Ремонтный комплект (FUEL PUMP REPAIR KIT)

2 шт2800 руб.
15 0433519

   (последний код) KIT AY,FUEL PUMP

2 шт2150 руб.
evinrude

Время выполнения запроса 1.1841468811035 сек.


 
 

данный сайт носит информационный характер и не является публичной офертой

склад запчастей для водомоторной техники