вконтакте

Контактный телефон: +7 (981) 121-46-93, +7 (800) 200-90-76 , Email: parts-katalog@yandex.ru, где купить

 
 

  Логин:

Пароль:

Регистрация

www.partskatalog.ru Все каталоги Запчасти Mercury Запчасти Suzuki Запчасти Tohatsu Запчасти Honda Контакты


Все разделы каталога запчастей на этот двигатель

назад Раздел:   вперёд

вернуться к списку узлов и деталей

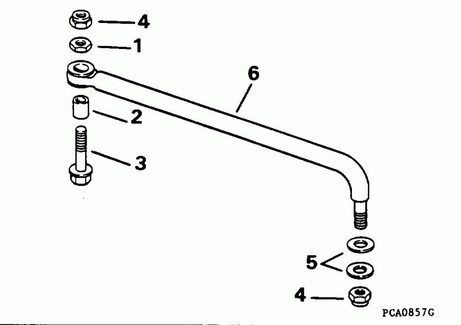
ДЕТАЛИРОВКА ДЛЯ МОДЕЛИ: EVINRUDE SE150WTPLT 1997

ТОПЛИВНЫЙ КОННЕКТОР & ШЛАНГ | FUEL CONNECTOR & HOSE;


 EVINRUDE SE150WTPLT 1997  - el Коннектор & Шланг - el Connector & Hose

Номер на
рисунке
АртикулНаименованиеКол-во
на складе
Цена
1 0398339

Топливный коннектор & Шланг (FUEL CONNECTOR & HOSE)

нет в наличии, поставок нет
1 0396305

   (последний код) FUEL-CONN&-H

нет в наличии, поставок нет
2 0322652

Струбцина (CLAMP)

нет в наличии, поставок нет
2 3852170

   (последний код) CLAMP,SNAP

нет в наличии, поставок нет
3 0332732

Шланг (HOSE)

нет в наличии, поставок нет
3 0330156

   (последний код) HOSE

нет в наличии, поставок нет
4 0393334

Топливный коннектор (FUEL CONNECTOR)

нет в наличии, поставок нет
4 0376154

   (последний код) BODY

нет в наличии, поставок нет
5 0329653

Струбцина топливного шланга (CLAMP, Fuel hose)

нет в наличии, поставок нет
evinrude

Время выполнения запроса 0.33567404747009 сек.


 
 

данный сайт носит информационный характер и не является публичной офертой

склад запчастей для водомоторной техники