| |
Все разделы каталога запчастей на этот двигатель
вернуться к списку узлов и деталей ДЕТАЛИРОВКА ДЛЯ МОДЕЛИ: EVINRUDE SE40RSLD 1997
TRANSOM КРЕПЛЕНИЕ KIT | TRANSOM MOUNT KIT;
Номер на рисунке | Артикул | Наименование | Кол-во на складе | Цена |
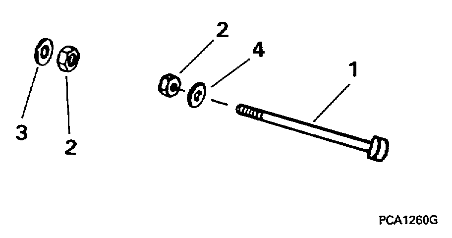
| 0434676 | 0434676 | TRANSOM Крепление KIT. Not Shown (TRANSOM MOUNT KIT. Not Shown) | нет в наличии, поставок нет |
| 1 | 0334427 | Винт (SCREW) | нет в наличии, поставок нет |
| 1 | 0318512 | (последний код) SCREW | нет в наличии, поставок нет |
| 2 | 0310702 | Гайка (NUT) | нет в наличии, поставок нет |
| 3 | 0120196 | Шайба (WASHER) | нет в наличии, поставок нет |
| 3 | 0309192 | (последний код) WASHER | нет в наличии, поставок нет |
| 4 | 0315776 | Шайба (WASHER) | нет в наличии, поставок нет |

Время выполнения запроса 0.30399394035339 сек.
|
|