вконтакте

Контактный телефон: +7 (981) 121-46-93, +7 (800) 200-90-76 , Email: parts-katalog@yandex.ru, где купить

 
 

  Логин:

Пароль:

Регистрация

www.partskatalog.ru Все каталоги Запчасти Mercury Запчасти Suzuki Запчасти Tohatsu Запчасти Honda Контакты



УВАЖАЕМЫЕ КЛИЕНТЫ!
C 19 ДЕКАБРЯ 2025 ПО 02 МАРТА 2026 ГОДА ОТДЕЛ ЗАПЧАСТЕЙ И СЕРВИС РАБОТАТЬ НЕ БУДУТ
ПРОДАЖА ЛОДОЧНЫХ МОТОРОВ В ШТАТНОМ РЕЖИМЕ
ОБ ИЗМЕНЕНИЯХ В ГРАФИКЕ РАБОТЫ ЧИТАЙТЕ НА САЙТА




Все разделы каталога запчастей на этот двигатель

Раздел:   вперёд

вернуться к списку узлов и деталей

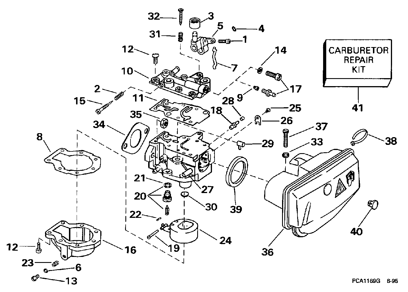
ДЕТАЛИРОВКА ДЛЯ МОДЕЛИ: EVINRUDE SE15RPW 1997

КАРБЮРАТОР | CARBURETOR;


Двигатель EVINRUDE SE15RPW 1997  - rburetor

Номер на
рисунке
АртикулНаименованиеКол-во
на складе
Цена
0437879 0437879

Карбюратор в сборе.. Not Shown 10 Models Only (CARBURETOR ASSY.. Not Shown 10 Models Only)

нет в наличии, поставок нет
0437267 0437267

Карбюратор в сборе.. Not Shown 15RP Models Only (CARBURETOR ASSY.. Not Shown 15RP Models Only)

нет в наличии, поставок нет
0437267 0439129

   (последний код) CARB AY,15HP ROPE

нет в наличии, поставок нет
0437242 0437242

Карбюратор в сборе.. Not Shown 15KC Models Only (CARBURETOR ASSY.. Not Shown 15KC Models Only)

нет в наличии, поставок нет
1 0330346

Винт, Adjustment (SCREW, Adjustment)

1 шт710 руб.
1 0324393

   (последний код) SCREW

нет в наличии, поставок нет
2 0337807

Пружина, Игольчатый клапан (SPRING, Needle valve)

нет в наличии, поставок нет
3 0323328

Ролик (ROLLER)

1 шт620 руб.
4 0321117

Уплотнительное кольцо, Cam folнижний (O-RING, Cam follower)

5 шт100 руб.
4 3852165

   (последний код) O-RING

5 шт80 руб.
5 0323327

Рычаг (LEVER)

нет в наличии, поставок нет
6 0303630

Шайба, Сливной винт. Also included in kit 436359 (WASHER, Screw plug. Also included in kit 436359)

нет в наличии, поставок нет
7 0334235

Соединитель, Folнижний 10 Models Only 15RP Models Only (LINK, Follower. 10 Models Only 15RP Models Only)

нет в наличии, поставок нет
7 0331930

Соединитель, Folнижний 15KC Models Only (LINK, Follower. 15KC Models Only)

нет в наличии, поставок нет
8 0338882

Прокладка, Bowl. Also included in kit 436359 (GASKET, Bowl. Also included in kit 436359)

нет в наличии, поставок нет
8 0333346

   (последний код) GASKET

нет в наличии, поставок нет
9 0333243

ORIFICE, Intermediate № 16. 15KC Models Only (ORIFICE, Intermediate No. 16. 15KC Models Only)

нет в наличии, поставок нет
10 0438061

Крышка, Карбюратор Корпус. 10 Models Only (COVER, Carburetor body. 10 Models Only)

нет в наличии, поставок нет
10 0437985

Крышка, Карбюратор Корпус. 15RP Models Only 15KC Models Only (COVER, Carburetor body. 15RP Models Only 15KC Models Only)

нет в наличии, поставок нет
10 0436762

   (последний код) COVER&INSERT AY

нет в наличии, поставок нет
11 0340616

Прокладка крышки. Also included in kit 436359 (GASKET, Cover. Also included in kit 436359)

нет в наличии, поставок нет
11 0339991

   (последний код) GASKET,CARB.

нет в наличии, поставок нет
11 0341501

Прокладка крышки. Also included in kit 436359 (GASKET, Cover. Also included in kit 436359)

нет в наличии, поставок нет
12 0908045

Винт, Поплавковая камера & Крышка (SCREW, Float chamber & cover)

нет в наличии, поставок нет
13 0330057

Винт заглушки (SCREW, Plug)

нет в наличии, поставок нет
14 0317477

Шайба, Idle passage. Also included in kit 436359 (WASHER, Idle passage. Also included in kit 436359)

нет в наличии, поставок нет
15 0339218

Игольчатый клапан, Slow speed (NEEDLE VALVE, Slow speed)

нет в наличии, поставок нет
16 0339321

Поплавковая камера (FLOAT CHAMBER)

нет в наличии, поставок нет
17 0330055

Сливной винт, Idle passage. 10 Models Only 15RP Models Only (SCREW PLUG, Idle passage. 10 Models Only 15RP Models Only)

нет в наличии, поставок нет
17 0447013

Шланг FITTING, Крышка. 15KC Models Only (HOSE FITTING, Cover. 15KC Models Only)

нет в наличии, поставок нет
18 0327706

Ниппель, Primer (NIPPLE, Primer)

нет в наличии, поставок нет
19 0302661

HINGE Стопор поплавка. Also included in kit 436359 (HINGE PIN, Float. Also included in kit 436359)

нет в наличии, поставок нет
20 0396522

Клапан поплавка & Седло в сборе.. Also included in kit 436359 (FLOAT VALVE & SEAT ASSY.. Also included in kit 436359)

нет в наличии, поставок нет
20 0382889

   (последний код) FLOAT-VALVE

нет в наличии, поставок нет
21 0301996

Шайба. Also included in kit 436359 (WASHER. Also included in kit 436359)

1 шт140 руб.
22 0336842

Пружина Зажим. Also included in kit 436359 (SPRING CLIP. Also included in kit 436359)

нет в наличии, поставок нет
22 0603145

   (последний код) CLIP

нет в наличии, поставок нет
23 0324698

HIGH SPEED ORIFICE, № 37. 10 Models Only (HIGH SPEED ORIFICE, No. 37. 10 Models Only)

нет в наличии, поставок нет
23 0326500

HIGH SPEED ORIFICE, № 48. 15RP Models Only (HIGH SPEED ORIFICE, No. 48. 15RP Models Only)

нет в наличии, поставок нет
23 0326856

HIGH SPEED ORIFICE, № 62. 15KC Models Only (HIGH SPEED ORIFICE, No. 62. 15KC Models Only)

нет в наличии, поставок нет
24 0396514

Поплавок в сборе.. Also included in kit 436359 (FLOAT ASSY.. Also included in kit 436359)

нет в наличии, поставок нет
24 0386149

   (последний код) FLOAT&ARM AY

нет в наличии, поставок нет
25 0330284

Винт. 10 Models Only 15RP Models Only (SCREW. 10 Models Only 15RP Models Only)

нет в наличии, поставок нет
26 0330285

Зажим. 10 Models Only 15RP Models Only (CLIP. 10 Models Only 15RP Models Only)

нет в наличии, поставок нет
26 0310942

   (последний код) CLIP

нет в наличии, поставок нет
27 0311511

Штифт, Choke Рычаг. 10 Models Only 15RP Models Only (PIN, Choke lever. 10 Models Only 15RP Models Only)

нет в наличии, поставок нет
27 0322963

   (последний код) PIN

нет в наличии, поставок нет
28 0327227

Колпачок, Primer Ниппель. 10 Models Only 15RP Models Only (CAP, Primer nipple. 10 Models Only 15RP Models Only)

нет в наличии, поставок нет
29 0340810

Колпачок, Рестриктор. 10 Models Only 15RP Models Only (CAP, Restrictor. 10 Models Only 15RP Models Only)

нет в наличии, поставок нет
29 0342425

Колпачок, Рестриктор. 15KC Models Only (CAP, Restrictor. 15KC Models Only)

нет в наличии, поставок нет
30 0316991

Заглушка, Expansion, nozzle well (PLUG, Expansion, nozzle well)

нет в наличии, поставок нет
31 0332576

Пружина, Idle adjustment. 15KC Models Only (SPRING, Idle adjustment. 15KC Models Only)

нет в наличии, поставок нет
31 0329388

   (последний код) SPRING

нет в наличии, поставок нет
32 0331807

Винт, Idle adjustment. 15KC Models Only (SCREW, Idle adjustment. 15KC Models Only)

нет в наличии, поставок нет
33 0328739

Шайба, Винт. 10 Models Only 15RP Models Only (WASHER, Screw. 10 Models Only 15RP Models Only)

нет в наличии, поставок нет
33 3852190

   (последний код) WASHER

нет в наличии, поставок нет
34 0338282

Прокладка. Also included in kit 436359 (GASKET. Also included in kit 436359)

нет в наличии, поставок нет
35 0328742

Гайка, Карбюратор Креплениеing (NUT, Carburetor mounting)

нет в наличии, поставок нет
35 0308133

   (последний код) NUT

нет в наличии, поставок нет
36 0436296

AIR Глушитель. 10 Models Only 15RP Models Only (AIR SILENCER. 10 Models Only 15RP Models Only)

нет в наличии, поставок нет
36 0338204

   (последний код) SILENCER,AIR

нет в наличии, поставок нет
37 0331758

Воздушный винт Глушитель. 10 Models Only 15RP Models Only (SCREW, Air silencer. 10 Models Only 15RP Models Only)

нет в наличии, поставок нет
38 0317893

Крепёжный хомут, Кабели to Глушитель (TIE STRAP, Cable to silencer)

нет в наличии, поставок нет
38 3852149

   (последний код) TIE-STRAP

нет в наличии, поставок нет
39 0339192

Сальник, Air Глушитель to carb.. 10 Models Only 15RP Models Only (SEAL, Air silencer to carb.. 10 Models Only 15RP Models Only)

нет в наличии, поставок нет
40 0316337

Заглушка, Air Глушитель. 10 Models Only 15RP Models Only (PLUG, Air silencer. 10 Models Only 15RP Models Only)

нет в наличии, поставок нет
41 0436359

Ремкомплект карбюратора. 10 Models Only 15RP Models Only (CARBURETOR REPAIR KIT. 10 Models Only 15RP Models Only)

нет в наличии, поставок нет
41 0439073

   (последний код) KIT AY,CARB REPAIR

нет в наличии, поставок нет
41 0437911

Ремкомплект карбюратора. 15KC Models Only (CARBURETOR REPAIR KIT. 15KC Models Only)

нет в наличии, поставок нет
evinrude

Время выполнения запроса 4.4639210700989 сек.


 
 

данный сайт носит информационный характер и не является публичной офертой

склад запчастей для водомоторной техники