вконтакте

Контактный телефон: +7 (981) 121-46-93, +7 (800) 200-90-76 , Email: parts-katalog@yandex.ru, где купить

 
 

  Логин:

Пароль:

Регистрация

www.partskatalog.ru Все каталоги Запчасти Mercury Запчасти Suzuki Запчасти Tohatsu Запчасти Honda Контакты



УВАЖАЕМЫЕ КЛИЕНТЫ!
C 31 ОКТЯБРЯ 2025 ПО 10 НОЯБРЯ 2025 ГОДА РАБОТАТЬ НЕ БУДЕМ




Все разделы каталога запчастей на этот двигатель

Раздел:   вперёд

вернуться к списку узлов и деталей

ДЕТАЛИРОВКА ДЛЯ МОДЕЛИ: EVINRUDE E8SRLEUC 1997

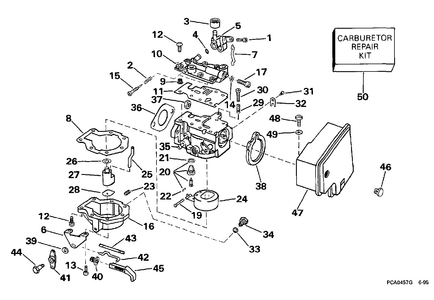
КАРБЮРАТОР | CARBURETOR;


Лодочный подвесной мотор Evinrude E8SRLEUC 1997  - rburetor

Номер на
рисунке
АртикулНаименованиеКол-во
на складе
Цена
0436881 0436881

Карбюратор в сборе., 5DR, 6DR. Not Shown (CARBURETOR ASSY., 5DR, 6DR. Not Shown)

нет в наличии, поставок нет
0436881 5000010

   (последний код) CARBURETOR AY

нет в наличии, поставок нет
0436879 0436879

Карбюратор в сборе., 6R. Not Shown (CARBURETOR ASSY., 6R. Not Shown)

нет в наличии, поставок нет
0436879 0439984

   (последний код) CARBURETOR AY,6HP

нет в наличии, поставок нет
0436878 0436878

Карбюратор в сборе., 8 models. Not Shown (CARBURETOR ASSY., 8 models. Not Shown)

нет в наличии, поставок нет
0436878 5000377

   (последний код) KIT AY, CARBURETOR

нет в наличии, поставок нет
1 0330346

Винт, Adjustment (SCREW, Adjustment)

1 шт710 руб.
1 0324393

   (последний код) SCREW

нет в наличии, поставок нет
2 0337807

Пружина, Игольчатый клапан (SPRING, Needle valve)

нет в наличии, поставок нет
3 0323328

Ролик (ROLLER)

1 шт620 руб.
4 0321117

Уплотнительное кольцо, Cam folнижний (O-RING, Cam follower)

5 шт100 руб.
4 3852165

   (последний код) O-RING

5 шт80 руб.
5 0323327

Рычаг (LEVER)

нет в наличии, поставок нет
6 0339184

Кронштейн, Choke Стержень (BRACKET, Choke pivot)

нет в наличии, поставок нет
7 0331930

Соединитель, Folнижний (LINK, Follower)

нет в наличии, поставок нет
8 0338882

Прокладка, Bowl (GASKET, Bowl)

нет в наличии, поставок нет
8 0333346

   (последний код) GASKET

нет в наличии, поставок нет
9 0333695

SCREEN, Vent (SCREEN, Vent)

нет в наличии, поставок нет
9 0309949

   (последний код) SCREEN

нет в наличии, поставок нет
10 0437985

Крышка, Карбюратор Корпус (COVER, Carburetor body)

нет в наличии, поставок нет
10 0436762

   (последний код) COVER&INSERT AY

нет в наличии, поставок нет
11 0340616

Прокладка крышки (GASKET, Cover)

нет в наличии, поставок нет
11 0339991

   (последний код) GASKET,CARB.

нет в наличии, поставок нет
12 0908045

Винт, Поплавковая камера & Крышка (SCREW, Float chamber & cover)

нет в наличии, поставок нет
13 0339293

Винт, Кронштейн (SCREW, Bracket)

нет в наличии, поставок нет
14 0317477

Шайба, Idle passage (WASHER, Idle passage)

нет в наличии, поставок нет
15 0339218

Игольчатый клапан, Slow speed (NEEDLE VALVE, Slow speed)

нет в наличии, поставок нет
16 0340182

Поплавковая камера (FLOAT CHAMBER)

нет в наличии, поставок нет
17 0330055

Сливной винт, Idle passage (SCREW PLUG, Idle passage)

нет в наличии, поставок нет
19 0302661

HINGE Стопор поплавка (HINGE PIN, Float)

нет в наличии, поставок нет
20 0396522

Клапан поплавка & Седло в сборе. (FLOAT VALVE & SEAT ASSY.)

нет в наличии, поставок нет
20 0382889

   (последний код) FLOAT-VALVE

нет в наличии, поставок нет
21 0301996

Шайба (WASHER)

1 шт140 руб.
22 0336842

Пружина Зажим (SPRING CLIP)

нет в наличии, поставок нет
22 0603145

   (последний код) CLIP

нет в наличии, поставок нет
23 0320015

HIGH SPEED ORIFICE, № 33, 5, 6DR (HIGH SPEED ORIFICE, No. 33, 5, 6DR)

нет в наличии, поставок нет
23 0323149

HIGH SPEED ORIFICE, № 38, 6R (HIGH SPEED ORIFICE, No. 38, 6R)

нет в наличии, поставок нет
23 0323708

HIGH SPEED ORIFICE, № 50, 8 models (HIGH SPEED ORIFICE, No. 50, 8 models)

1 шт1400 руб.
24 0396514

Поплавок в сборе. (FLOAT ASSY.)

нет в наличии, поставок нет
24 0386149

   (последний код) FLOAT&ARM AY

нет в наличии, поставок нет
25 0336567

FLEX Трубка (FLEX TUBE)

нет в наличии, поставок нет
25 0331740

   (последний код) FLEXIBLE-TUB

нет в наличии, поставок нет
26 0338883

Прокладка, верхний (GASKET, Upper)

нет в наличии, поставок нет
26 0333347

   (последний код) GASKET

нет в наличии, поставок нет
27 0396605

NOZZLE WELL, 5DR, 6DR models (NOZZLE WELL, 5DR, 6DR models)

нет в наличии, поставок нет
27 0397189

NOZZLE WELL, 6R models (NOZZLE WELL, 6R models)

нет в наличии, поставок нет
27 0397189

NOZZLE WELL, 8 models (NOZZLE WELL, 8 models)

нет в наличии, поставок нет
28 0333348

Прокладка, нижний (GASKET, Lower)

нет в наличии, поставок нет
28 0331753

   (последний код) GASKET-NOZZL

нет в наличии, поставок нет
29 0332576

Пружина, Fuel adjustment (SPRING, Fuel adjustment)

нет в наличии, поставок нет
29 0329388

   (последний код) SPRING

нет в наличии, поставок нет
30 0331807

Винт, Idle adjustment (SCREW, Idle adjustment)

нет в наличии, поставок нет
31 0330284

Винт (SCREW)

нет в наличии, поставок нет
32 0330285

Зажим (CLIP)

нет в наличии, поставок нет
32 0310942

   (последний код) CLIP

нет в наличии, поставок нет
33 0303630

Шайба (WASHER)

нет в наличии, поставок нет
34 0330057

Сливной винт (SCREW PLUG)

нет в наличии, поставок нет
35 0314513

Ниппель, Fuel вход (NIPPLE, Fuel inlet)

нет в наличии, поставок нет
36 0318932

Прокладка (GASKET)

нет в наличии, поставок нет
37 0328742

Гайка, Карбюратор Креплениеing (NUT, Carburetor mounting)

нет в наличии, поставок нет
37 0308133

   (последний код) NUT

нет в наличии, поставок нет
38 0335389

Сальник, Air Глушитель to Карбюратор (SEAL, Air silencer to carburetor)

нет в наличии, поставок нет
39 0303887

Шайба, BellКривошип Винт (WASHER, Bellcrank screw)

нет в наличии, поставок нет
40 0335253

Пыльник ручки заслонки (GROMMET, Choke knob)

нет в наличии, поставок нет
41 0336369

BELLКривошип, Choke Ручка (BELLCRANK, Choke knob)

нет в наличии, поставок нет
42 0335961

Соединитель, BellКривошип to Ручка (LINK, Bellcrank to knob)

нет в наличии, поставок нет
43 0336370

Соединитель, BellКривошип to Рычаг (LINK, Bellcrank to lever)

нет в наличии, поставок нет
44 0339185

Винт, BellКривошип (SCREW, Bellcrank)

нет в наличии, поставок нет
45 0338965

Регулятор дросселя (KNOB, Choke)

нет в наличии, поставок нет
45 0336147

   (последний код) KNOB,CHOKE

нет в наличии, поставок нет
46 0333011

Заглушка, Air Корпус глушителя (PLUG, Air silencer cover)

нет в наличии, поставок нет
47 0433984

AIR Глушитель (AIR SILENCER)

нет в наличии, поставок нет
48 0331758

Воздушный винт Глушитель (SCREW, Air silencer)

нет в наличии, поставок нет
49 0328739

Шайба, Air Глушитель (WASHER, Air silencer)

нет в наличии, поставок нет
49 3852190

   (последний код) WASHER

нет в наличии, поставок нет
50 0431897

Ремкомплект карбюратора (CARBURETOR REPAIR KIT)

нет в наличии, поставок нет
50 0439073

   (последний код) KIT AY,CARB REPAIR

нет в наличии, поставок нет
evinrude

Время выполнения запроса 3.2243530750275 сек.


 
 

данный сайт носит информационный характер и не является публичной офертой

склад запчастей для водомоторной техники