вконтакте

Контактный телефон: +7 (981) 121-46-93, +7 (800) 200-90-76 , Email: parts-katalog@yandex.ru, где купить

 
 

  Логин:

Пароль:

Регистрация

www.partskatalog.ru Все каталоги Запчасти Mercury Запчасти Suzuki Запчасти Tohatsu Запчасти Honda Контакты



УВАЖАЕМЫЕ КЛИЕНТЫ!
C 19 ДЕКАБРЯ 2025 ПО 02 МАРТА 2026 ГОДА ОТДЕЛ ЗАПЧАСТЕЙ И СЕРВИС РАБОТАТЬ НЕ БУДУТ
ПРОДАЖА ЛОДОЧНЫХ МОТОРОВ В ШТАТНОМ РЕЖИМЕ
ОБ ИЗМЕНЕНИЯХ В ГРАФИКЕ РАБОТЫ ЧИТАЙТЕ НА САЙТА




Все разделы каталога запчастей на этот двигатель

назад Раздел:   вперёд

вернуться к списку узлов и деталей

ДЕТАЛИРОВКА ДЛЯ МОДЕЛИ: EVINRUDE E48ESLEOS 1995

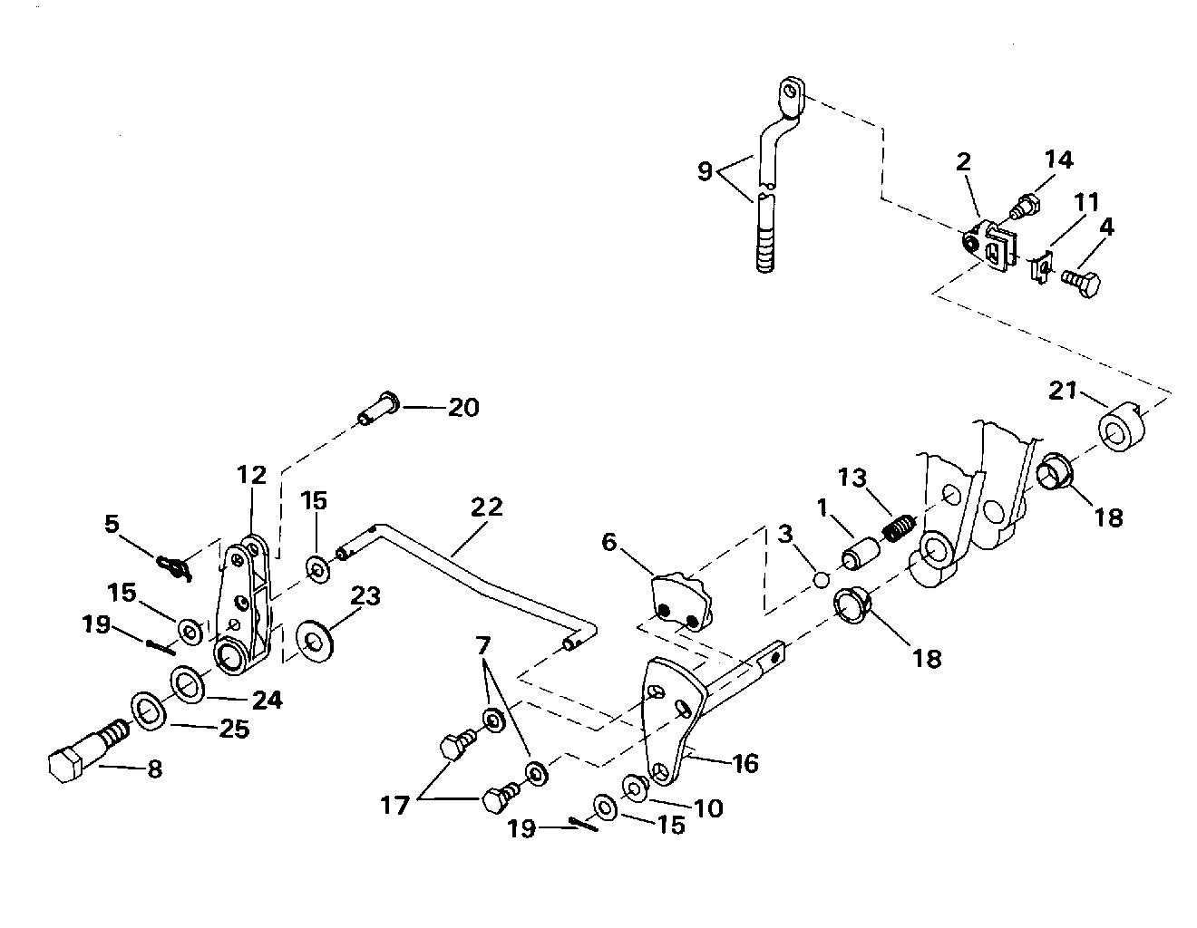
ПЕРЕКЛЮЧАТЕЛЬ & СОЕДИНИТЕЛЬ ДРОССЕЛЯAGE (CONTINUED) | SHIFT & THROTTLE LINKAGE (CONTINUED);


 Evinrude E48ESLEOS 1995  - ift & Соединитель дросселяage (continued) - ift & Throttle Linkage (continued)

Номер на
рисунке
АртикулНаименованиеКол-во
на складе
Цена
1 0334241

Направляющая, Шарик detent (GUIDE, Ball detent)

нет в наличии, поставок нет
2 0332482

Рычаг переключения (SHIFT LEVER)

нет в наличии, поставок нет
3 0315164

Шарик, Detent (BALL, Detent)

нет в наличии, поставок нет
4 0321532

Винт, Cвыше (SCREW, Cup)

нет в наличии, поставок нет
5 0333774

Зажим, Соединитель (CLIP, Link)

нет в наличии, поставок нет
6 0334248

DETENT, Рычаг переключения (DETENT, Shift lever)

нет в наличии, поставок нет
7 0329241

Шайба (WASHER)

нет в наличии, поставок нет
7 3852193

   (последний код) WASHER

нет в наличии, поставок нет
8 0331109

Винт, Рычаг (SCREW, Lever)

нет в наличии, поставок нет
9 0332510

Переключающая тяга (SHIFT ROD)

нет в наличии, поставок нет
10 0334135

Втулка, Переключатель Соединитель (BUSHING, Shift link)

нет в наличии, поставок нет
11 0319537

Зажим, Переключающая тяга (CLIP, Shift rod)

нет в наличии, поставок нет
12 0334058

Рычаг переключателя (LEVER, Shift)

нет в наличии, поставок нет
13 0334338

Пружина переключателя detent (SPRING, Shift detent)

нет в наличии, поставок нет
14 0332486

Винт, Рычаг to Переключающая тяга (SCREW, Lever to shift rod)

нет в наличии, поставок нет
15 0328702

Шайба (WASHER)

нет в наличии, поставок нет
15 3852183

   (последний код) WASHER

нет в наличии, поставок нет
16 0432014

Вал в сборе., Переключатель (SHAFT ASSY., Shift)

нет в наличии, поставок нет
17 0304027

Винт, Сдвижной переключатель (SCREW, Shift detent)

нет в наличии, поставок нет
17 0330154

   (последний код) SCREW

нет в наличии, поставок нет
18 0312708

Втулка, Переключающий вал (BUSHING, Shift shaft)

нет в наличии, поставок нет
19 0305650

Шплинт (COTTER PIN)

нет в наличии, поставок нет
19 3852052

   (последний код) PIN,COTTER

нет в наличии, поставок нет
20 0334063

Штифт (PIN)

нет в наличии, поставок нет
21 0334246

Проставка, Переключающий вал (SPACER, Shift shaft)

нет в наличии, поставок нет
22 0334057

Переключающая тяга Вал to Рычаг переключения (LINK, Shift shaft to shift lever)

нет в наличии, поставок нет
23 0908398

Шайба, Рычаг to Цилиндр (WASHER, Lever to cylinder)

нет в наличии, поставок нет
24 0303913

Шайба, Рычаг переключения Винт (WASHER, Shift lever screw)

нет в наличии, поставок нет
25 0330234

Шайба, Рычаг переключения (WASHER, Shift lever)

нет в наличии, поставок нет
evinrude

Время выполнения запроса 0.41515183448792 сек.


 
 

данный сайт носит информационный характер и не является публичной офертой

склад запчастей для водомоторной техники