вконтакте

Контактный телефон: +7 (981) 121-46-93, +7 (800) 200-90-76 , Email: parts-katalog@yandex.ru, где купить

 
 

  Логин:

Пароль:

Регистрация

www.partskatalog.ru Все каталоги Запчасти Mercury Запчасти Suzuki Запчасти Tohatsu Запчасти Honda Контакты


Все разделы каталога запчастей на этот двигатель

Раздел:   вперёд

вернуться к списку узлов и деталей

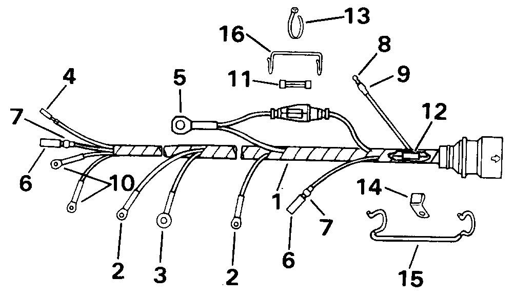
ДЕТАЛИРОВКА ДЛЯ МОДЕЛИ: EVINRUDE VE30ELENR 1992

КАБЕЛИ ASSEMBLY | CABLE ASSEMBLY;


Подвесной двигатель EVINRUDE VE30ELENR 1992  - ble Assembly - ble Assembly

Номер на
рисунке
АртикулНаименованиеКол-во
на складе
Цена
1 0584383

Кабели в сборе. MOTOR (CABLE ASSY. MOTOR)

нет в наличии, поставок нет
2 0204036

Клемма, Кольцо (TERMINAL, Ring)

нет в наличии, поставок нет
2 3852035

   (последний код) TERMINAL,RIN

нет в наличии, поставок нет
3 0308294

Клемма, Кольцо (TERMINAL, Ring)

нет в наличии, поставок нет
3 0510818

   (последний код) TERM.-61867-

нет в наличии, поставок нет
4 0581656

Клемма, Socket (TERMINAL, Socket)

нет в наличии, поставок нет
4 3852257

   (последний код) TERMINAL AY,SCKT

нет в наличии, поставок нет
5 0204053

Клемма, Кольцо (TERMINAL, Ring)

нет в наличии, поставок нет
5 3852037

   (последний код) TERMINAL,RIN

нет в наличии, поставок нет
6 0512876

Клемма, Socket (TERMINAL, Socket)

нет в наличии, поставок нет
6 3852244

   (последний код) TERMINAL,SOC

нет в наличии, поставок нет
7 0513186

Гильза (SLEEVE)

нет в наличии, поставок нет
7 3852248

   (последний код) SLEEVE,SKT-B

нет в наличии, поставок нет
8 0512947

Клемма, Bullet (TERMINAL, Bullet)

нет в наличии, поставок нет
8 0910462

   (последний код) TERM.-60766-

нет в наличии, поставок нет
9 0513185

Гильза, Bullet Клемма (SLEEVE, Bullet terminal)

нет в наличии, поставок нет
9 0512948

   (последний код) SLEEVE

нет в наличии, поставок нет
10 0510780

Клемма, Кольцо (TERMINAL, Ring)

нет в наличии, поставок нет
10 3852226

   (последний код) TERMINAL,RIN

нет в наличии, поставок нет
11 0510884

Предохранитель, 20 amp. (FUSE, 20 amp.)

нет в наличии, поставок нет
11 0510384

   (последний код) FUSE

нет в наличии, поставок нет
12 0583898

DIODE (DIODE)

нет в наличии, поставок нет
12 3852258

   (последний код) KIT-AY,DIODE

нет в наличии, поставок нет
13 0317893

Крепёжный хомут, Фиксатор to Кабели (TIE STRAP, Retainer to cable)

нет в наличии, поставок нет
13 3852149

   (последний код) TIE-STRAP

нет в наличии, поставок нет
14 0326365

Зажим (CLIP)

нет в наличии, поставок нет
14 0315197

   (последний код) SPRING

нет в наличии, поставок нет
15 0315182

Фиксатор, Коннектор (RETAINER, Connector)

нет в наличии, поставок нет
15 0315181

   (последний код) CLAMP

нет в наличии, поставок нет
16 0321077

Фиксатор, Предохранитель Держатель (RETAINER, Fuse holder)

нет в наличии, поставок нет
evinrude

Время выполнения запроса 0.63504886627197 сек.


 
 

данный сайт носит информационный характер и не является публичной офертой

склад запчастей для водомоторной техники