вконтакте

Контактный телефон: +7 (981) 121-46-93, +7 (800) 200-90-76 , Email: parts-katalog@yandex.ru, где купить

 
 

  Логин:

Пароль:

Регистрация

www.partskatalog.ru Все каталоги Запчасти Mercury Запчасти Suzuki Запчасти Tohatsu Запчасти Honda Контакты



УВАЖАЕМЫЕ КЛИЕНТЫ!
C 31 ОКТЯБРЯ 2025 ПО 10 НОЯБРЯ 2025 ГОДА РАБОТАТЬ НЕ БУДЕМ




Все разделы каталога запчастей на этот двигатель

назад Раздел:   вперёд

вернуться к списку узлов и деталей

ДЕТАЛИРОВКА ДЛЯ МОДЕЛИ: EVINRUDE E10RELENA 1992

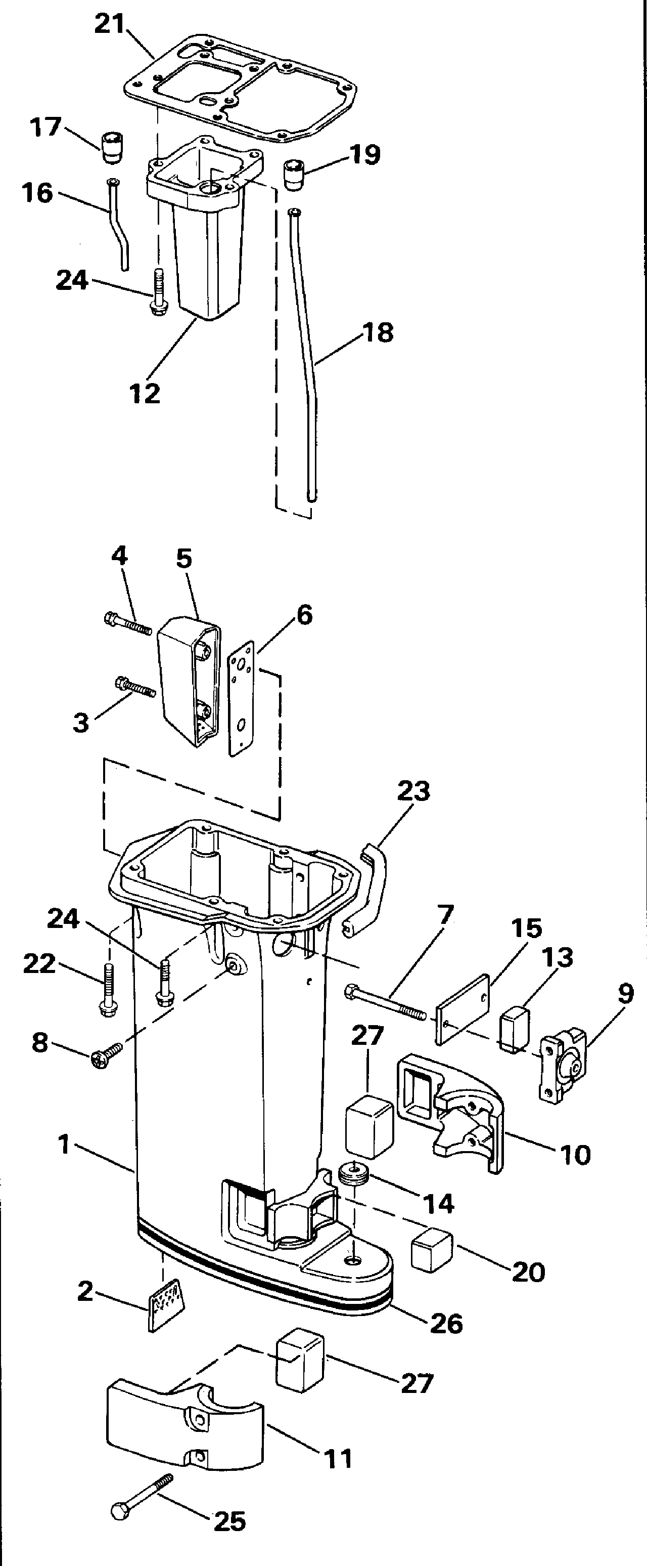
УДЛИНИТЕЛЬ КОРПУСА | EXHAUST HOUSING;


Двигатель Эвинруд E10RELENA 1992  - haust Корпус - haust Housing

Номер на
рисунке
АртикулНаименованиеКол-во
на складе
Цена
1 0432442

Удлинитель корпуса в сборе. (EXHAUST HOUSING ASSY.)

нет в наличии, поставок нет
2 0322210

BAFFLE, Выхлоп hsg. (BAFFLE, Exhaust hsg.)

нет в наличии, поставок нет
3 0324334

Винт, Muffler, нижний (SCREW, Muffler, lower)

нет в наличии, поставок нет
3 0302820

   (последний код) SCREW

нет в наличии, поставок нет
4 0319126

Винт, Muffler, верхний (SCREW, Muffler, upper)

нет в наличии, поставок нет
4 0326696

   (последний код) SCREW

нет в наличии, поставок нет
5 0334537

MUFFLER, Выхлоп (MUFFLER, Exhaust)

нет в наличии, поставок нет
5 0338275

   (последний код) EXHAUST MUFFLER

нет в наличии, поставок нет
6 0334533

Прокладка глушителя (GASKET, Muffler)

нет в наличии, поставок нет
7 0313600

Винт, верхний Креплениеs to strg. brkt. (SCREW, Upper mounts to strg. brkt.)

нет в наличии, поставок нет
8 0319125

Винт, верхний Креплениеs to exh. hsg. (SCREW, Upper mounts to exh. hsg.)

нет в наличии, поставок нет
9 0431641

Крепление в сборе., верхний (MOUNT ASSY., Upper)

нет в наличии, поставок нет
9 0436469

   (последний код) MOUNT AY,THRUST

нет в наличии, поставок нет
10 0329021

Монтажный кронштейн, нижний , port (MOUNT BRACKET, Lower, port)

нет в наличии, поставок нет
10 0322288

   (последний код) BRACKET

нет в наличии, поставок нет
11 0329020

Монтажный кронштейн, нижний , stbd. (MOUNT BRACKET, Lower, stbd.)

нет в наличии, поставок нет
11 0322289

   (последний код) BRACKET

нет в наличии, поставок нет
12 0330440

Выхлоп Трубка внутри (EXHAUST TUBE, Inner)

нет в наличии, поставок нет
12 0325333

   (последний код) EXH-HSG-INNE

нет в наличии, поставок нет
13 0329045

THRUST Верхнее крепление (THRUST MOUNT, Upper)

нет в наличии, поставок нет
13 0338631

   (последний код) MOUNT,THRUST UPPR

нет в наличии, поставок нет
14 0319229

Пыльник. Exh. hsg. to Переключающая тяга (GROMMET. Exh. hsg. to shift rod)

нет в наличии, поставок нет
15 0329047

Пластина верхней опорыs (PLATE, Upper mounts)

нет в наличии, поставок нет
15 0339613

   (последний код) PLATE

нет в наличии, поставок нет
16 0395125

Водяная трубка & Пыльник, выход (Incl. Item 55) (WATER TUBE & GROMMET, Outlet (Incl. Item 55))

нет в наличии, поставок нет
16 0325748

   (последний код) TUBE

нет в наличии, поставок нет
17 0330426

Пыльник (GROMMET)

нет в наличии, поставок нет
18 0395122

Водяная трубка & Пыльник, вход, std. (WATER TUBE & GROMMET, Inlet, std.)

нет в наличии, поставок нет
18 0326994

   (последний код) WATER TUBE

нет в наличии, поставок нет
18 0395123

Водяная трубка & Пыльник, вход, long (WATER TUBE & GROMMET, Inlet, long)

нет в наличии, поставок нет
18 0326995

   (последний код) WATER TUBE

нет в наличии, поставок нет
19 0330426

Пыльник, верхний , Водяная трубка (GROMMET, Upper, water tube)

нет в наличии, поставок нет
20 0329046

THRUST Крепление нижнее (THRUST MOUNT, Lower)

нет в наличии, поставок нет
21 0325721

Прокладка, Powerhead to exh. hsg. (GASKET, Powerhead to exh. hsg.)

5 шт290 руб.
21 0322161

   (последний код) GASKET

нет в наличии, поставок нет
22 0319126

Винт, Outer exh. hsg. to powerhead, long (SCREW, Outer exh. hsg. to powerhead, long)

нет в наличии, поставок нет
22 0326696

   (последний код) SCREW

нет в наличии, поставок нет
23 0319280

Сальник, Удлинитель корпуса to Нижняя крышка двигателя (SEAL, Exhaust housing to lower engine cover)

нет в наличии, поставок нет
24 0324334

Винт, Удлинитель корпусаs и Кронштейн рулевого управления (SCREW, Exhaust housings and steering bracket)

нет в наличии, поставок нет
24 0302820

   (последний код) SCREW

нет в наличии, поставок нет
25 0319042

Винт, Креплениеing brkt., нижний (SCREW, Mounting brkt., lower)

нет в наличии, поставок нет
26 0212022

Наклейка, Выхлоп hsg., Ev. (DECAL, Exhaust hsg., Ev.)

нет в наличии, поставок нет
26 0338445

Наклейка, Выхлоп hsg., Jo. (DECAL, Exhaust hsg., Jo.)

нет в наличии, поставок нет
27 0318997

LATERAL Крепление нижнее (LATERAL MOUNT, Lower)

нет в наличии, поставок нет
evinrude

Время выполнения запроса 0.88694405555725 сек.


 
 

данный сайт носит информационный характер и не является публичной офертой

склад запчастей для водомоторной техники