вконтакте

Контактный телефон: +7 (981) 121-46-93, +7 (800) 200-90-76 , Email: parts-katalog@yandex.ru, где купить

 
 

  Логин:

Пароль:

Регистрация

www.partskatalog.ru Все каталоги Запчасти Mercury Запчасти Suzuki Запчасти Tohatsu Запчасти Honda Контакты


Все разделы каталога запчастей на этот двигатель

назад Раздел:   вперёд

вернуться к списку узлов и деталей

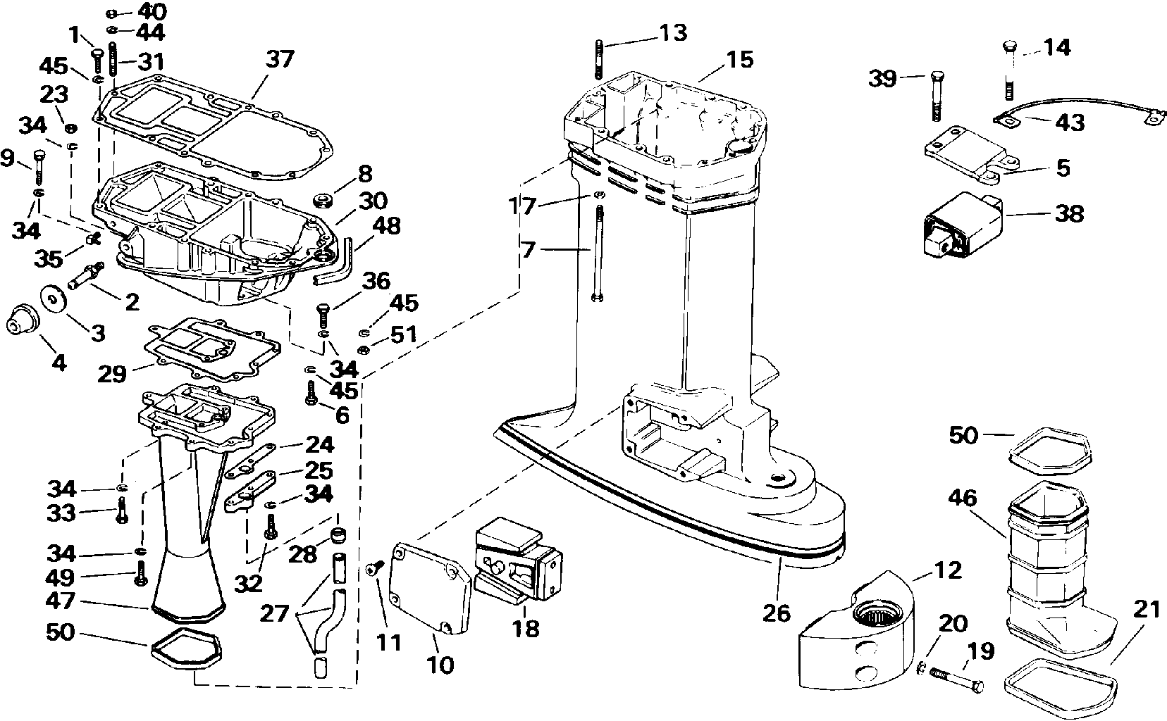
ДЕТАЛИРОВКА ДЛЯ МОДЕЛИ: EVINRUDE VE120TXEIE 1991

УДЛИНИТЕЛЬ КОРПУСА | EXHAUST HOUSING;


Лодочный подвесной мотор EVINRUDE VE120TXEIE 1991  - haust Housing

Номер на
рисунке
АртикулНаименованиеКол-во
на складе
Цена
1 0306427

Винт, Картер двигателя to adapter (SCREW, Crankcase to adapter)

нет в наличии, поставок нет
2 0329743

Шпилька, Крышка Крепление (STUD, Cover mount)

нет в наличии, поставок нет
3 0329749

Шайба, Крепление (WASHER, Mount)

нет в наличии, поставок нет
3 0349556

   (последний код) WASHER

нет в наличии, поставок нет
4 0328584

Крепление, Крышка двигателя (капот) (MOUNT, Engine cover)

нет в наличии, поставок нет
4 0349557

   (последний код) MOUNT

нет в наличии, поставок нет
5 0330929

Пластина верхней опоры (PLATE, Upper mount)

нет в наличии, поставок нет
6 0302860

Винт, Adapter to powerhead (SCREW, Adapter to powerhead)

нет в наличии, поставок нет
7 0329161

Винт, Удлинитель корпуса (SCREW, Exhaust housing)

нет в наличии, поставок нет
8 0329748

Сальник, Переключающая тяга (SEAL, Shift rod)

нет в наличии, поставок нет
9 0303398

Винт, Adapter to outer hsg. (SCREW, Adapter to outer hsg.)

нет в наличии, поставок нет
9 0330119

   (последний код) SCREW

нет в наличии, поставок нет
10 0320864

Крышка, Монтажный кронштейн (левый)ower (COVER, Mount bracket lower)

нет в наличии, поставок нет
10 0338942

   (последний код) COVER,MOUNT-LOWER

нет в наличии, поставок нет
11 0322000

Винт, Крышка (SCREW, Cover)

нет в наличии, поставок нет
12 0336734

Монтажный кронштейн. 20 дюйм Transom Models Only (MOUNT BRACKET. 20 in. Transom Models Only)

нет в наличии, поставок нет
12 0340006

   (последний код) BRACKET,MOUN

нет в наличии, поставок нет
12 0335506

Монтажный кронштейн. 25 дюйм Transom Models Only (MOUNT BRACKET. 25 in. Transom Models Only)

нет в наличии, поставок нет
12 0338744

   (последний код) BRACKET,MOUNT

нет в наличии, поставок нет
13 0314956

Шпилька. Выхлоп hsg. (STUD. Exhaust hsg.)

нет в наличии, поставок нет
14 0330931

Винт, верхний Крепление (SCREW, Upper mount)

нет в наличии, поставок нет
14 0121250

   (последний код) SCREW

нет в наличии, поставок нет
15 0397861

Удлинитель корпуса. 20 дюйм Transom Models Only (EXHAUST HOUSING. 20 in. Transom Models Only)

нет в наличии, поставок нет
15 0435433

   (последний код) HSG&STUD AY,EXH

нет в наличии, поставок нет
15 0397862

Удлинитель корпуса. 25 дюйм Transom Models Only (EXHAUST HOUSING. 25 in. Transom Models Only)

нет в наличии, поставок нет
15 0435103

   (последний код) HOUSING&STUD AY

нет в наличии, поставок нет
17 0307708

Шайба, Удлинитель корпуса (WASHER, Exhaust housing)

нет в наличии, поставок нет
17 0302865

   (последний код) LOCKWASHER

нет в наличии, поставок нет
18 0434632

RUBBER Крепление нижнее (RUBBER MOUNT, Lower)

нет в наличии, поставок нет
18 0391710

   (последний код) RUBBER MOUNT

нет в наличии, поставок нет
19 0328078

Винт, Крепление (SCREW, Mount)

нет в наличии, поставок нет
19 0327052

   (последний код) SCREW

нет в наличии, поставок нет
21 0320961

Сальник, Редуктор to Внутренности машинки газ-реверс (SEAL, Gearcase to inner housing)

нет в наличии, поставок нет
23 0328742

Гайка, Adapter to outer hsg. (NUT, Adapter to outer hsg.)

нет в наличии, поставок нет
23 0308133

   (последний код) NUT

нет в наличии, поставок нет
24 0332999

Прокладка, Водяная трубка to megaphone (GASKET, Water tube to megaphone)

нет в наличии, поставок нет
25 0333000

ADAPTER, Водяная трубка to megaphone (ADAPTER, Water tube to megaphone)

нет в наличии, поставок нет
26 0211388

Наклейка, Выхлоп hsg., Ev. (DECAL, Exhaust hsg., Ev.)

нет в наличии, поставок нет
26 0336386

Наклейка, Выхлоп hsg., Jo. (DECAL, Exhaust hsg., Jo.)

нет в наличии, поставок нет
26 0333960

Наклейка, Выхлоп hsg., 125ESX (DECAL, Exhaust hsg., 125ESX)

нет в наличии, поставок нет
27 0321016

Водяная трубка. 20 дюйм Transom Models Only (WATER TUBE. 20 in. Transom Models Only)

нет в наличии, поставок нет
27 0346897

   (последний код) TUBE,WATER 20"

нет в наличии, поставок нет
27 0321015

Водяная трубка. 25 дюйм Transom Models Only (WATER TUBE. 25 in. Transom Models Only)

нет в наличии, поставок нет
27 0346898

   (последний код) TUBE,WATER 25"

нет в наличии, поставок нет
28 0305145

Пыльник водяной трубки (GROMMET, Water tube)

нет в наличии, поставок нет
29 0328655

Прокладка, Megaphone to adapter (GASKET, Megaphone to adapter)

нет в наличии, поставок нет
30 0398694

ADAPTER, Exh. hsg. (ADAPTER, Exh. hsg.)

нет в наличии, поставок нет
30 0434146

   (последний код) ADAPTOR&STUD AY

нет в наличии, поставок нет
31 0316813

Шпилька, Adapter (STUD, Adapter)

нет в наличии, поставок нет
32 0303459

Винт, Adapter to Внутренности машинки газ-реверс (SCREW, Adapter to inner housing)

нет в наличии, поставок нет
32 3852048

   (последний код) SCREW

нет в наличии, поставок нет
33 0306418

Винт, Megaphone to adapter (SCREW, Megaphone to adapter)

нет в наличии, поставок нет
34 0302290

LOCKШайба (LOCKWASHER)

нет в наличии, поставок нет
34 0338307

   (последний код) WASHER,LOCK

нет в наличии, поставок нет
35 0321886

ELBOW (ELBOW)

нет в наличии, поставок нет
35 0321686

   (последний код) ELBOW

нет в наличии, поставок нет
36 0306409

Винт, Adapter to Корпус, outer (SCREW, Adapter to housing, outer)

нет в наличии, поставок нет
37 0328590

Прокладка, Adapter to powerhead (GASKET, Adapter to powerhead)

нет в наличии, поставок нет
38 0395539

Монтажная резинка в сборе., верхний (RUBBER MOUNT ASSY., Upper)

нет в наличии, поставок нет
39 0330930

Винт, верхний Крепление (SCREW, Upper mount)

нет в наличии, поставок нет
39 0335021

   (последний код) SCREW 3/8-16

нет в наличии, поставок нет
40 0306422

Гайка, Картер двигателя to adapter (NUT, Crankcase to adapter)

нет в наличии, поставок нет
41 0335612

Винт, верхний Крепление (SCREW, Upper mount)

нет в наличии, поставок нет
41 0328692

   (последний код) SCREW

нет в наличии, поставок нет
42 0313169

LOCKШайба, Картер двигателя to adapter (LOCKWASHER, Crankcase to adapter)

нет в наличии, поставок нет
43 0584262

LEAD в сборе., Заземление (LEAD ASSY., Ground)

нет в наличии, поставок нет
44 0306470

LOCKШайба, Картер двигателя to adapter (LOCKWASHER, Crankcase to adapter)

нет в наличии, поставок нет
44 3852061

   (последний код) LOCKWASHER

нет в наличии, поставок нет
45 0306470

Шайба, Powerhead to adapter (WASHER, Powerhead to adapter)

нет в наличии, поставок нет
45 3852061

   (последний код) LOCKWASHER

нет в наличии, поставок нет
46 0327796

Удлинитель корпуса, Inner нижний 20 дюйм Transom Models Only (EXHAUST HOUSING, Inner lower. 20 in. Transom Models Only)

нет в наличии, поставок нет
46 0320838

   (последний код) HH-EXH-HSG-I

нет в наличии, поставок нет
46 0327797

Удлинитель корпуса, Inner нижний 25 дюйм Transom Models Only (EXHAUST HOUSING, Inner lower. 25 in. Transom Models Only)

нет в наличии, поставок нет
46 0320839

   (последний код) EXH-HSG-INR

нет в наличии, поставок нет
47 0336267

TUNING MEGAPHONE (TUNING MEGAPHONE)

нет в наличии, поставок нет
47 0333747

   (последний код) MEGAPHONE

нет в наличии, поставок нет
48 0333434

Сальник, Крышка to adapter (SEAL, Cover to adapter)

нет в наличии, поставок нет
48 0328589

   (последний код) SEAL

нет в наличии, поставок нет
49 0302030

Винт, Megaphone, center (SCREW, Megaphone, center)

нет в наличии, поставок нет
49 0303398

   (последний код) SCREW

нет в наличии, поставок нет
50 0320936

Сальник, Удлинитель корпуса (SEAL, Exhaust housing)

нет в наличии, поставок нет
51 0306422

Гайка, Powerhead to adapter (NUT, Powerhead to adapter)

нет в наличии, поставок нет
evinrude

Время выполнения запроса 3.2166748046875 сек.


 
 

данный сайт носит информационный характер и не является публичной офертой

склад запчастей для водомоторной техники