вконтакте

Контактный телефон: +7 (981) 121-46-93, +7 (800) 200-90-76 , Email: parts-katalog@yandex.ru, где купить

 
 

  Логин:

Пароль:

Регистрация

www.partskatalog.ru Все каталоги Запчасти Mercury Запчасти Suzuki Запчасти Tohatsu Запчасти Honda Контакты


Все разделы каталога запчастей на этот двигатель

назад Раздел:   вперёд

вернуться к списку узлов и деталей

ДЕТАЛИРОВКА ДЛЯ МОДЕЛИ: EVINRUDE E50JEIA 1991

КРЫШКА ДВИГАТЕЛЯ (КАПОТ) - JOHNSON 25-40 | ENGINE COVER - JOHNSON 25-40;


 EVINRUDE E50JEIA 1991  - Johnson 25-40 / Johnson 25-40

Номер на
рисунке
АртикулНаименованиеКол-во
на складе
Цена
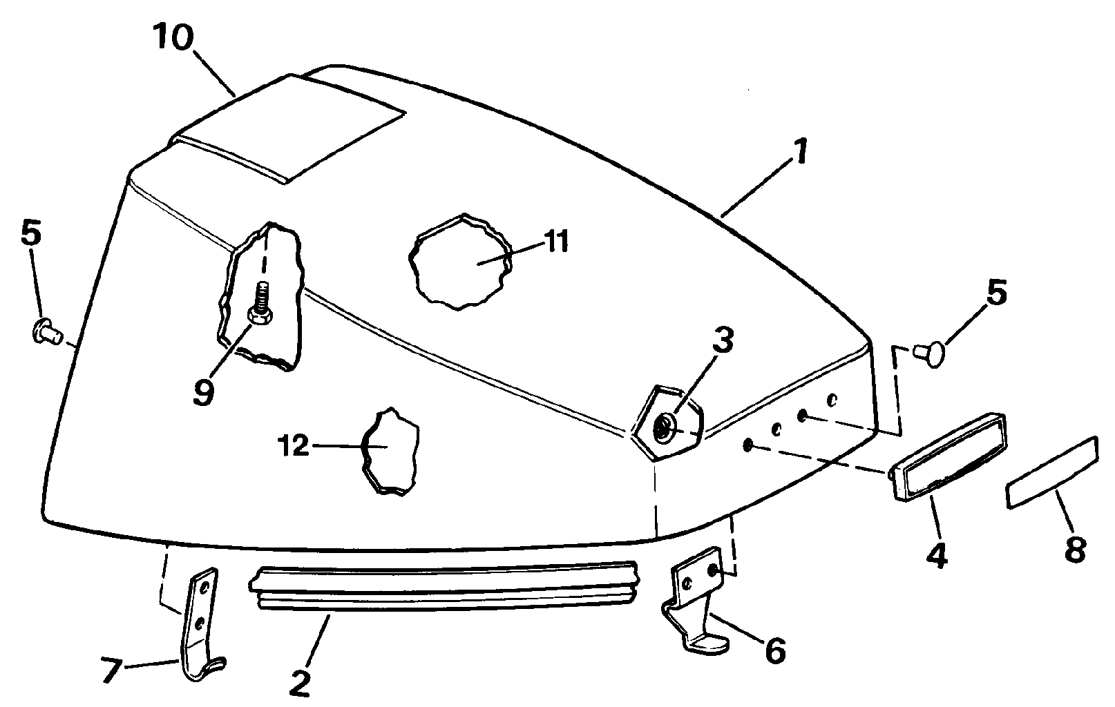
1 0433964

Крышка двигателя (капот) в сборе.. 40EC - 40EL - 40TL 40TEC - 40TEL - 40TTL (ENGINE COVER ASSY.. 40EC - 40EL - 40TL 40TEC - 40TEL - 40TTL)

нет в наличии, поставок нет
1 0434556

Крышка двигателя (капот) в сборе.. TJ40EL (ENGINE COVER ASSY.. TJ40EL)

нет в наличии, поставок нет
1 5000736

   (последний код) COVER AY,MOTOR-

нет в наличии, поставок нет
2 0334432

Бампер, Locating Кронштейн (BUMPER, Locating bracket)

нет в наличии, поставок нет
4 0333939

LOCATING Кронштейн, Rear (LOCATING BRACKET, Rear)

нет в наличии, поставок нет
5 0333938

LOCATING Кронштейн, Front (LOCATING BRACKET, Front)

нет в наличии, поставок нет
6 0326948

Заклёпка, Locating Кронштейн (RIVET, Locating bracket)

нет в наличии, поставок нет
6 0331881

   (последний код) RIVET

нет в наличии, поставок нет
7 0336069

Пластина, Rear. 40EC - 40EL - 40TL 40TEC - 40TEL - 40TTL (PLATE, Rear. 40EC - 40EL - 40TL 40TEC - 40TEL - 40TTL)

нет в наличии, поставок нет
7 0336667

Пластина, Rear. TJ40EL (PLATE, Rear. TJ40EL)

нет в наличии, поставок нет
8 0336076

Рама, Front. 40EC - 40EL - 40TL 40TEC - 40TEL - 40TTL (FRAME, Front. 40EC - 40EL - 40TL 40TEC - 40TEL - 40TTL)

нет в наличии, поставок нет
8 0335033

Рама, Front. TJ40EL (FRAME, Front. TJ40EL)

нет в наличии, поставок нет
9 0206681

SOUND BLANKET, Top (SOUND BLANKET, Top)

нет в наличии, поставок нет
9 0341531

   (последний код) BLANKET,SOUND

нет в наличии, поставок нет
10 0305284

Винт, Крючок to Кронштейн (SCREW, Hook to bracket)

нет в наличии, поставок нет
10 0908158

   (последний код) SCREW

нет в наличии, поставок нет
11 0323176

Крючок, Кронштейн (Hook, Bracket)

нет в наличии, поставок нет
11 0315191

   (последний код) HOOK

нет в наличии, поставок нет
12 0317223

Защелка, Applique (FASTENER, Applique)

нет в наличии, поставок нет
13 0206682

SOUND BLANKET, Side (SOUND BLANKET, Side)

нет в наличии, поставок нет
13 0341532

   (последний код) BLANKET,SOUND

нет в наличии, поставок нет
14 0323228

Винт, Рукоятка наклона, rear (SCREW, Tilt handle, rear)

нет в наличии, поставок нет
15 0208181

Рукоятка наклона (TILT HANDLE)

нет в наличии, поставок нет
16 0210296

BAFFLE, Рукоятка наклона (BAFFLE, Tilt handle)

нет в наличии, поставок нет
17 0313079

Шайба, Крючок to Кронштейн (WASHER, Hook to bracket)

нет в наличии, поставок нет
18 0211111

Резинка капота двигателя (SEAL, Engine cover)

нет в наличии, поставок нет
19 0323229

Винт, Рукоятка наклона, front (SCREW, Tilt handle, front)

нет в наличии, поставок нет
20 0336070

Пластина, Applique. 40EC - 40EL - 40TL 40TEC - 40TEL - 40TTL (PLATE, Applique. 40EC - 40EL - 40TL 40TEC - 40TEL - 40TTL)

нет в наличии, поставок нет
20 0335755

Пластина, Applique. TJ40EL (PLATE, Applique. TJ40EL)

нет в наличии, поставок нет
21 0336077

Рама, Rear. 40EC - 40EL - 40TL 40TEC - 40TEL - 40TTL (FRAME, Rear. 40EC - 40EL - 40TL 40TEC - 40TEL - 40TTL)

нет в наличии, поставок нет
21 0335042

Рама, Rear. TJ40EL (FRAME, Rear. TJ40EL)

нет в наличии, поставок нет
22 0378347

Шнур стартера (STARTER ROPE)

нет в наличии, поставок нет
23 0435312

Комплект наклеек. 40EC - 40EL - 40TL 40TEC - 40TEL - 40TTL (DECAL SET. 40EC - 40EL - 40TL 40TEC - 40TEL - 40TTL)

нет в наличии, поставок нет
23 0435313

Комплект наклеек. TJ40EL (DECAL SET. TJ40EL)

нет в наличии, поставок нет
24 0434375

OWNERS ручной. 40TEC - 40TEL - 40TTL 4-Language Ownerft.s ручной (English, French, Spanish & Portuguese) (OWNERS MANUAL. 40TEC - 40TEL - 40TTL 4-Language Ownerft.s Manual (English, French, Spanish & Portuguese))

нет в наличии, поставок нет
24 0434394

OWNERS ручной. 40EC - 40EL - 40TL TJ40EL 4-Language Ownerft.s ручной (English, French, Spanish & Portuguese) (OWNERS MANUAL. 40EC - 40EL - 40TL TJ40EL 4-Language Ownerft.s Manual (English, French, Spanish & Portuguese))

нет в наличии, поставок нет
24 8011905

   (последний код) OM40/50EL434394

нет в наличии, поставок нет
24 0434393

OWNERS ручной. 40EC - 40EL - 40TL 7-Language Ownerft.s ручной (German, Italian, Dutch, Swedish, Finnish, Danish & Norwegian) (OWNERS MANUAL. 40EC - 40EL - 40TL 7-Language Ownerft.s Manual (German, Italian, Dutch, Swedish, Finnish, Danish & Norwegian))

нет в наличии, поставок нет
24 8011906

   (последний код) OM40/50EL434393

нет в наличии, поставок нет
24 0434448

OWNERS ручной. 40TTL English Only Ownerft.s ручной (OWNERS MANUAL. 40TTL English Only Ownerft.s Manual)

нет в наличии, поставок нет
24 0434379

OWNERS ручной. 40TEC - 40TEL - 40TTL 7-Language Ownerft.s ручной (German, Italian, Dutch, Swedish, Finnish, Danish & Norwegian) (OWNERS MANUAL. 40TEC - 40TEL - 40TTL 7-Language Ownerft.s Manual (German, Italian, Dutch, Swedish, Finnish, Danish & Norwegian))

нет в наличии, поставок нет
24 8011904

   (последний код) OM40/50RP434379

нет в наличии, поставок нет
evinrude

Время выполнения запроса 1.6284508705139 сек.


 
 

данный сайт носит информационный характер и не является публичной офертой

склад запчастей для водомоторной техники