вконтакте

Контактный телефон: +7 (981) 121-46-93, +7 (800) 200-90-76 , Email: parts-katalog@yandex.ru, где купить

 
 

  Логин:

Пароль:

Регистрация

www.partskatalog.ru Все каталоги Запчасти Mercury Запчасти Suzuki Запчасти Tohatsu Запчасти Honda Контакты



УВАЖАЕМЫЕ КЛИЕНТЫ!
C 31 ОКТЯБРЯ 2025 ПО 10 НОЯБРЯ 2025 ГОДА РАБОТАТЬ НЕ БУДЕМ




Все разделы каталога запчастей на этот двигатель

назад Раздел:   вперёд

вернуться к списку узлов и деталей

ДЕТАЛИРОВКА ДЛЯ МОДЕЛИ: EVINRUDE E300CXESB 1990

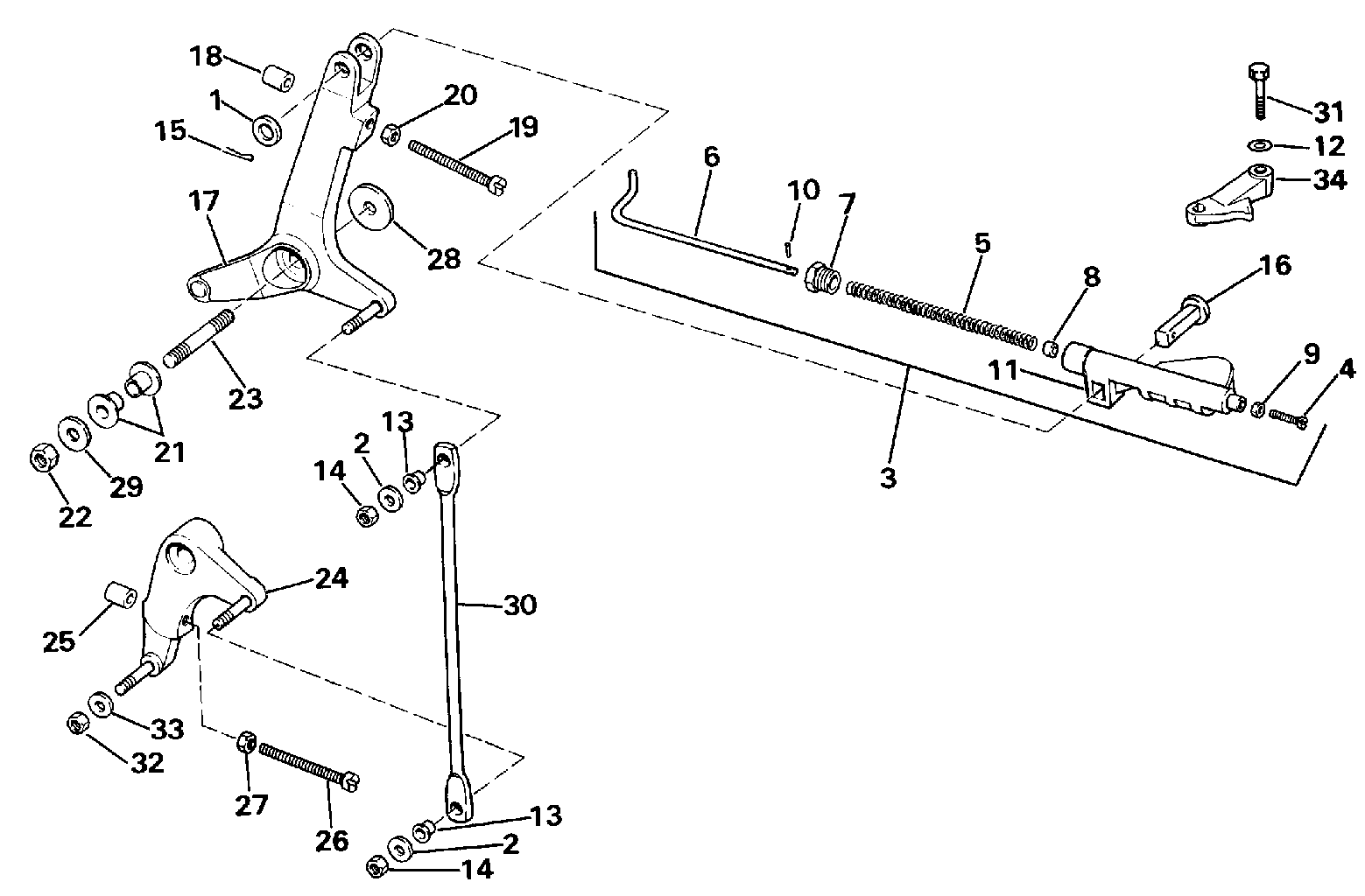
СОЕДИНИТЕЛЬ ДРОССЕЛЯAGE | THROTTLE LINKAGE;


Лодочный подвесной мотор Evinrude E300CXESB 1990  - rottle Linkage - rottle Подъемный механизм

Номер на
рисунке
АртикулНаименованиеКол-во
на складе
Цена
1 0330995

Шайба, Соединитель (WASHER, Link)

нет в наличии, поставок нет
1 0308371

   (последний код) WASHER

нет в наличии, поставок нет
2 0328737

Шайба, Соединитель (WASHER, Link)

нет в наличии, поставок нет
2 0306561

   (последний код) WASHER

нет в наличии, поставок нет
3 0396667

Соединитель в сборе., Spark advance (LINK ASSY., Spark advance)

нет в наличии, поставок нет
3 0393569

   (последний код) LINK-AY

нет в наличии, поставок нет
4 0331879

Винт (SCREW)

нет в наличии, поставок нет
5 0326738

Пружина (SPRING)

нет в наличии, поставок нет
6 0331863

Тяга (ROD)

нет в наличии, поставок нет
6 0328632

   (последний код) ROD

нет в наличии, поставок нет
7 0331864

Колпачок (CAP)

нет в наличии, поставок нет
7 0328634

   (последний код) CAP

нет в наличии, поставок нет
8 0328635

Втулка (BUSHING)

нет в наличии, поставок нет
9 0328712

Гайка (NUT)

нет в наличии, поставок нет
9 3852185

   (последний код) NUT

нет в наличии, поставок нет
10 0329770

Штифт, Тяга (PIN, Rod)

нет в наличии, поставок нет
11 0331862

Корпус, Пружина (HOUSING, Spring)

нет в наличии, поставок нет
11 0328631

   (последний код) HOUSING

нет в наличии, поставок нет
12 0303913

Шайба, Кулачок дросселя (WASHER, Throttle cam)

нет в наличии, поставок нет
13 0318590

Втулка, Соединитель to Дроссель (BUSHING, Link to throttle)

нет в наличии, поставок нет
14 0328064

Гайка, Соединитель to Рычаг дросселя (NUT, Link to throttle lever)

нет в наличии, поставок нет
14 0554477

   (последний код) NUT

нет в наличии, поставок нет
15 0330145

Шплинт, Рычаг to Соединитель (COTTER PIN, Lever to link)

нет в наличии, поставок нет
16 0328636

Штифт, Advance Соединитель (PIN, Advance link)

нет в наличии, поставок нет
17 0396714

Рычаг дросселя, верхний (THROTTLE LEVER, Upper)

нет в наличии, поставок нет
17 0394592

   (последний код) LEVER,THROTTLE

нет в наличии, поставок нет
18 0318660

Колпачок (CAP)

нет в наличии, поставок нет
19 0333976

Винт (SCREW)

нет в наличии, поставок нет
20 0328741

Гайка (NUT)

нет в наличии, поставок нет
20 0304753

   (последний код) NUT

нет в наличии, поставок нет
21 0308532

Втулка рычага дросселя (BUSHING, Throttle lever)

нет в наличии, поставок нет
21 0122475

   (последний код) BUSHING

нет в наличии, поставок нет
22 0315077

LOCKГайка, Рычаг дросселя (LOCKNUT, Throttle lever)

нет в наличии, поставок нет
22 3852132

   (последний код) NUT,LOCK

нет в наличии, поставок нет
23 0320808

Шпилька, Рычаг дросселя (STUD, Throttle lever)

нет в наличии, поставок нет
23 0338653

   (последний код) STUD

нет в наличии, поставок нет
24 0394593

Рычаг дросселя, нижний (THROTTLE LEVER, Lower)

нет в наличии, поставок нет
25 0318660

Колпачок (CAP)

нет в наличии, поставок нет
26 0333976

Винт (SCREW)

нет в наличии, поставок нет
27 0328741

Гайка (NUT)

нет в наличии, поставок нет
27 0304753

   (последний код) NUT

нет в наличии, поставок нет
28 0320744

Шайба, Шпилька. (WASHER, Stud.)

нет в наличии, поставок нет
28 0306124

   (последний код) WASHER

нет в наличии, поставок нет
29 0330266

Шайба, Рычаг дросселя (WASHER, Throttle lever)

нет в наличии, поставок нет
29 3852200

   (последний код) WASHER

нет в наличии, поставок нет
30 0329994

Тяга дросселя Рычаг (LINK, Throttle lever)

нет в наличии, поставок нет
31 0332353

Винт дросселя cam (SCREW, Throttle cam)

нет в наличии, поставок нет
31 0347338

   (последний код) SCREW,SHOULDER

нет в наличии, поставок нет
32 0328064

Гайка, Рычаг дросселя & Переключатель (NUT, Throttle arm & shift)

нет в наличии, поставок нет
32 0554477

   (последний код) NUT

нет в наличии, поставок нет
33 0328737

Шайба, Рычаг дросселя & Переключатель (WASHER, Throttle arm & shift)

нет в наличии, поставок нет
33 0306561

   (последний код) WASHER

нет в наличии, поставок нет
34 0333094

Кулачок дросселя (THROTTLE CAM)

нет в наличии, поставок нет
evinrude

Время выполнения запроса 2.5524439811707 сек.


 
 

данный сайт носит информационный характер и не является публичной офертой

склад запчастей для водомоторной техники