| |
Выбрать другую модель
вернуться к списку узлов и деталей ДЕТАЛИРОВКА ДЛЯ МОДЕЛИ: BRP ATV Mini DS 50 2-strokes, 2006
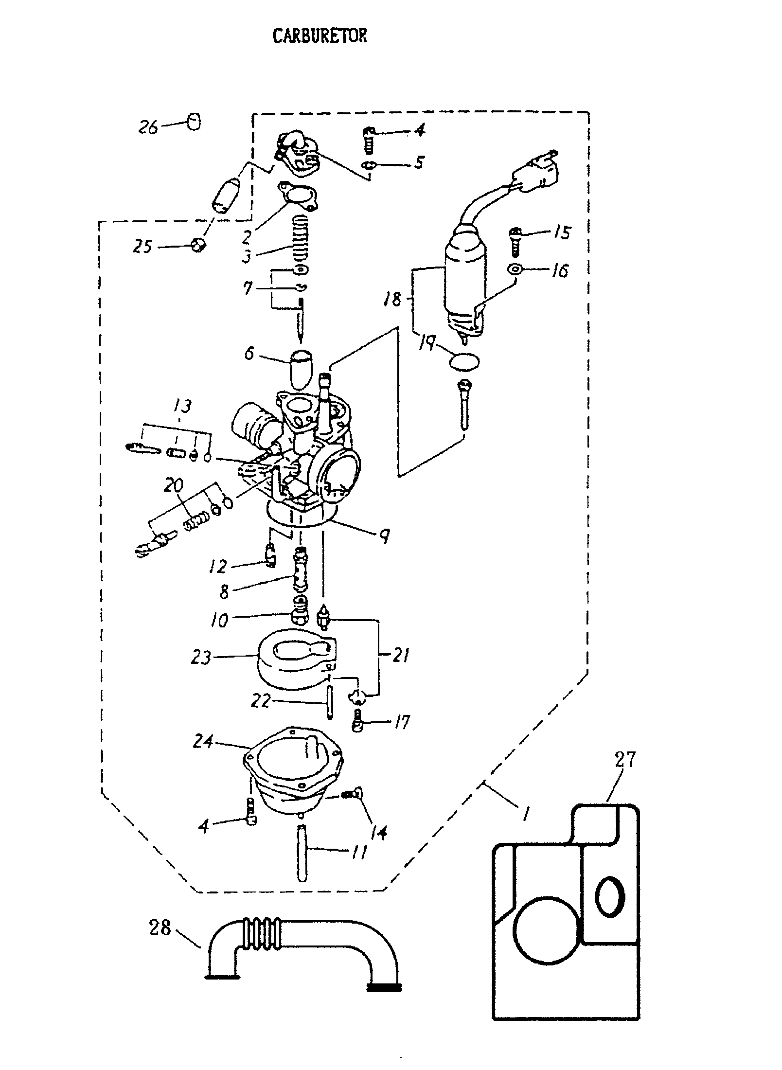
Раздел: Карбюратор | Carburetor
Номер на рисунке | Артикул | Наименование | Кол-во на складе | Цена |
| 1 | A1610011600A | Карбюратор в сборе (Carburetor Assy) | под заказ | по запросу | |
| 2 | A16101116000 | Прокладка карбюратора (Carburetor Gasket) | под заказ | 720 руб. | |
| 3 | A16102116000 | Пружина клапана дросселя (Throttle Valve Spring) | под заказ | 720 руб. | |
| 4 | A9350004014 | Pan Phillips Болт M4 x 14 (Pan Phillips Bolt M4 x 14) | под заказ | 430 руб. | |
| 5 | A941110407010 | Пружинная шайба (Spring Washer) | под заказ | 270 руб. | |
| 6 | A16103116000 | Клапан дросселя (Throttle Valve) | под заказ | 2300 руб. | |
| 7 | A16104116000 | иголка Set (Needle Set) | под заказ | 1440 руб. | |
| 8 | A16105116000 | иголка Nozzle (Needle Nozzle) | под заказ | 1290 руб. | |
| 9 | A16106116000 | Поплавковая камера Сальник (Float Chamber Seal) | под заказ | 1230 руб. | |
| 10 | A16108116000 | Главная форсунка (75) (Main Nozzle (75)) | под заказ | 1150 руб. | |
| 11 | A16109116000 | Over Flow Трубка (Over Flow Tube) | под заказ | 410 руб. | |
| 12 | A16110116000 | Pilot Jet (Pilot Jet) | под заказ | 1210 руб. | |
| 13 | A16115116000 | Air Adjust Набор винтов (Air Adjust Screw Set) | под заказ | 1000 руб. | |
| 14 | A16111116000 | Drain Заглушка (Drain Plug) | под заказ | 430 руб. | |
| 15 | A9350004008 | Pan Head Phillips Болт M4 x 8 (Pan Head Phillips Bolt M4 x 8) | под заказ | по запросу | |
| 16 | A941110406510 | Пружинная шайба (Spring Washer) | под заказ | 190 руб. | |
| 17 | A9350003008 | Pan Phillips Болт M3 x 6 (Pan Phillips Bolt M3 x 6) | под заказ | 280 руб. | |
| 18 | A17215116000 | Плунжер Стартер (Plunger Starter) | под заказ | 13560 руб. | |
| 19 | A91314116000 | Oil Кольцо (Oil Ring) | под заказ | 1000 руб. | |
| 20 | A16114116000 | Дроссель Набор винтов (Throttle Screw Set) | под заказ | 1000 руб. | |
| 21 | A1611711600A | Игольчатый клапан в сборе (Needle Valve Assy) | под заказ | 3180 руб. | |
| 22 | A16119116000 | Поплавок Штифт (Float Pin) | под заказ | 400 руб. | |
| 23 | A16118116000 | Поплавок (Float) | под заказ | 2150 руб. | |
| 24 | A16107116000 | Поплавковая камера (Float Chamber) | под заказ | 3300 руб. | |
| 25 | A16113116000 | Кабели Регулировочная гайка (Cable Adjust Nut) | под заказ | 430 руб. | |
| 26 | A42615145001 | Purge Hole Заглушка (Purge Hole Plug) | под заказ | 580 руб. | |
| 27 | A16140116000 | Carburator Колпак (Carburator Shroud) | под заказ | 1150 руб. | |
| 28 | A11211145000 | Трубка Сапун (Tube Breather) | под заказ | 1150 руб. | |

Время выполнения запроса 3.4142949581146 сек.
|
|