вконтакте

Контактный телефон: +7 (981) 121-46-93, +7 (800) 200-90-76 , Email: parts-katalog@yandex.ru, где купить

 
 

  Логин:

Пароль:

Регистрация

www.partskatalog.ru Все каталоги Запчасти Mercury Запчасти Suzuki Запчасти Tohatsu Запчасти Honda Контакты



УВАЖАЕМЫЕ КЛИЕНТЫ!
C 19 ДЕКАБРЯ 2025 ПО 02 МАРТА 2026 ГОДА ОТДЕЛ ЗАПЧАСТЕЙ И СЕРВИС РАБОТАТЬ НЕ БУДУТ
ПРОДАЖА ЛОДОЧНЫХ МОТОРОВ В ШТАТНОМ РЕЖИМЕ
ОБ ИЗМЕНЕНИЯХ В ГРАФИКЕ РАБОТЫ ЧИТАЙТЕ НА САЙТА




Все разделы каталога запчастей на этот двигатель

назад Раздел:   вперёд

вернуться к списку узлов и деталей

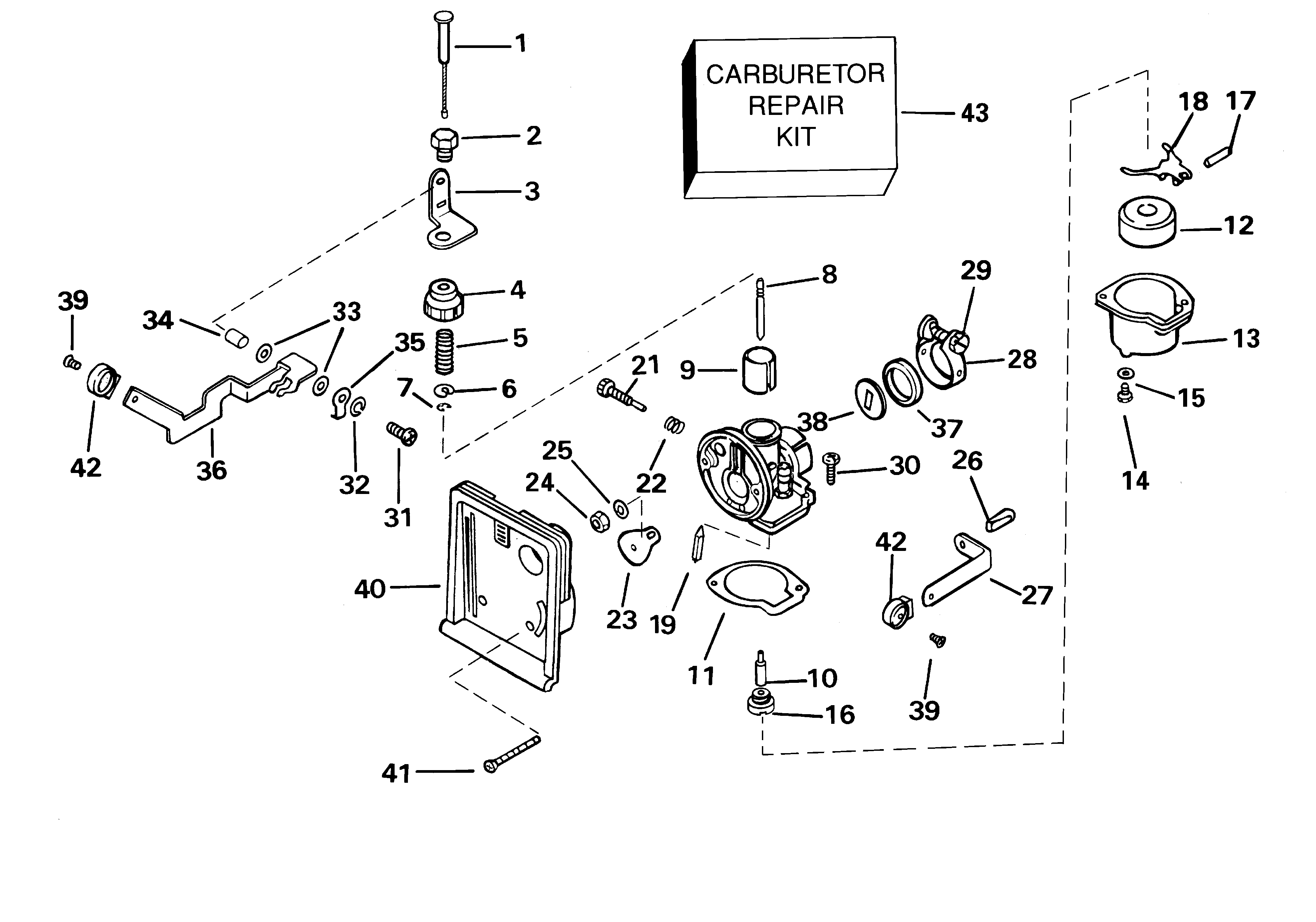
ДЕТАЛИРОВКА ДЛЯ МОДЕЛИ: EVINRUDE E2WRSIR Commercial, Rope Start, Tiller,

КАРБЮРАТОР | CARBURETOR;


Подвесной двигатель Evinrude E2WRSIR Commercial, Rope Start, Tiller,   - rburetor

Номер на
рисунке
АртикулНаименованиеКол-во
на складе
Цена
0114890

Карбюратор в сборе., 2R. (Not Shown.) (CARBURETOR ASSY., 2R. (Not Shown.))

нет в наличии, поставок нет
0114806

   (последний код) CARBURETOR AY

нет в наличии, поставок нет
0114808

Карбюратор в сборе, 3R. (Not Shown.) (CARBURETOR ASSY, 3R. (Not Shown.))

нет в наличии, поставок нет
5005713

   (последний код) CARBURETOR AY

нет в наличии, поставок нет
1 0115559

*Тросик дросселя в сборе.. (Contents of Ремкомплект карбюратора.) (THROTTLE WIRE ASSY.. (Contents of Carburetor Repair Kit.))

нет в наличии, поставок нет
2 0115560

*Винт дросселя Рычаг Держатель (SCREW, Throttle lever holder)

нет в наличии, поставок нет
3 0115561

*Держатель рычага дросселя (HOLDER, Throttle lever)

нет в наличии, поставок нет
4 0115562

*Колпачок, Карбюратор Корпус (CAP, Carburetor body)

нет в наличии, поставок нет
5 0115563

*Пружина клапана дросселя. (Contents of Ремкомплект карбюратора.) (SPRING, Throttle valve. (Contents of Carburetor Repair Kit.))

нет в наличии, поставок нет
6 0115564

*Пружина, Receiver. (Contents of Ремкомплект карбюратора.) (SPRING, Receiver. (Contents of Carburetor Repair Kit.))

нет в наличии, поставок нет
7 0115565

*Зажим, Игла жиклёра. (Contents of Ремкомплект карбюратора.) (CLIP, Jet needle. (Contents of Carburetor Repair Kit.))

нет в наличии, поставок нет
8 0115603

*Игла жиклёра (JET NEEDLE)

нет в наличии, поставок нет
9 0115567

*Клапан дросселя (THROTTLE VALVE)

нет в наличии, поставок нет
10 0115608

*Игла распылителя (NEEDLE JET)

нет в наличии, поставок нет
11 0115569

*Прокладка поплавковой камеры. (Contents of Ремкомплект карбюратора.) (GASKET, Float chamber. (Contents of Carburetor Repair Kit.))

нет в наличии, поставок нет
12 0115570

*Поплавок. (Contents of Ремкомплект карбюратора.) (FLOAT. (Contents of Carburetor Repair Kit.))

нет в наличии, поставок нет
13 0115571

*Поплавковая камера (FLOAT CHAMBER)

нет в наличии, поставок нет
14 0115572

*Дренажный винт. (Contents of Ремкомплект карбюратора.) (DRAIN SCREW. (Contents of Carburetor Repair Kit.))

нет в наличии, поставок нет
15 0115573

*Прокладка, Дренажный винт. (Contents of Ремкомплект карбюратора.) (GASKET, Drain screw. (Contents of Carburetor Repair Kit.))

нет в наличии, поставок нет
16 0115602

*Главный жиклёр (MAIN JET)

нет в наличии, поставок нет
17 0115575

*Стопор поплавка hinge. (Contents of Ремкомплект карбюратора.) (PIN, Float hinge. (Contents of Carburetor Repair Kit.))

нет в наличии, поставок нет
18 0115576

*Крепление поплавка. (Contents of Ремкомплект карбюратора.) (FLOAT HINGE. (Contents of Carburetor Repair Kit.))

нет в наличии, поставок нет
19 0114864

*Игольчатый клапан. (Contents of Ремкомплект карбюратора.) (NEEDLE VALVE. (Contents of Carburetor Repair Kit.))

нет в наличии, поставок нет
19 5007028

   (последний код) NEEDLE,SEAT&HINGE

1 шт7670 руб.
21 0115579

*Винт точной регулировки (SLOW STOP SCREW)

нет в наличии, поставок нет
22 0115580

*Пружина, Винт точной регулировки (SPRING, Slow stop screw)

нет в наличии, поставок нет
23 0115581

*Пластина воздушной заслонки (CHOKE PLATE)

нет в наличии, поставок нет
24 0115582

*Гайка, Пластина воздушной заслонки (NUT, Choke plate)

нет в наличии, поставок нет
25 0115583

*Шайба, Пластина воздушной заслонки (WASHER, Choke plate)

нет в наличии, поставок нет
26 0115584

*SHUTTER Винт (SHUTTER SCREW)

нет в наличии, поставок нет
27 0115585

*Рычаг задвижки (SHUTTER LEVER)

нет в наличии, поставок нет
28 0115586

*Ремешок, Карбюратор Корпус (BAND, Carburetor body)

нет в наличии, поставок нет
29 0115587

*Винт, Крепежный хомут корпуса карбюратора (SCREW, Carburetor body band)

нет в наличии, поставок нет
30 0115588

*Винт, Поплавковая камера (SCREW, Float chamber)

нет в наличии, поставок нет
31 0115589

*Винт дросселя Рычаг (SCREW, Throttle lever)

нет в наличии, поставок нет
32 0115590

*Шайба, Рычаг дросселя (WASHER, Throttle lever)

нет в наличии, поставок нет
33 0115591

*Прокладка, Рычаг дросселя (GASKET, Throttle lever)

нет в наличии, поставок нет
34 0115592

*Воротник, Рычаг дросселя (COLLAR, Throttle lever)

нет в наличии, поставок нет
35 0115593

*SвышеPORTER, Рычаг дросселя (SUPPORTER, Throttle lever)

нет в наличии, поставок нет
36 0115594

*Рычаг дросселя (THROTTLE LEVER)

нет в наличии, поставок нет
37 0115448

*Уплотнительное кольцо, Карбюратор Корпус. (Contents of Ремкомплект карбюратора.) (O-RING, Carburetor body. (Contents of Carburetor Repair Kit.))

нет в наличии, поставок нет
37 0115595

   (последний код) O-RING

нет в наличии, поставок нет
38 0115600

*RESTRICTION Пластина, 2R (RESTRICTION PLATE, 2R)

нет в наличии, поставок нет
39 0115210

Винт, Ручка, Карбюратор (SCREW, Knob, carburetor)

нет в наличии, поставок нет
40 0115155

AIR Глушитель & Наклейка в сборе. (AIR SILENCER & DECAL ASSY.)

нет в наличии, поставок нет
41 0115211

Воздушный винт Глушитель & panel (SCREW, Air silencer & panel)

нет в наличии, поставок нет
42 0115209

Ручка, Карбюратор (KNOB, carburetor)

нет в наличии, поставок нет
43 0114830

Ремкомплект карбюратора (CARBURETOR REPAIR KIT)

1 шт6770 руб.
43 5007029

   (последний код) KIT AY,CARB REPAIR

2 шт6770 руб.
evinrude

Время выполнения запроса 0.61992192268372 сек.


 
 

данный сайт носит информационный характер и не является публичной офертой

склад запчастей для водомоторной техники