вконтакте

Контактный телефон: +7 (981) 121-46-93, +7 (800) 200-90-76 , Email: parts-katalog@yandex.ru, где купить

 
 

  Логин:

Пароль:

Регистрация

www.partskatalog.ru Все каталоги Запчасти Mercury Запчасти Suzuki Запчасти Tohatsu Запчасти Honda Контакты



УВАЖАЕМЫЕ КЛИЕНТЫ!
C 31 ОКТЯБРЯ 2025 ПО 10 НОЯБРЯ 2025 ГОДА РАБОТАТЬ НЕ БУДЕМ




Все разделы каталога запчастей на этот двигатель

назад Раздел:  

вернуться к списку узлов и деталей

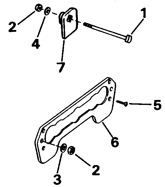
ДЕТАЛИРОВКА ДЛЯ МОДЕЛИ: EVINRUDE SE40RPT2 1998

TRANSOM КРЕПЛЕНИЕ KIT | TRANSOM MOUNT KIT;


 EVINRUDE SE40RPT2 1998  - ansom Крепление Kit / ansom Mount Kit

Номер на
рисунке
АртикулНаименованиеКол-во
на складе
Цена
0394219 0394219

TRANSOM Крепление KIT. Not Shown (TRANSOM MOUNT KIT. Not Shown)

нет в наличии, поставок нет
0394219 0384189

   (последний код) TRANSOM-MT

нет в наличии, поставок нет
1 0334427

Винт (SCREW)

нет в наличии, поставок нет
1 0318512

   (последний код) SCREW

нет в наличии, поставок нет
2 0310702

Гайка (NUT)

нет в наличии, поставок нет
3 0309192

Шайба (WASHER)

нет в наличии, поставок нет
3 3852083

   (последний код) WASHER,FLAT

нет в наличии, поставок нет
4 0315776

Шайба (WASHER)

нет в наличии, поставок нет
5 0303776

Винт (SCREW)

нет в наличии, поставок нет
6 0328594

Пластина (PLATE)

нет в наличии, поставок нет
6 0323539

   (последний код) TRANSOM PLATE

нет в наличии, поставок нет
7 0315774

PAD, Кронштейн (PAD, Bracket)

нет в наличии, поставок нет
evinrude

Время выполнения запроса 0.57316398620605 сек.


 
 

данный сайт носит информационный характер и не является публичной офертой

склад запчастей для водомоторной техники