вконтакте

Контактный телефон: +7 (981) 121-46-93, +7 (800) 200-90-76 , Email: parts-katalog@yandex.ru, где купить

 
 

  Логин:

Пароль:

Регистрация

www.partskatalog.ru Все каталоги Запчасти Mercury Запчасти Suzuki Запчасти Tohatsu Запчасти Honda Контакты



УВАЖАЕМЫЕ КЛИЕНТЫ!
C 19 ДЕКАБРЯ 2025 ПО 02 МАРТА 2026 ГОДА ОТДЕЛ ЗАПЧАСТЕЙ И СЕРВИС РАБОТАТЬ НЕ БУДУТ
ПРОДАЖА ЛОДОЧНЫХ МОТОРОВ В ШТАТНОМ РЕЖИМЕ
ОБ ИЗМЕНЕНИЯХ В ГРАФИКЕ РАБОТЫ ЧИТАЙТЕ НА САЙТА




Все разделы каталога запчастей на этот двигатель

назад Раздел:   вперёд

вернуться к списку узлов и деталей

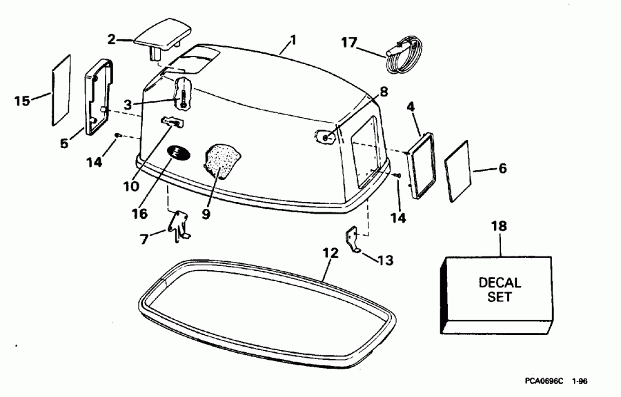
ДЕТАЛИРОВКА ДЛЯ МОДЕЛИ: EVINRUDE BE20SEEDA 1996

КРЫШКА ДВИГАТЕЛЯ (КАПОТ) - EVINRUDE | ENGINE COVER - EVINRUDE;


 EVINRUDE BE20SEEDA 1996  - Evinrude / Evinrude

Номер на
рисунке
АртикулНаименованиеКол-во
на складе
Цена
1 0284713

Крышка двигателя (капот) в сборе.. 20SE - 20SEL (ENGINE COVER ASSY.. 20SE - 20SEL)

нет в наличии, поставок нет
1 0285243

   (последний код) COVER AY,MOTOR-

нет в наличии, поставок нет
1 0284714

Крышка двигателя (капот) в сборе.. 25E - 25EL - 25ER - 25ERL (ENGINE COVER ASSY.. 25E - 25EL - 25ER - 25ERL)

нет в наличии, поставок нет
1 0285243

   (последний код) COVER AY,MOTOR-

нет в наличии, поставок нет
1 0284715

Крышка двигателя (капот) в сборе.. 30E - 30EL (ENGINE COVER ASSY.. 30E - 30EL)

нет в наличии, поставок нет
1 0285243

   (последний код) COVER AY,MOTOR-

нет в наличии, поставок нет
2 0322882

Рукоятка наклона (TILT HANDLE)

нет в наличии, поставок нет
3 0330823

Винт, Рукоятка наклона (SCREW, Tilt handle)

нет в наличии, поставок нет
3 0325838

   (последний код) SCREW

нет в наличии, поставок нет
4 0210965

Рама, Front (FRAME, Front)

нет в наличии, поставок нет
5 0210973

Рама, Rear (FRAME, Rear)

нет в наличии, поставок нет
6 0212709

Пластина, Рама, front, 20. 20SE - 20SEL (PLATE, Frame, front, 20. 20SE - 20SEL)

нет в наличии, поставок нет
6 0212711

Пластина, Рама, front, 25. 25E - 25EL - 25ER - 25ERL (PLATE, Frame, front, 25. 25E - 25EL - 25ER - 25ERL)

нет в наличии, поставок нет
6 0212719

   (последний код) PLATE

нет в наличии, поставок нет
6 0212713

Пластина, Рама, front, 30. 30E - 30EL (PLATE, Frame, front, 30. 30E - 30EL)

нет в наличии, поставок нет
7 0329635

Крючок капота двигателя, rear (HOOK, Engine cover, rear)

нет в наличии, поставок нет
7 0316171

   (последний код) ANCHOR BLOCK

нет в наличии, поставок нет
8 0317223

Гайка, Push-on (NUT, Push-on)

нет в наличии, поставок нет
9 0341523

SOUND BLANKET, Top (SOUND BLANKET, Top)

нет в наличии, поставок нет
9 0211273

   (последний код) SOUND-BLANKE

нет в наличии, поставок нет
9 0341525

SOUND BLANKET, Port (SOUND BLANKET, Port)

нет в наличии, поставок нет
9 0211275

   (последний код) SOUND-BLANKE

нет в наличии, поставок нет
9 0341524

SOUND BLANKET, Stbd. (SOUND BLANKET, Stbd.)

нет в наличии, поставок нет
9 0211274

   (последний код) SOUND-BLANKE

нет в наличии, поставок нет
9 0341526

SOUND BLANKET, Front (SOUND BLANKET, Front)

нет в наличии, поставок нет
9 0211276

   (последний код) SOUND-BLANKE

нет в наличии, поставок нет
10 0334528

Винт, Рама Креплениеing, rear (SCREW, Frame mounting, rear)

нет в наличии, поставок нет
12 0316225

Резинка капота двигателя (SEAL, Engine cover)

нет в наличии, поставок нет
12 0326487

   (последний код) SEAL

нет в наличии, поставок нет
13 0207482

Крючок капота двигателя, front (HOOK, Engine cover, front)

нет в наличии, поставок нет
13 0206656

   (последний код) HOOK

нет в наличии, поставок нет
14 0554355

Заклёпка (RIVET)

нет в наличии, поставок нет
14 0544355

   (последний код) RIVET

нет в наличии, поставок нет
15 0212710

Пластина, Рама, rear, 20. 20SE - 20SEL (PLATE, Frame, rear, 20. 20SE - 20SEL)

нет в наличии, поставок нет
15 0212712

Пластина, Рама, rear, 25. 25E - 25EL - 25ER - 25ERL (PLATE, Frame, rear, 25. 25E - 25EL - 25ER - 25ERL)

нет в наличии, поставок нет
15 0212720

   (последний код) PLATE

нет в наличии, поставок нет
15 0212714

Пластина, Рама, rear, 30. 30E - 30EL (PLATE, Frame, rear, 30. 30E - 30EL)

нет в наличии, поставок нет
16 0212497

LENS, Ev., port & stbd. (LENS, Ev., port & stbd.)

нет в наличии, поставок нет
16 0212687

   (последний код) LENS,EV-LOGO

нет в наличии, поставок нет
17 0378347

Шнур стартера (STARTER ROPE)

нет в наличии, поставок нет
18 0284824

Комплект наклеек (DECAL SET)

нет в наличии, поставок нет
evinrude

Время выполнения запроса 1.8126540184021 сек.


 
 

данный сайт носит информационный характер и не является публичной офертой

склад запчастей для водомоторной техники