вконтакте

Контактный телефон: +7 (981) 121-46-93, +7 (800) 200-90-76 , Email: parts-katalog@yandex.ru, где купить

 
 

  Логин:

Пароль:

Регистрация

www.partskatalog.ru Все каталоги Запчасти Mercury Запчасти Suzuki Запчасти Tohatsu Запчасти Honda Контакты



УВАЖАЕМЫЕ КЛИЕНТЫ!
C 19 ДЕКАБРЯ 2025 ПО 02 МАРТА 2026 ГОДА ОТДЕЛ ЗАПЧАСТЕЙ И СЕРВИС РАБОТАТЬ НЕ БУДУТ
ПРОДАЖА ЛОДОЧНЫХ МОТОРОВ В ШТАТНОМ РЕЖИМЕ
ОБ ИЗМЕНЕНИЯХ В ГРАФИКЕ РАБОТЫ ЧИТАЙТЕ НА САЙТА



назад Раздел:   вперёд

Модификация Вашего двигателя:   Honda BF40A4 LRTU
Модели с серийным номером двигателя от BAYE-3000001 до BAYE-
Модели с серийным номером рамы от BAYS-3400001 до BAYS-3499999

Вернуться к выбору узлов мотора

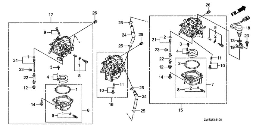
   Карбюратор components
Carburetor Components      


ДЕТАЛИРОВКА ДЛЯ МОДЕЛИ: HONDA BF40A4

Подвесной fourstroke мотор Honda BF40A4 - Карбюратор components / Carburetor Components
Номер на
рисунке
АртикулНаименованиеКол-во
на складе
Цена
116010-ZV4-005

Комплект прокладок (Gasket set)

10 шт2170 руб. 
216010-ZW4-H01

Комплект прокладок (Gasket set)

под заказ1860 руб. 
316011-ZV4-005

Клапан поплавка, набор (Valve set, float)

1 шт6940 руб. 
416013-ZW4-H01

Поплавок, набор (Float set)

под заказ7730 руб. 
516016-ZW3-H91

Набор винтов (Screw set)

под заказпо запросу 
516016-ZW3-G01

Набор винтов (Screw set)

под заказпо запросу 
616023-ZV3-000

Поплавковая камера, набор (Chamber set, float)

под заказ11100 руб. 
716023-ZW4-H01

Поплавковая камера, набор (Chamber set, float)

под заказ12150 руб. 
716023-ZV7-H01

Поплавковая камера, набор (Chamber set, float)

под заказ12150 руб. 
816024-ZV4-650

Дренажный винт, комплект (Screw set, drain)

под заказ2400 руб. 
916028-ZV3-000

Набор винтов (Screw set)

под заказ1590 руб. 
1016029-ZV3-000

Набор винтов (Screw set)

под заказ1510 руб. 
1116052-KG4-003

Пружина компрессионной катушки (Spring, compression coil)

под заказ830 руб. 
1216071-ZV4-005

Винт заглушки (Screw, plug)

3 шт970 руб. 
1316077-KG8-901

Уплотнительное кольцо стартера (O-ring, bystarter)

1 шт610 руб. 
1416081-ZV4-650

Винт с шайбой (Screw-washer)

под заказ380 руб. 
1516101-ZW3-G01

Карбюратор в сборе. (#1) (Carburetor assy. (#1))

под заказпо запросу 
1516101-ZW3-G02

Карбюратор в сборе. (#1) (Carburetor assy. (#1))

под заказпо запросу 
1516101-ZW3-G03

Карбюратор в сборе. (#1) (Carburetor assy. (#1))

под заказпо запросу 
1616102-ZW3-G01

Карбюратор в сборе. (#2) (Carburetor assy. (#2))

под заказпо запросу 
1616102-ZW3-G02

Карбюратор в сборе. (#2) (Carburetor assy. (#2))

под заказпо запросу 
1716103-ZW3-G01

Карбюратор в сборе. (#3) (Carburetor assy. (#3))

под заказпо запросу 
1716103-ZW3-G02

Карбюратор в сборе. (#3) (Carburetor assy. (#3))

под заказпо запросу 
1816130-ZW4-H01

ByСтартер в сборе., авто (Bystarter assy., auto)

под заказ11390 руб. 
1816130-ZW4-F01

ByСтартер в сборе., авто (Bystarter assy., auto)

под заказ11820 руб. 
1916131-ZW9-801

Установочная пластина (Plate, setting)

1 шт660 руб. 
2016132-ZW9-801

Винт с шайбой (Screw-washer)

1 шт270 руб. 
2116150-ZW3-H01

Форсунка, #42 (Jet set, #42)

под заказ5360 руб. 
2116150-ZW3-G01

Форсунка, #42 (Jet set, #42)

под заказпо запросу 
2216166-ZW3-G01

Главная форсунка (Nozzle, main)

под заказпо запросу 
2216166-ZW3-G02

Главная форсунка (Nozzle, main)

под заказпо запросу 
2399101-ZV5-1020

Главная форсунка, #102 (Jet, main, #102)

под заказ1080 руб. 
2416133-ZW4-H01

Трубка comp (Tube comp)

под заказ900 руб. 
2590604-ZV0-000

Зажим трубки (b12) (Clip, tube (b12))

под заказ150 руб. 

Время выполнения запроса 7.4769189357758 сек.

 
 

данный сайт носит информационный характер и не является публичной офертой

склад запчастей для водомоторной техники