вконтакте

Контактный телефон: +7 (981) 121-46-93, +7 (800) 200-90-76 , Email: parts-katalog@yandex.ru, где купить

 
 

  Логин:

Пароль:

Регистрация

www.partskatalog.ru Все каталоги Запчасти Mercury Запчасти Suzuki Запчасти Tohatsu Запчасти Honda Контакты



УВАЖАЕМЫЕ КЛИЕНТЫ!
C 19 ДЕКАБРЯ 2025 ПО 02 МАРТА 2026 ГОДА ОТДЕЛ ЗАПЧАСТЕЙ И СЕРВИС РАБОТАТЬ НЕ БУДУТ
ПРОДАЖА ЛОДОЧНЫХ МОТОРОВ В ШТАТНОМ РЕЖИМЕ
ОБ ИЗМЕНЕНИЯХ В ГРАФИКЕ РАБОТЫ ЧИТАЙТЕ НА САЙТА



назад Раздел:   вперёд

Модификация Вашего двигателя:   Honda BF75A2 LHTD
Модели с серийным номером двигателя от BBAE-2100001 до BBAE-9999999
Модели с серийным номером рамы от BBAL-4410001 до BBAL-4499999

Вернуться к выбору узлов мотора

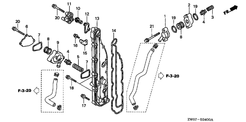
   Термостат
Thermostat      


ДЕТАЛИРОВКА ДЛЯ МОДЕЛИ: HONDA BF75A2

Подвесной четырёх тактный лодочный мотор Хонда BF75A2 - Термостат
Номер на
рисунке
АртикулНаименованиеКол-во
на складе
Цена
119277-ZW1-000ZA

Крышка сливного клапана *nh8 * (Cover, flush valve *nh8 *)

под заказпо запросу 
119277-ZW1-000

Крышка сливного клапана (Cover, flush valve)

под заказпо запросу 
219278-ZW1-000ZA

Прокладка, flush Клапан *nh8 * (Spacer, flush valve *nh8 *)

под заказпо запросу 
319279-ZW1-000

Пружина сливного клапана (Spring, flush valve)

под заказ520 руб. 
419291-ZW1-000

Сброс клапана (Valve, relief)

под заказ1340 руб. 
519292-ZW1-000

Пружина освобождения клапана (Spring, relief valve)

под заказ640 руб. 
619295-ZW1-000

Крышка предохранительного клапана (Cover, relief valve)

под заказпо запросу 
719296-ZW1-000

Прокладка крышки предохранительного клапана (Packing, relief valve cover)

под заказ810 руб. 
819297-ZW1-000

Прокладка, relief Клапан (Packing, relief valve)

под заказ910 руб. 
919298-ZW1-000ZA

Прокладка, relief Клапан *nh8 * (Spacer, relief valve *nh8 *)

под заказ18900 руб. 
1019300-ZV5-043

Термостат в сборе. (Thermostat assy.)

2 шт6920 руб. 
1119315-ZV5-010ZA

Крышка термостата *nh8 * (Cover, thermostat *nh8 *)

под заказ6200 руб. 
1119315-ZV5-010

Крышка термостата (Cover, thermostat)

под заказ6200 руб. 
1219351-ZV5-000

Прокладка крышки термостата (Gasket, thermostat cover)

6 шт350 руб. 
1319360-ZW1-000ZA

Крышка водяной рубашки *nh8 * (Cover comp., water jacket *nh8 *)

под заказ36310 руб. 
1419371-ZW1-000

Прокладка крышки водяной рубашки (Packing, water jacket cover)

под заказ4460 руб. 
1530526-ZW1-000

Остановка a, high tension cord Струбцина (Stay a, high tension cord clamp)

под заказпо запросу 
1690013-ZV0-010

Фланцевый болт, 6x12 (Bolt, flange, 6x12)

под заказ350 руб. 
1790121-ZV0-000

Фланцевый болт, 6x25 (Bolt, flange, 6x25)

под заказ380 руб. 
1790121-ZV0-010

(последний код) BOLT, FLANGE, 6X25

под заказ380 руб. 
1890123-ZV0-000

Фланцевый болт, 6x32 (Bolt, flange, 6x32)

под заказ420 руб. 
1890123-ZV0-010

Фланцевый болт, 6x32 (Bolt, flange, 6x32)

под заказ360 руб. 
1991356-SD4-952

Уплотнительное кольцо (O-ring)

6 шт330 руб. 
1991356-SD4-953

Уплотнительное кольцо (O-ring)

под заказ430 руб. 
2095701-060-400-2

Фланцевый болт, 6x40 (Bolt, flange, 6x40)

под заказ150 руб. 
2090145-ZW4-000

Фланцевый болт, 6x40 (Bolt, flange, 6x40)

под заказ290 руб. 
2195701-060-550-2

Фланцевый болт, 6x55 (Bolt, flange, 6x55)

под заказпо запросу 
2190147-ZW4-000

Фланцевый болт, 6x55 (Bolt, flange, 6x55)

под заказ250 руб. 

Время выполнения запроса 1.4768810272217 сек.

 
 

данный сайт носит информационный характер и не является публичной офертой

склад запчастей для водомоторной техники