вконтакте

Контактный телефон: +7 (981) 121-46-93, +7 (800) 200-90-76 , Email: parts-katalog@yandex.ru, где купить

 
 

  Логин:

Пароль:

Регистрация

www.partskatalog.ru Все каталоги Запчасти Mercury Запчасти Suzuki Запчасти Tohatsu Запчасти Honda Контакты



УВАЖАЕМЫЕ КЛИЕНТЫ!
C 19 ДЕКАБРЯ 2025 ПО 02 МАРТА 2026 ГОДА ОТДЕЛ ЗАПЧАСТЕЙ И СЕРВИС РАБОТАТЬ НЕ БУДУТ
ПРОДАЖА ЛОДОЧНЫХ МОТОРОВ В ШТАТНОМ РЕЖИМЕ
ОБ ИЗМЕНЕНИЯХ В ГРАФИКЕ РАБОТЫ ЧИТАЙТЕ НА САЙТА



назад Раздел:   вперёд

Модификация Вашего двигателя:   Honda BF60AK1 LRTU
Модели с серийным номером двигателя от BEBFJ-1000001 до BEBFJ-1999999
Модели с серийным номером рамы от BBFJ-1100001 до BBFJ-

Вернуться к выбору узлов мотора

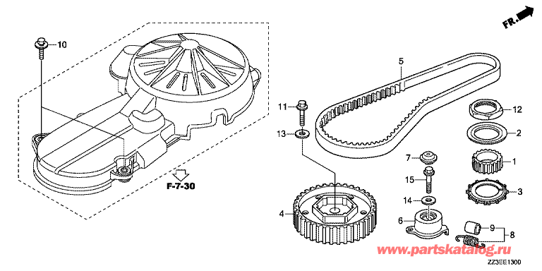
   E-13 Ремень распредвала
E-13 Belt Timing      


ДЕТАЛИРОВКА ДЛЯ МОДЕЛИ: HONDA BF60AK1

Подвесной  двигатель Хонда BF60AK1 - E-13 Ремень распредвала - E-13 Belt Timing
Номер на
рисунке
АртикулНаименованиеКол-во
на складе
Цена
113621-ZZ3-000

Шкив, ремень привода газораспределительного механизма (19t) (Pulley, Timing Belt Drive)

под заказ11630 руб. 
213622-ZZ3-000

Пластина, направляющ. ремня 0 распределительного вала (Пластина, Направляющ. Ремня 0 Распределительного Вала)

под заказ0 руб. 
313623-ZZ3-000

Пластина, кривошип генератор 0 (Пластина, Кривошип Генератор 0)

под заказ0 руб. 
414261-ZZ3-000

Шкив, ремень распредвала приводной (38t) (Pulley, Timing Belt Drive)

под заказ19190 руб. 
514400-ZZ3-004

Ремень привода грм (88ru22.5 e-660) (Belt, Timing (88Ru22.5 E-)

под заказ14490 руб. 
614510-ZZ3-013

Tensioner comp,t/ (Tensioner Comp,T/)

под заказ19040 руб. 
714515-ZY3-000

Колпачок, натяжитель зубчатого ремня 0 (Колпачок, Натяжитель Зубчатого Ремня 0)

под заказ1220 руб. 
814520-ZV5-020

Пружина в комп., регулировка ремня распредвала (Spring Comp., Timing Belt)

под заказ940 руб. 
914522-ZV5-000

Башмак пружины (Boot, Spring)

под заказ510 руб. 
1090013-ZW1-000

Болт-шайба 6x25 (Bolt-Washer, 6X25)

под заказ690 руб. 
1190190-S04-000

Болт, фланец, 12x38 (Bolt, Flange, 12X38)

под заказ1070 руб. 
1290202-ZZ3-000

Гайка, фиксатор, 42mm 0 (Гайка, Фиксатор, 42Mm 0)

под заказ0 руб. 
1390402-PC6-000

Шайба, 12.5x34x5 (Washer, 12.5X34X5)

под заказ640 руб. 
1494101-10800

Шайба, плоская, 10mm (Washer, Plain, 10Mm)

под заказ70 руб. 
1595701-10040-08

Болт, фланец, 10x40 (Bolt, Flange, 10X40)

под заказ210 руб. 

Время выполнения запроса 1.2523770332336 сек.

 
 

данный сайт носит информационный характер и не является публичной офертой

склад запчастей для водомоторной техники