|   | 
   
     
 Все разделы каталога запчастей на этот двигатель 
вернуться к списку узлов и деталей ДЕТАЛИРОВКА ДЛЯ МОДЕЛИ: EVINRUDE E175DCXAAC 
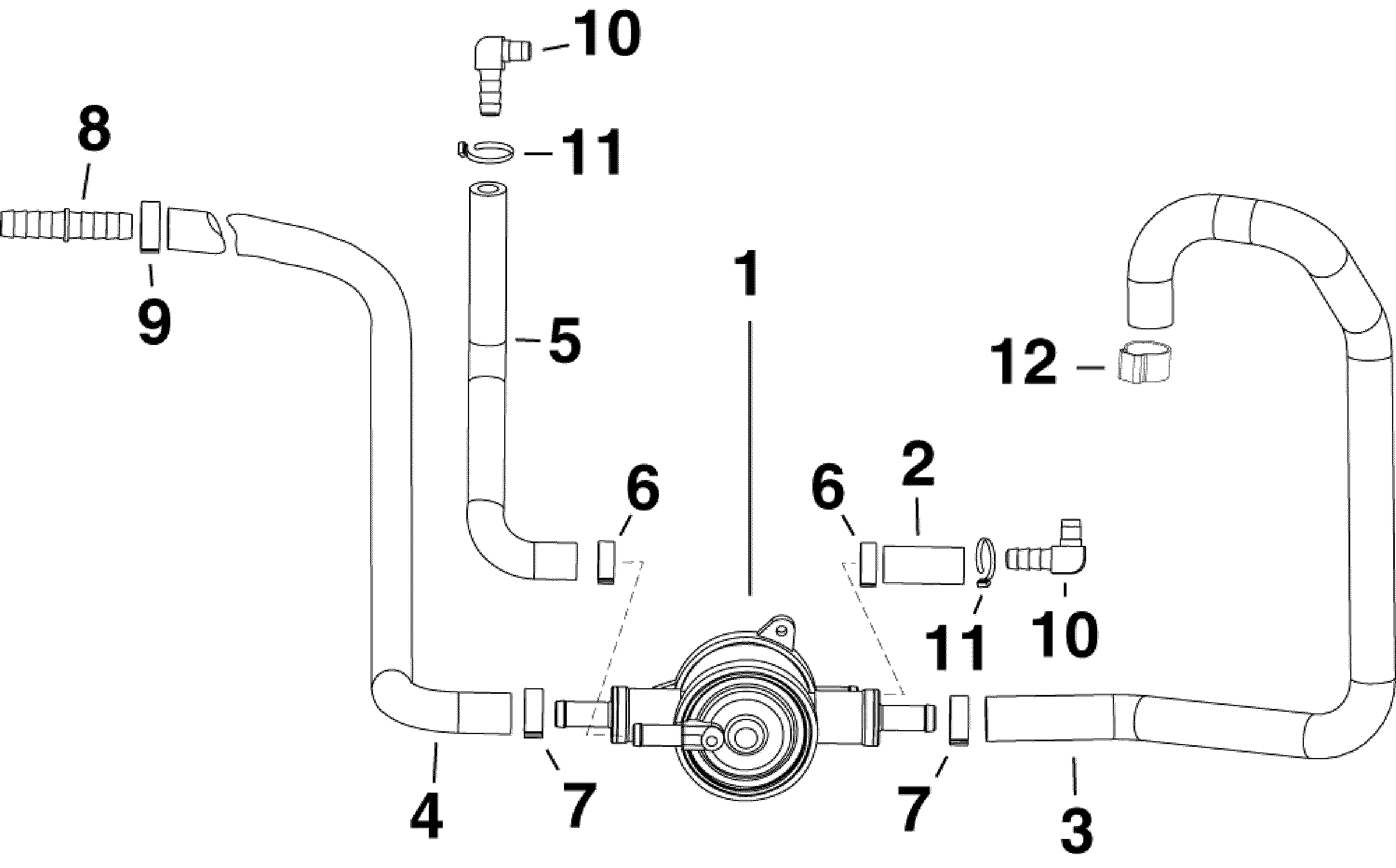
03-2 ЛИФТОВЫЙ ТОПЛИВНЫЙ НАСОС | 03-2 FUEL LIFT PUMP; 
 
 
 
 
Номер на   рисунке | Артикул | Наименование | Кол-во   на складе | Цена |  
|  1  | 5007727 | LIFT Помпа Assembly, Fuel (LIFT PUMP Assembly, Fuel)  | нет в наличии, поставок нет |  
|  2  | 0351939 | *Шланг, нижний  Картер двигателя pulse (HOSE, Lower crankcase pulse)  | нет в наличии, поставок нет |  
|  3  | 0352828 | *Шланг, Помпа to Фильтр (HOSE, Pump to filter)  | нет в наличии, поставок нет |  
|  4  | 0353033 | *Шланг, Коннектор to Помпа (HOSE, Connector to pump)  | нет в наличии, поставок нет |  
|  4  | 0351945 |    (последний код) HOSE                                                                              | нет в наличии, поставок нет |  
|  5  | 0772564 | *Шланг, верхний  Картер двигателя pulse. 5 / 16 дюйм (8 мм) diaПрибор, Bulk Шланг – 25 фут (7.62 m) (HOSE, Upper crankcase pulse. 5/16 in. (8 mm) diameter, Bulk Hose – 25 ft. (7.62 m))  | нет в наличии, поставок нет |  
|  5  | 0338138 |    (последний код) HOSE                                                                              | нет в наличии, поставок нет |  
|  6  | 0346786 | *Струбцина, 15.7 мм (CLAMP, 15.7mm)  | нет в наличии, поставок нет |  
|  7  | 0348839 | *Струбцина, 17 мм (CLAMP, 17mm)  | нет в наличии, поставок нет |  
|  8  | 0348939 | *Топливный коннектор вход (CONNECTOR, Fuel inlet)  | нет в наличии, поставок нет |  
|  9  | 0346150 | *Струбцина, 18.5 мм (CLAMP, 18.5mm)  | нет в наличии, поставок нет |  
|  10  | 0323372 | Ниппель, Топливный насос pulse to Картер двигателя (NIPPLE, Fuel pump pulse to crankcase)  | нет в наличии, поставок нет |  
|  11  | 0320107 | Крепёжный хомут (TIE STRAP)  | нет в наличии, поставок нет |  
|  11  | 5035626 |    (последний код) BAND,REM CON                                                                      | нет в наличии, поставок нет |  
|  12  | 0348839 | Струбцина, 17 мм - Топливный фильтр (CLAMP, 17mm - fuel filter)  | нет в наличии, поставок нет |  
 
 
 Время выполнения запроса 0.48069286346436 сек.     
    | 
     |