вконтакте

Контактный телефон: +7 (981) 121-46-93, +7 (800) 200-90-76 , Email: parts-katalog@yandex.ru, где купить

 
 

  Логин:

Пароль:

Регистрация

www.partskatalog.ru Все каталоги Запчасти Mercury Запчасти Suzuki Запчасти Tohatsu Запчасти Honda Контакты


Все разделы каталога запчастей на этот двигатель

назад Раздел:   вперёд

вернуться к списку узлов и деталей

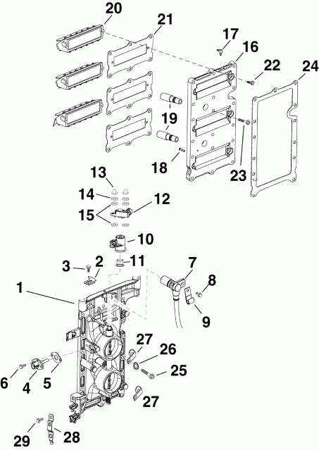
ДЕТАЛИРОВКА ДЛЯ МОДЕЛИ: EVINRUDE E90DSLAAA

05-1 ВПУСКНОЙ КОЛЛЕКТОР В СБОРЕ | 05-1 INTAKE MANIFOLD ASSEMBLY;


Подвесной двигатель Evinrude E90DSLAAA  - intake Manifold Assembly

Номер на
рисунке
АртикулНаименованиеКол-во
на складе
Цена
1 5006457

Дроссель газа Assembly (THROTTLE BODY Assembly)

нет в наличии, поставок нет
1 5005182

   (последний код) BODY AY,THROTTLE

нет в наличии, поставок нет
2 0350649

*POINTER, Timing (POINTER, Timing)

нет в наличии, поставок нет
3 0332226

*Винт, Timing pointer (SCREW, Timing pointer)

нет в наличии, поставок нет
3 3852207

   (последний код) SCREW

нет в наличии, поставок нет
4 3010673

*Датчик, Air температура. See "Датчики" (SENSOR, Air temperature. See "SENSORS")

нет в наличии, поставок нет
5 0350805

*Прокладка, Air температура Датчик. Included in POWERHEAD Прокладка & Комплект сальников (GASKET, Air temperature sensor. Included in POWERHEAD GASKET & SEAL KIT)

нет в наличии, поставок нет
6 0332226

*Винт датчика температуры (SCREW, Air temperature sensor)

нет в наличии, поставок нет
6 3852207

   (последний код) SCREW

нет в наличии, поставок нет
7 0587014

*Датчик положения коленвала (CPS) See "Датчики" (SENSOR, Crankshaft position (CPS). See "SENSORS")

1 шт11330 руб.
7 0586785

   (последний код) SENSOR AY, CPS

1 шт10150 руб.
8 0332226

*Винт, CPS (SCREW, CPS)

нет в наличии, поставок нет
8 3852207

   (последний код) SCREW

нет в наличии, поставок нет
9 0310442

*Струбцина, TPS leads (CLAMP, TPS leads)

нет в наличии, поставок нет
10 5005188

*Рычаг дросселя (THROTTLE LEVER)

нет в наличии, поставок нет
11 0350970

*Втулка рычага дросселя (BUSHING, Throttle lever)

нет в наличии, поставок нет
12 5006484

*Датчик, Дроссель position (TPS) See "Датчики" (SENSOR, Throttle position (TPS). See "SENSORS")

нет в наличии, поставок нет
12 0586671

   (последний код) SENSOR 40-90 E-TEC

нет в наличии, поставок нет
13 0352129

**Гайка, TPS push (NUT, TPS push)

нет в наличии, поставок нет
14 0336197

**Шайба, TPS (WASHER, TPS)

нет в наличии, поставок нет
15 0352122

**Шайба, TPS Isolation (WASHER, TPS Isolation)

нет в наличии, поставок нет
NS 0317893

Крепёжный хомут, TPS & CPS leads (TIE STRAP, TPS & CPS leads)

нет в наличии, поставок нет
NS 3852149

   (последний код) TIE-STRAP

нет в наличии, поставок нет
16 5005282

REED Пластина Assembly (REED PLATE Assembly)

нет в наличии, поставок нет
17 0348471

*Верхний фиттинг Картер двигателя vent to reed Пластина (FITTING, Upper crankcase vent to reed plate)

нет в наличии, поставок нет
18 0349181

*Фиттинг тростевой пластины vent to Vap. Sep. (FITTING, Reed plate vent to Vap. Sep.)

нет в наличии, поставок нет
19 0351216

*Фиттинг тростевой пластины-idle air вход (FITTING, Reed plate-idle air inlet)

нет в наличии, поставок нет
19 0351215

   (последний код) NIPPLE

нет в наличии, поставок нет
20 0397336

Язычковый клапан Assembly (REED VALVE Assembly)

нет в наличии, поставок нет
20 0439042

   (последний код) BOX AY,REED

нет в наличии, поставок нет
21 0352743

Прокладка, Язычковый клапан to Картер двигателя. Included in POWERHEAD Прокладка & Комплект сальников (GASKET, Reed valve to crankcase. Included in POWERHEAD GASKET & SEAL KIT)

нет в наличии, поставок нет
21 0350553

   (последний код) GASKET,REED TO C/C

нет в наличии, поставок нет
22 0333677

Винт крепления язычкового клапана к пластине (SCREW, Reed valve to reed plate)

нет в наличии, поставок нет
22 3852208

   (последний код) SCREW

нет в наличии, поставок нет
23 0324334

Винт, Reed Пластина to Картер двигателя (SCREW, Reed plate to crankcase)

нет в наличии, поставок нет
23 0302820

   (последний код) SCREW

нет в наличии, поставок нет
24 0350496

Прокладка корпуса дросселя to reed Пластина. Included in POWERHEAD Прокладка & Комплект сальников (GASKET, Throttle body to reed plate. Included in POWERHEAD GASKET & SEAL KIT)

нет в наличии, поставок нет
25 0353064

Винт дросселя Корпус to Картер двигателя (SCREW, Throttle body to crankcase)

нет в наличии, поставок нет
26 0328701

Шайба с блокировкой, Струбцина (LOCK WASHER, Clamp)

нет в наличии, поставок нет
26 3852182

   (последний код) WASHER,LOCK

нет в наличии, поставок нет
27 0310441

Струбцина, Датчик leads (CLAMP, Sensor leads)

нет в наличии, поставок нет
27 0316385

   (последний код) CLAMP

нет в наличии, поставок нет
28 0350657

Фиксатор, Trunnion (RETAINER, Trunnion)

нет в наличии, поставок нет
29 0328724

Винт (SCREW)

нет в наличии, поставок нет
29 3852186

   (последний код) SCREW

нет в наличии, поставок нет
30 0907833

Хомут крепеда провода от аккумулятора к корпусу дросселя (TIE STRAP, Battery cable to throttle body)

нет в наличии, поставок нет
30 3852423

   (последний код) TIE STRAP /907833

нет в наличии, поставок нет
evinrude

Время выполнения запроса 0.91718411445618 сек.


 
 

данный сайт носит информационный характер и не является публичной офертой

склад запчастей для водомоторной техники