Номер на   рисунке | Артикул | Наименование | Кол-во   на складе | Цена | 
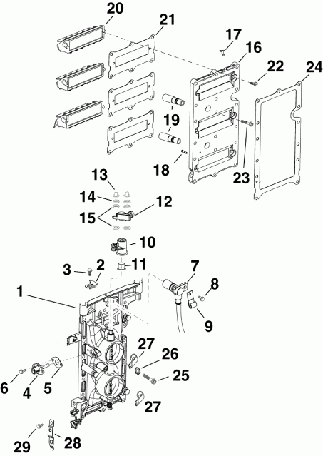
|  1  | 5006457 | Дроссель газа Assembly (THROTTLE BODY Assembly)  | нет в наличии, поставок нет | 
|  1  | 5005182 |    (последний код) BODY AY,THROTTLE                                                                  | нет в наличии, поставок нет | 
|  2  | 0350649 | *POINTER, Timing (POINTER, Timing)  | нет в наличии, поставок нет | 
|  3  | 0332226 | *Винт, Timing pointer (SCREW, Timing pointer)  | нет в наличии, поставок нет | 
|  3  | 3852207 |    (последний код) SCREW                                                                             | нет в наличии, поставок нет | 
|  4  | 3010673 | *Датчик, Air температура. See "Датчики" (SENSOR, Air temperature. See "SENSORS")  | нет в наличии, поставок нет | 
|  5  | 0350805 | *Прокладка, Air температура Датчик. Included in POWERHEAD Прокладка & Комплект сальников (GASKET, Air temperature sensor. Included in POWERHEAD GASKET & SEAL KIT)  | нет в наличии, поставок нет | 
|  6  | 0332226 | *Винт датчика температуры (SCREW, Air temperature sensor)  | нет в наличии, поставок нет | 
|  6  | 3852207 |    (последний код) SCREW                                                                             | нет в наличии, поставок нет | 
|  7  | 0587014 | *Датчик положения коленвала (CPS)  See "Датчики" (SENSOR, Crankshaft position (CPS). See "SENSORS")  | 1 шт | 11330 руб. | 
|  7  | 0586785 |    (последний код) SENSOR AY, CPS                                                                    | 1 шт | 10150 руб. | 
|  8  | 0332226 | *Винт, CPS (SCREW, CPS)  | нет в наличии, поставок нет | 
|  8  | 3852207 |    (последний код) SCREW                                                                             | нет в наличии, поставок нет | 
|  9  | 0310442 | *Струбцина, TPS leads (CLAMP, TPS leads)  | нет в наличии, поставок нет | 
|  10  | 5005188 | *Рычаг дросселя (THROTTLE LEVER)  | нет в наличии, поставок нет | 
|  11  | 0350970 | *Втулка рычага дросселя (BUSHING, Throttle lever)  | нет в наличии, поставок нет | 
|  12  | 5006484 | *Датчик, Дроссель position (TPS)  See "Датчики" (SENSOR, Throttle position (TPS). See "SENSORS")  | нет в наличии, поставок нет | 
|  12  | 0586671 |    (последний код) SENSOR 40-90 E-TEC                                                                | нет в наличии, поставок нет | 
|  13  | 0352129 | **Гайка, TPS push (NUT, TPS push)  | нет в наличии, поставок нет | 
|  14  | 0336197 | **Шайба, TPS (WASHER, TPS)  | нет в наличии, поставок нет | 
|  15  | 0352122 | **Шайба, TPS Isolation (WASHER, TPS Isolation)  | нет в наличии, поставок нет | 
|  NS  | 0317893 | Крепёжный хомут, TPS & CPS leads (TIE STRAP, TPS & CPS leads)  | нет в наличии, поставок нет | 
|  NS  | 3852149 |    (последний код) TIE-STRAP                                                                         | нет в наличии, поставок нет | 
|  16  | 5005282 | REED Пластина Assembly (REED PLATE Assembly)  | нет в наличии, поставок нет | 
|  17  | 0348471 | *Верхний фиттинг Картер двигателя vent to reed Пластина (FITTING, Upper crankcase vent to reed plate)  | нет в наличии, поставок нет | 
|  18  | 0349181 | *Фиттинг тростевой пластины vent to Vap. Sep. (FITTING, Reed plate vent to Vap. Sep.)  | нет в наличии, поставок нет | 
|  19  | 0351216 | *Фиттинг тростевой пластины-idle air вход (FITTING, Reed plate-idle air inlet)  | нет в наличии, поставок нет | 
|  19  | 0351215 |    (последний код) NIPPLE                                                                            | нет в наличии, поставок нет | 
|  20  | 0397336 | Язычковый клапан Assembly (REED VALVE Assembly)  | нет в наличии, поставок нет | 
|  20  | 0439042 |    (последний код) BOX AY,REED                                                                       | нет в наличии, поставок нет | 
|  21  | 0352743 | Прокладка, Язычковый клапан to Картер двигателя. Included in POWERHEAD Прокладка & Комплект сальников (GASKET, Reed valve to crankcase. Included in POWERHEAD GASKET & SEAL KIT)  | нет в наличии, поставок нет | 
|  21  | 0350553 |    (последний код) GASKET,REED TO C/C                                                                | нет в наличии, поставок нет | 
|  22  | 0333677 | Винт крепления язычкового клапана к пластине (SCREW, Reed valve to reed plate)  | нет в наличии, поставок нет | 
|  22  | 3852208 |    (последний код) SCREW                                                                             | нет в наличии, поставок нет | 
|  23  | 0324334 | Винт, Reed Пластина to Картер двигателя (SCREW, Reed plate to crankcase)  | нет в наличии, поставок нет | 
|  23  | 0302820 |    (последний код) SCREW                                                                             | нет в наличии, поставок нет | 
|  24  | 0350496 | Прокладка корпуса дросселя to reed Пластина. Included in POWERHEAD Прокладка & Комплект сальников (GASKET, Throttle body to reed plate. Included in POWERHEAD GASKET & SEAL KIT)  | нет в наличии, поставок нет | 
|  25  | 0353064 | Винт дросселя Корпус to Картер двигателя (SCREW, Throttle body to crankcase)  | нет в наличии, поставок нет | 
|  26  | 0328701 | Шайба с блокировкой, Струбцина (LOCK WASHER, Clamp)  | нет в наличии, поставок нет | 
|  26  | 3852182 |    (последний код) WASHER,LOCK                                                                       | нет в наличии, поставок нет | 
|  27  | 0310441 | Струбцина, Датчик leads (CLAMP, Sensor leads)  | нет в наличии, поставок нет | 
|  27  | 0316385 |    (последний код) CLAMP                                                                             | нет в наличии, поставок нет | 
|  28  | 0350657 | Фиксатор, Trunnion (RETAINER, Trunnion)  | нет в наличии, поставок нет | 
|  29  | 0328724 | Винт (SCREW)  | нет в наличии, поставок нет | 
|  29  | 3852186 |    (последний код) SCREW                                                                             | нет в наличии, поставок нет | 
|  30  | 0907833 | Хомут крепеда провода от аккумулятора к корпусу дросселя (TIE STRAP, Battery cable to throttle body)  | нет в наличии, поставок нет | 
|  30  | 3852423 |    (последний код) TIE STRAP /907833                                                                 | нет в наличии, поставок нет |