|   | 
   
     
 Все разделы каталога запчастей на этот двигатель 
вернуться к списку узлов и деталей ДЕТАЛИРОВКА ДЛЯ МОДЕЛИ: EVINRUDE E25DRSLAAB 
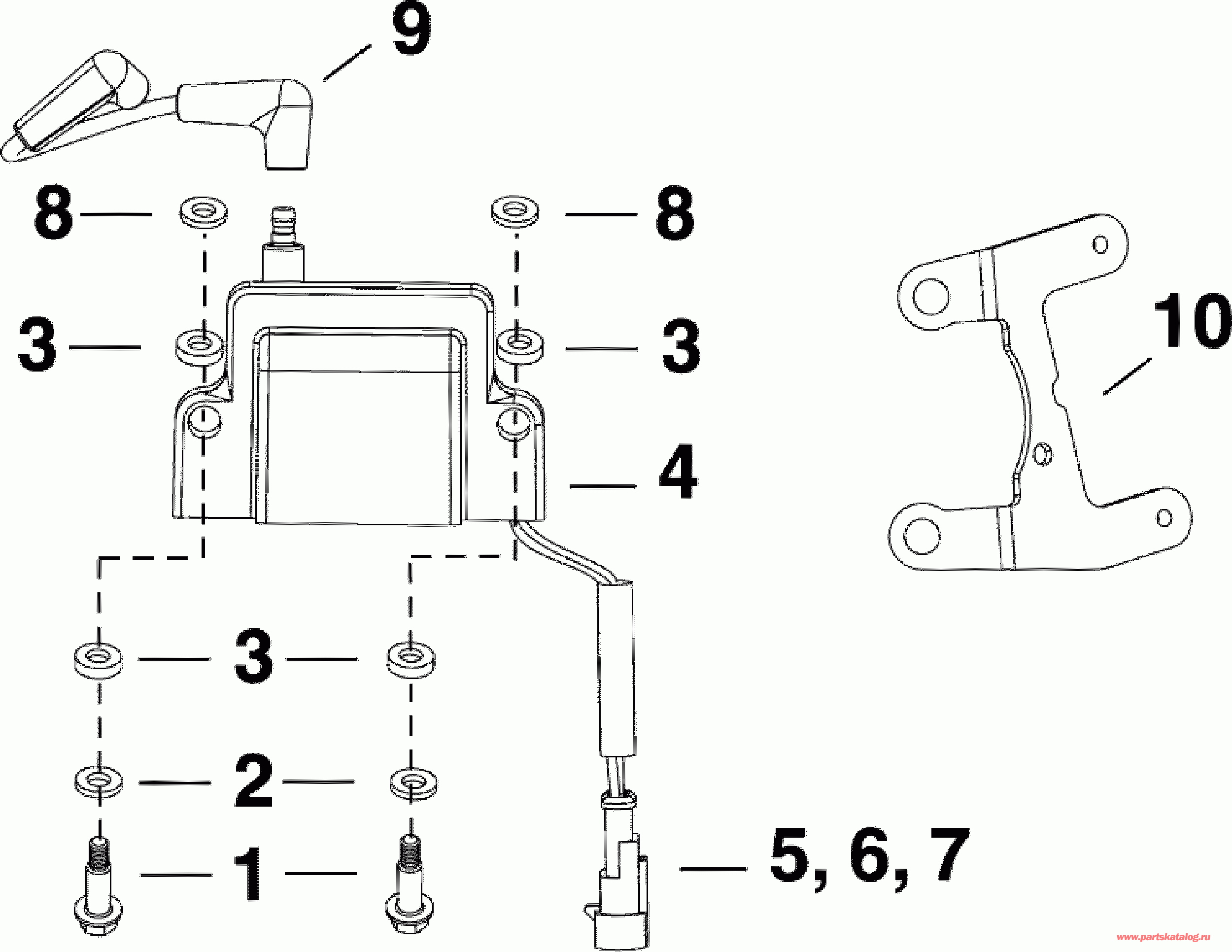
02-5 КАТУШКА ЗАЖИГАНИЯ | 02-5 IGNITION COIL; 
 
 
 
 
Номер на   рисунке | Артикул | Наименование | Кол-во   на складе | Цена |  
|  1  | 0353975 | Винт, Shoulder, Катушка зажигания (SCREW, Shoulder, Ignition coil)  | нет в наличии, поставок нет |  
|  2  | 0353735 | Шайба, Shoulder Винт (WASHER, Shoulder screw)  | 1 шт | 170 руб. |  
|  3  | 0353540 | Шайба, Катушка зажигания, rubber (WASHER, Ignition coil, rubber)  | нет в наличии, поставок нет |  
|  4  | 0586980 | Катушка зажигания (IGNITION COIL)  | нет в наличии, поставок нет |  
|  4  | 0587275 |    (последний код) COIL AY,IGNITION                                                                  | нет в наличии, поставок нет |  
|  5  | 3011148 | *CONTACT, Tab (CONTACT,Tab)  | нет в наличии, поставок нет |  
|  6  | 3011149 | *Сальник провода (SEAL,Wire)  | нет в наличии, поставок нет |  
|  7  | 3011156 | *Коннектор, 3 Position (CONNECTOR, 3 Position)  | нет в наличии, поставок нет |  
|  8  | 0353761 | Шайба, Катушка зажигания Винт (WASHER, Ignition coil screw)  | нет в наличии, поставок нет |  
|  9  | 5007988 | HIGH TENSION LEAD Assembly (HIGH TENSION LEAD Assembly)  | нет в наличии, поставок нет |  
|  10  | 0354435 | Нижний кронштейн Катушка зажигания (BRACKET, Lower ignition coil)  | нет в наличии, поставок нет |  
|  NS  | 0320107 | Крепёжный хомут, Коннектор to Кронштейн (TIE STRAP, Connector to bracket)  | нет в наличии, поставок нет |  
|  NS  | 5035626 |    (последний код) BAND,REM CON                                                                      | нет в наличии, поставок нет |  
|  NS  | 3011292 | Содинение коннектора и кронштейна (CLIP, Connector to bracket)  | нет в наличии, поставок нет |  
|  NS  | 5007419 | Свеча зажигания (QC10WEP) (SPARK PLUG (QC10WEP))  | нет в наличии, поставок нет |  
|  NS  | 5007120 |    (последний код) Champion 5/14/07 OBSOLETE, REPLACED BY                                            | нет в наличии, поставок нет |  
 
 
 Время выполнения запроса 0.5979700088501 сек.     
    | 
     |