вконтакте

Контактный телефон: +7 (981) 121-46-93, +7 (800) 200-90-76 , Email: parts-katalog@yandex.ru, где купить

 
 

  Логин:

Пароль:

Регистрация

www.partskatalog.ru Все каталоги Запчасти Mercury Запчасти Suzuki Запчасти Tohatsu Запчасти Honda Контакты


Все разделы каталога запчастей на этот двигатель

назад Раздел:   вперёд

вернуться к списку узлов и деталей

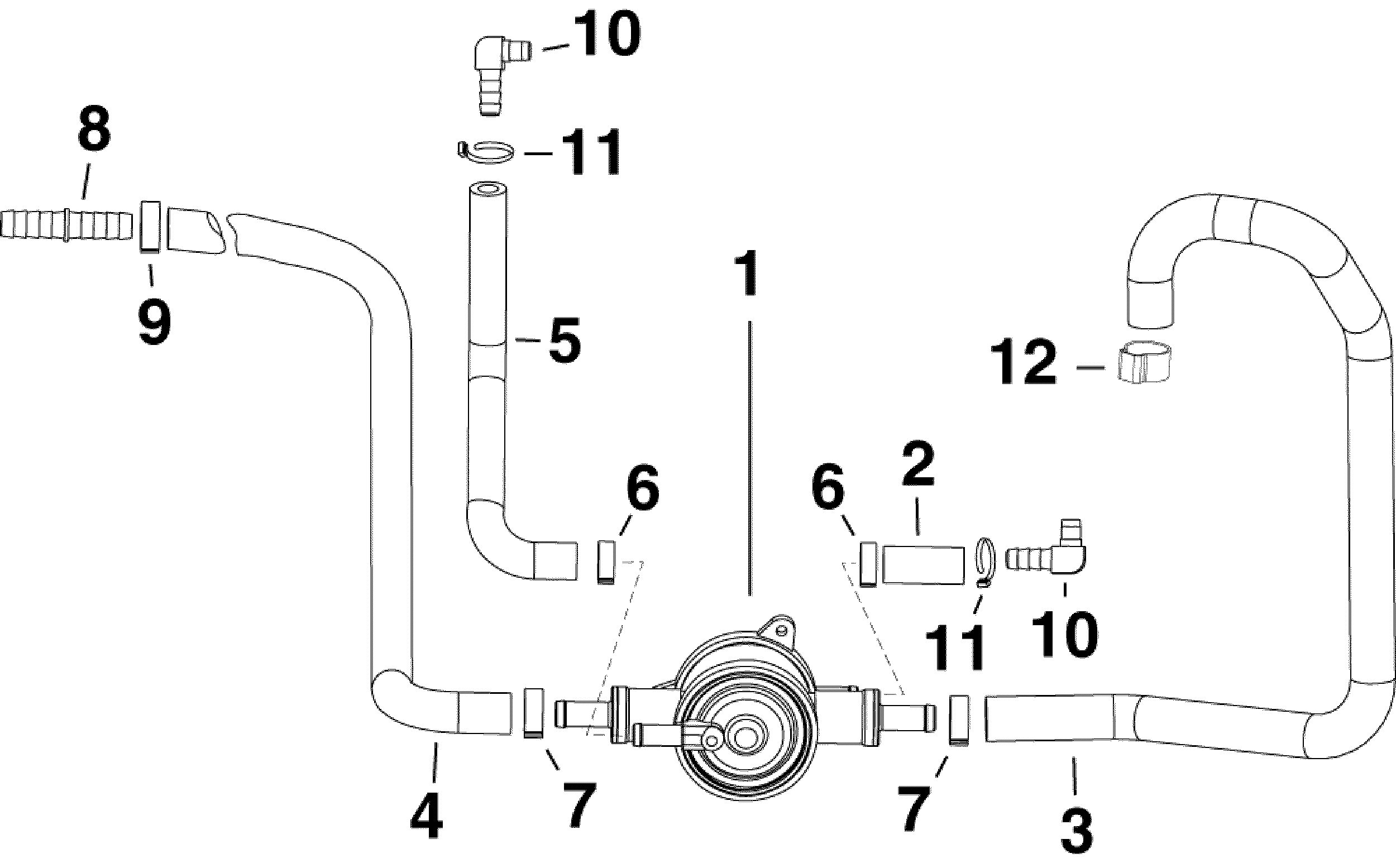
ДЕТАЛИРОВКА ДЛЯ МОДЕЛИ: EVINRUDE E175DPXIIB

ЛИФТОВЫЙ ТОПЛИВНЫЙ НАСОС | FUEL LIFT PUMP;


Лодочный мотор EVINRUDE E175DPXIIB  - el Lift Помпа / el Lift Pump

Номер на
рисунке
АртикулНаименованиеКол-во
на складе
Цена
1 5007727

LIFT Топливный насос, в сборе (LIFT PUMP Assy, Fuel)

нет в наличии, поставок нет
2 0351939

*Шланг, нижний c / c pulse (HOSE, Lower c/c pulse)

нет в наличии, поставок нет
3 0352828

*Шланг, Помпа to Фильтр (HOSE, Pump to filter)

нет в наличии, поставок нет
4 0353033

*Шланг, Коннектор to Помпа (HOSE, Connector to pump)

нет в наличии, поставок нет
4 0351945

   (последний код) HOSE

нет в наличии, поставок нет
5 0772564

*Шланг, верхний c / c pulse (HOSE, Upper c/c pulse)

нет в наличии, поставок нет
5 0338138

   (последний код) HOSE

нет в наличии, поставок нет
6 0346786

*Струбцина, 15.7 мм (CLAMP, 15.7mm)

нет в наличии, поставок нет
7 0348839

*Струбцина, 17 мм (CLAMP, 17mm)

нет в наличии, поставок нет
8 0348939

*Топливный коннектор вход (CONNECTOR, Fuel inlet)

нет в наличии, поставок нет
9 0346150

*Струбцина, 18.5 мм (CLAMP, 18.5mm)

нет в наличии, поставок нет
10 0323372

FITTING, Топливный насос pulse to C / C (FITTING, Fuel pump pulse to C/C)

нет в наличии, поставок нет
11 0320107

Крепёжный хомут (TIE STRAP)

нет в наличии, поставок нет
11 5035626

   (последний код) BAND,REM CON

нет в наличии, поставок нет
12 0348839

Струбцина, 17 мм - Топливный фильтр (CLAMP, 17mm - fuel filter)

нет в наличии, поставок нет
evinrude

Время выполнения запроса 0.36827492713928 сек.


 
 

данный сайт носит информационный характер и не является публичной офертой

склад запчастей для водомоторной техники