вконтакте

Контактный телефон: +7 (981) 121-46-93, +7 (800) 200-90-76 , Email: parts-katalog@yandex.ru, где купить

 
 

  Логин:

Пароль:

Регистрация

www.partskatalog.ru Все каталоги Запчасти Mercury Запчасти Suzuki Запчасти Tohatsu Запчасти Honda Контакты



УВАЖАЕМЫЕ КЛИЕНТЫ!
C 31 ОКТЯБРЯ 2025 ПО 10 НОЯБРЯ 2025 ГОДА РАБОТАТЬ НЕ БУДЕМ




Все разделы каталога запчастей на этот двигатель

назад Раздел:   вперёд

вернуться к списку узлов и деталей

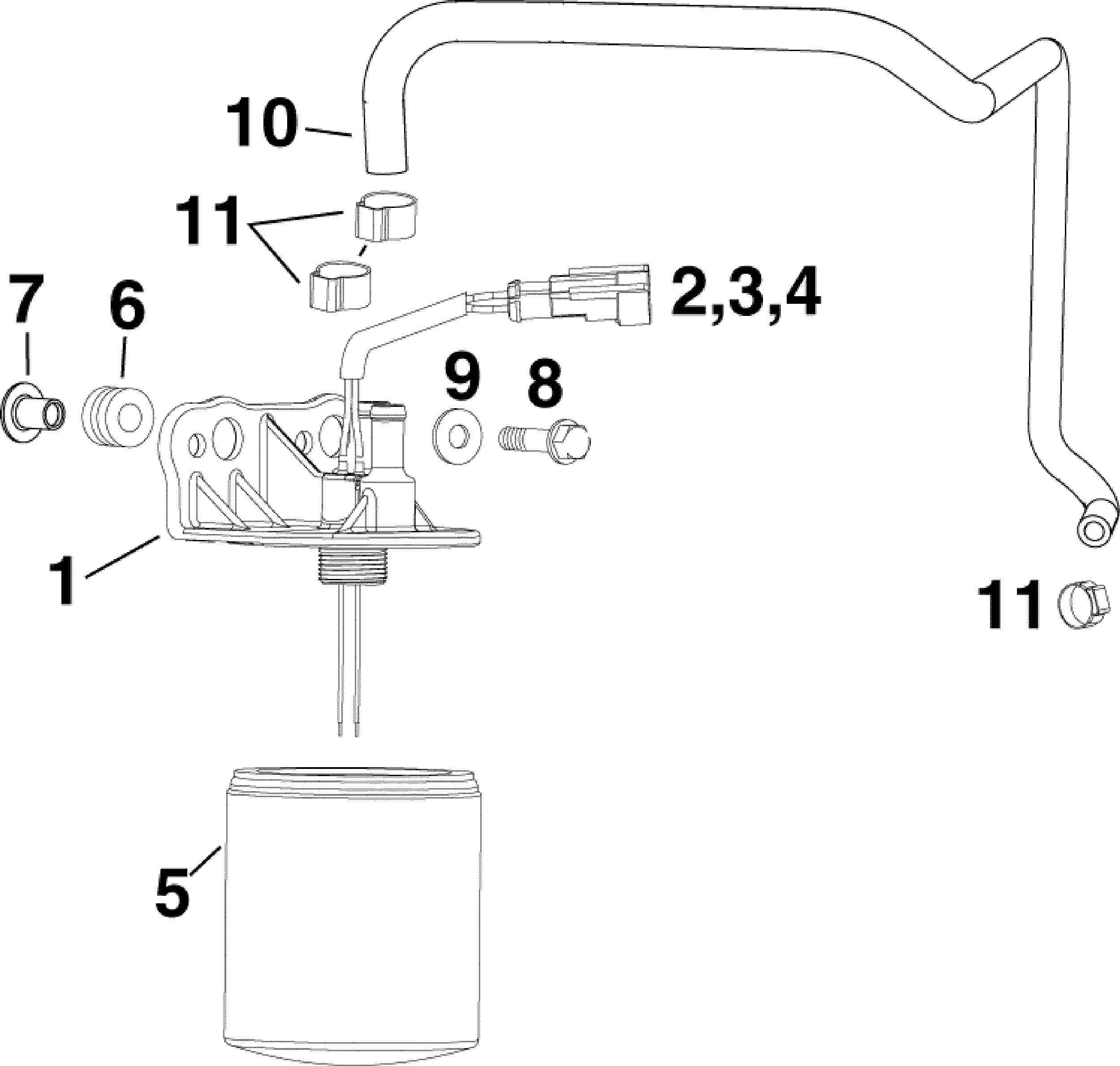
ДЕТАЛИРОВКА ДЛЯ МОДЕЛИ: EVINRUDE E115HSLSES

ТОПЛИВНЫЙ ФИЛЬТР | FUEL FILTER;


Подвесной мотор Эвинруд E115HSLSES  - el Фильтр - el Filter

Номер на
рисунке
АртикулНаименованиеКол-во
на складе
Цена
1 5007013

Фильтр / Датчик в сборе, Fuel (FILTER / SENSOR Assy, Fuel)

нет в наличии, поставок нет
2 3011148

*CONTACT, Tab (CONTACT, Tab)

нет в наличии, поставок нет
3 3011149

*Сальник провода (SEAL, Wire)

нет в наличии, поставок нет
4 3011154

*Коннектор, два положения крышки (CONNECTOR, 2 Position cap)

нет в наличии, поставок нет
5 0502906

*Топливный фильтр (FILTER, Fuel)

нет в наличии, поставок нет
5 5009676

   (последний код) FILTER AY,FUEL

нет в наличии, поставок нет
6 0333040

*ISOLATOR (ISOLATOR)

нет в наличии, поставок нет
7 0338558

*Проставка (SPACER)

нет в наличии, поставок нет
8 0331025

Винт, Топливный фильтр (SCREW, Fuel filter)

нет в наличии, поставок нет
8 0308751

   (последний код) SCREW

нет в наличии, поставок нет
9 0328703

Шайба, Фильтр Винт (WASHER, Filter screw)

нет в наличии, поставок нет
9 3852184

   (последний код) WASHER

нет в наличии, поставок нет
10 0354068

Шланг Фильтр to Пароотделитель (HOSE Filter to vapor separator)

нет в наличии, поставок нет
11 0348839

*Струбцина, 17 мм - Топливный фильтр (CLAMP, 17mm - fuel filter)

нет в наличии, поставок нет
evinrude

Время выполнения запроса 0.90958905220032 сек.


 
 

данный сайт носит информационный характер и не является публичной офертой

склад запчастей для водомоторной техники