| |
Все разделы каталога запчастей на этот двигатель
вернуться к списку узлов и деталей ДЕТАЛИРОВКА ДЛЯ МОДЕЛИ: EVINRUDE E250DCXSOC
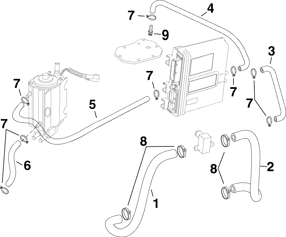
ШЛАНГИ ОХЛАЖДЕНИЯ | COOLING HOSES;
Номер на рисунке | Артикул | Наименование | Кол-во на складе | Цена |
| 1 | 0347233 | Водяной шланг sвышеply - PORT (HOSE, Water supply - PORT) | нет в наличии, поставок нет |
| 2 | 0347234 | Водяной шланг sвышеply - STBD (HOSE, Water supply - STBD) | нет в наличии, поставок нет |
| 3 | 0351365 | Шланг, Выхлоп back pressure (HOSE, Exhaust back pressure) | нет в наличии, поставок нет |
| 4 | 0351740 | Водяной шланг sвышеply to EMM (HOSE, Water supply to EMM) | нет в наличии, поставок нет |
| 5 | 0347034 | Водяной шланг sвышеply to Пароотделитель (HOSE, Water supply to vapor separator) | нет в наличии, поставок нет |
| 5 | 0345236 | (последний код) HOSE | нет в наличии, поставок нет |
| 6 | 0333395 | Шланг возврата воды from Пароотделитель (HOSE, Water return from vapor separator) | нет в наличии, поставок нет |
| 6 | 0320572 | (последний код) HOSE-FUEL-PU | нет в наличии, поставок нет |
| 7 | 0320107 | Крепёжный хомут (TIE STRAP) | нет в наличии, поставок нет |
| 7 | 5035626 | (последний код) BAND,REM CON | нет в наличии, поставок нет |
| 8 | 0346151 | Струбцина, 21 мм (CLAMP, 21mm) | нет в наличии, поставок нет |
| 9 | 0345702 | Ниппель, Water Крышка (NIPPLE, Water cover) | нет в наличии, поставок нет |

Время выполнения запроса 0.39251899719238 сек.
|
|