| |
Все разделы каталога запчастей на этот двигатель
вернуться к списку узлов и деталей ДЕТАЛИРОВКА ДЛЯ МОДЕЛИ: EVINRUDE E250DPZSOC
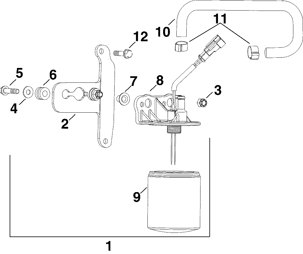
ТОПЛИВНЫЙ ФИЛЬТР | FUEL FILTER;
Номер на рисунке | Артикул | Наименование | Кол-во на складе | Цена |
| 1 | 5006064 | Фильтр & Кронштейн в сборе, Fuel (FILTER & BRACKET Assy, Fuel) | нет в наличии, поставок нет |
| 2 | 0351133 | *Кронштейн фильтра Корпус to c / c (BRACKET, Filter housing to c/c) | нет в наличии, поставок нет |
| 3 | 0313022 | *Блокирующая гайка (NUT, Lock) | нет в наличии, поставок нет |
| 3 | 3852118 | (последний код) NUT,LOCK | нет в наличии, поставок нет |
| 4 | 0328703 | *Шайба (WASHER) | нет в наличии, поставок нет |
| 4 | 3852184 | (последний код) WASHER | нет в наличии, поставок нет |
| 5 | 0331025 | *Винт, Кронштейн to Фильтр Корпус (SCREW, Bracket to filter housing) | нет в наличии, поставок нет |
| 5 | 0308751 | (последний код) SCREW | нет в наличии, поставок нет |
| 6 | 0333040 | *ISOLATOR (ISOLATOR) | нет в наличии, поставок нет |
| 7 | 0338558 | *Проставка, Фланец (SPACER, Flange) | нет в наличии, поставок нет |
| 8 | 5005953 | *Топливный фильтр & WATER Датчик, Корпус в сборе. (FUEL FILTER & WATER SENSOR, Housing Assy.) | нет в наличии, поставок нет |
| 9 | 0502906 | **Топливный фильтр (FILTER, Fuel) | нет в наличии, поставок нет |
| 9 | 5009676 | (последний код) FILTER AY,FUEL | нет в наличии, поставок нет |
| 10 | 0351846 | Шланг, Фильтр to Пароотделитель (HOSE, Filter to vapor separator) | нет в наличии, поставок нет |
| 11 | 0348839 | Струбцина, 17 мм (CLAMP, 17mm) | нет в наличии, поставок нет |
| 12 | 0335687 | Винт, Кронштейн to C / C (SCREW, Bracket to C/C) | нет в наличии, поставок нет |
| 12 | 3852213 | (последний код) SCREW | нет в наличии, поставок нет |

Время выполнения запроса 0.67977213859558 сек.
|
|