вконтакте

Контактный телефон: +7 (981) 121-46-93, +7 (800) 200-90-76 , Email: parts-katalog@yandex.ru, где купить

 
 

  Логин:

Пароль:

Регистрация

www.partskatalog.ru Все каталоги Запчасти Mercury Запчасти Suzuki Запчасти Tohatsu Запчасти Honda Контакты


Все разделы каталога запчастей на этот двигатель

назад Раздел:   вперёд

вернуться к списку узлов и деталей

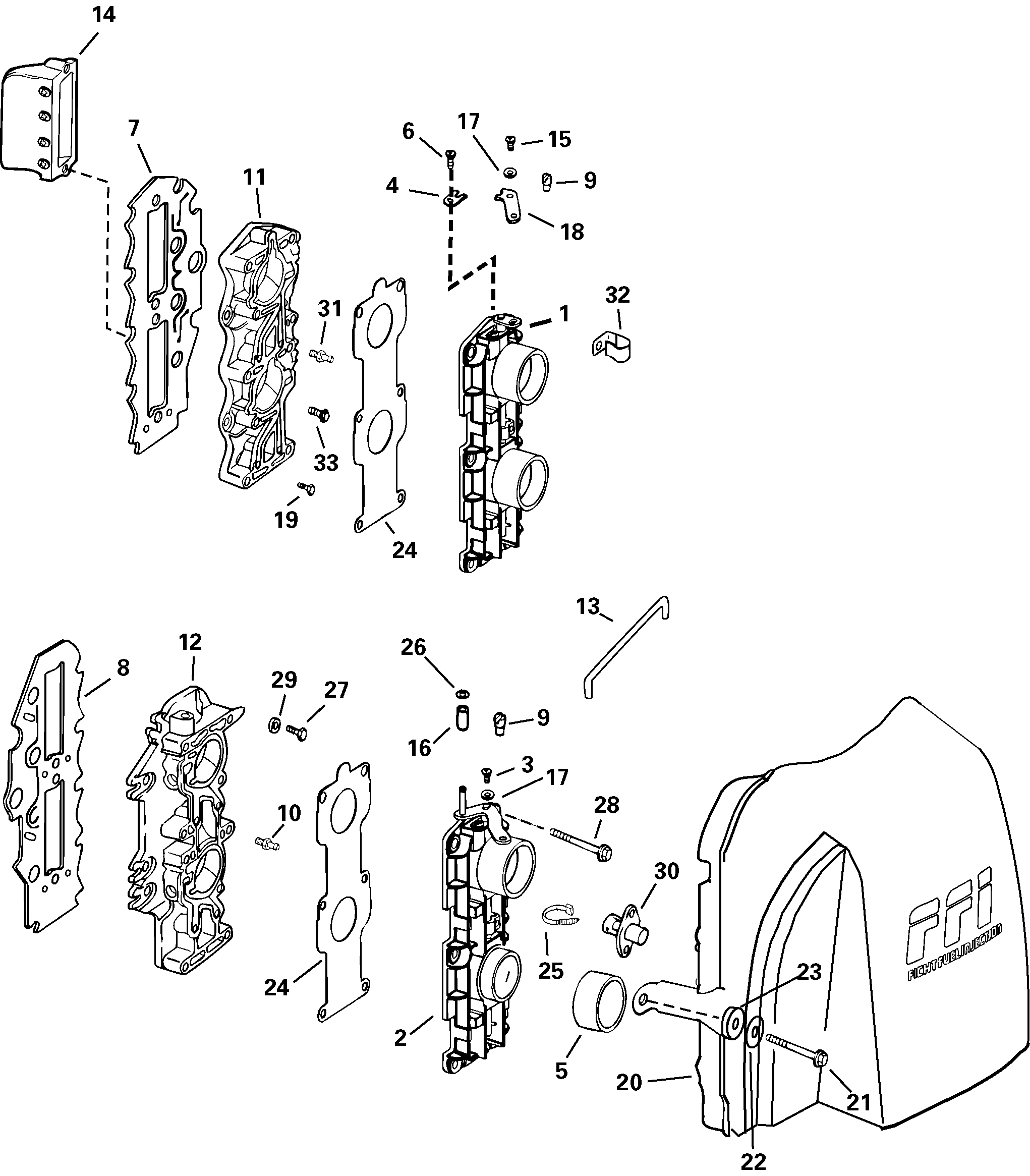
ДЕТАЛИРОВКА ДЛЯ МОДЕЛИ: EVINRUDE E115FPXSNF Ficht Fuel Injection, 25 in.,

ВПУСКНОЙ КОЛЛЕКТОР | INTAKE MANIFOLD;


Лодочный подвесной мотор EVINRUDE E115FPXSNF Ficht Fuel Injection, 25 in.,  - take Коллектор / take Manifold

Номер на
рисунке
АртикулНаименованиеКол-во
на складе
Цена
1 0439158

Дроссель газа в сборе, Port (THROTTLE BODY Assy, Port)

нет в наличии, поставок нет
2 5004325

Дроссель газа в сборе, Strb (THROTTLE BODY Assy, Strb)

нет в наличии, поставок нет
2 5001171

   (последний код) BODY AY,THROTTLE

нет в наличии, поставок нет
3 0348934

*Винт, Adjustment (SCREW, Adjustment)

нет в наличии, поставок нет
4 0328765

*Зажим (CLIP)

нет в наличии, поставок нет
5 0344031

*Сальник, Air Глушитель (SEAL, Air silencer)

нет в наличии, поставок нет
6 0328714

*Винт, Вал (SCREW, Shaft)

нет в наличии, поставок нет
6 0204027

   (последний код) SCREW

нет в наличии, поставок нет
7 0345044

Прокладка коллектора to block - Port. (Included in POWERHEAD Комплект прокладок.) (GASKET, Manifold to block - Port. (Included in POWERHEAD GASKET SET.))

нет в наличии, поставок нет
8 0345045

Прокладка коллектора to block - Stbd. (Included in POWERHEAD Комплект прокладок.) (GASKET, Manifold to block - Stbd. (Included in POWERHEAD GASKET SET.))

нет в наличии, поставок нет
9 0318165

Фиксатор, Соединитель (RETAINER, Link)

нет в наличии, поставок нет
10 0326467

Ниппель, Впускной коллектор, Stbd (NIPPLE, Intake manifold, Stbd)

нет в наличии, поставок нет
10 0335235

   (последний код) NIPPLE

нет в наличии, поставок нет
11 0346460

Впускной коллектор в сборе, Port (INTAKE MANIFOLD Assy, Port)

нет в наличии, поставок нет
12 5001055

Впускной коллектор в сборе, Stbd (INTAKE MANIFOLD Assy, Stbd)

нет в наличии, поставок нет
12 0346461

   (последний код) MANIFOLD,INTAKE

нет в наличии, поставок нет
13 0348947

Тяга дросселя Корпус (LINK, Throttle body)

нет в наличии, поставок нет
14 0437591

LEAF Пластина в сборе (LEAF PLATE Assy)

нет в наличии, поставок нет
15 0348934

Винт, Adjustment (SCREW, Adjustment)

нет в наличии, поставок нет
16 0347094

Ролик колпачка folнижний (ROLLER, Cam follower)

нет в наличии, поставок нет
16 5001360

   (последний код) ROLLER&SLEEVE AY

нет в наличии, поставок нет
17 0328735

Шайба (WASHER)

нет в наличии, поставок нет
17 3852188

   (последний код) WASHER

нет в наличии, поставок нет
18 0335257

Рычаг, Подъемный механизм adjustment (LEVER, Linkage adjustment)

нет в наличии, поставок нет
19 0328744

Винт, Коллектор to Картер двигателя (SCREW, Manifold to crankcase)

нет в наличии, поставок нет
19 0308741

   (последний код) SCREW

нет в наличии, поставок нет
20 5005368

AIR Глушитель в сборе (AIR SILENCER Assy)

нет в наличии, поставок нет
20 5001896

   (последний код) AIR SILENCER AY

нет в наличии, поставок нет
21 0337574

*Воздушный винт Глушитель (SCREW, Air Silencer)

нет в наличии, поставок нет
22 0511421

*Шайба, Air Глушитель Винт (WASHER, Air silencer screw)

нет в наличии, поставок нет
23 0340840

*Сальник (SEAL)

нет в наличии, поставок нет
24 0344526

Прокладка коллектора to Дроссель в сборе. (Included in POWERHEAD Комплект прокладок.) (GASKET, Manifold to throttle assy. (Included in POWERHEAD GASKET SET.))

нет в наличии, поставок нет
25 0317893

Крепёжный хомут, Oil Шлангs & elec Жгут проводов (TIE STRAP, Oil hoses & elec harness)

нет в наличии, поставок нет
25 3852149

   (последний код) TIE-STRAP

нет в наличии, поставок нет
26 0324678

Уплотнительное кольцо, Ролик & Гильза (O-RING, Roller & sleeve)

нет в наличии, поставок нет
27 0344038

Винт, Впускной коллектор (SCREW, Intake manifold)

нет в наличии, поставок нет
28 0323626

Винт дросселя Корпус to Коллектор (SCREW, Throttle body to manifold)

нет в наличии, поставок нет
28 0317952

   (последний код) SCREW

нет в наличии, поставок нет
29 0303630

Шайба, Fiber (WASHER, Fiber)

нет в наличии, поставок нет
30 3010673

Датчик в сборе, Air температура (SENSOR Assy, Air temperature)

нет в наличии, поставок нет
31 0349182

Ниппель, Впускной коллектор, Port (NIPPLE, Intake manifold, Port)

нет в наличии, поставок нет
32 0330151

Струбцина, Vent & oil Шланг (CLAMP, Vent & oil hose)

нет в наличии, поставок нет
32 3852199

   (последний код) CLAMP,"J"

нет в наличии, поставок нет
33 0333677

Винт, Reed box to Коллектор (SCREW, Reed box to manifold)

нет в наличии, поставок нет
33 3852208

   (последний код) SCREW

нет в наличии, поставок нет
evinrude

Время выполнения запроса 2.5835011005402 сек.


 
 

данный сайт носит информационный характер и не является публичной офертой

склад запчастей для водомоторной техники