вконтакте

Контактный телефон: +7 (981) 121-46-93, +7 (800) 200-90-76 , Email: parts-katalog@yandex.ru, где купить

 
 

  Логин:

Пароль:

Регистрация

www.partskatalog.ru Все каталоги Запчасти Mercury Запчасти Suzuki Запчасти Tohatsu Запчасти Honda Контакты



УВАЖАЕМЫЕ КЛИЕНТЫ!
C 31 ОКТЯБРЯ 2025 ПО 10 НОЯБРЯ 2025 ГОДА РАБОТАТЬ НЕ БУДЕМ




Все разделы каталога запчастей на этот двигатель

назад Раздел:   вперёд

вернуться к списку узлов и деталей

ДЕТАЛИРОВКА ДЛЯ МОДЕЛИ: EVINRUDE E225FCZEES 1999

FUEL COMPONENTS | FUEL COMPONENTS;


Подвесной лодочный мотор EVINRUDE E225FCZEES 1999  - el Components / el Components

Номер на
рисунке
АртикулНаименованиеКол-во
на складе
Цена
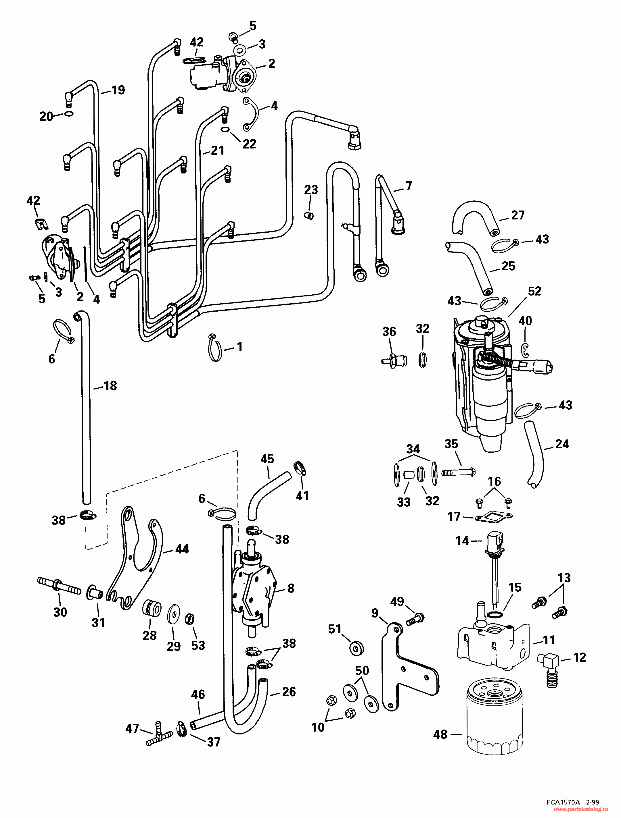
1 0318322

Крепёжный хомут, Fuel Коллектор (TIE STRAP, Fuel manifold)

нет в наличии, поставок нет
2 5000773

Топливный инжектор, Port. See Сервис Bulletin #2376 Revision 1. See Сервис Bulletin #2376 Revision 1 (FUEL INJECTOR, Port. See Service Bulletin #2376 Revision 1. See Service Bulletin #2376 Revision 1)

нет в наличии, поставок нет
2 5000774

Топливный инжектор, Stbd.. See Сервис Bulletin #2376 Revision 1. See Сервис Bulletin #2376 Revision 1 (FUEL INJECTOR, Stbd.. See Service Bulletin #2376 Revision 1. See Service Bulletin #2376 Revision 1)

нет в наличии, поставок нет
3 0306439

Шайба, инжектор (WASHER, Injector)

нет в наличии, поставок нет
3 0200158

   (последний код) WASHER

нет в наличии, поставок нет
4 5000834

Регулировочная шайба, инжектор, package of 12 (SHIM, Injector, package of 12)

нет в наличии, поставок нет
5 0345928

Винт, инжектор to head (SCREW, Injector to head)

нет в наличии, поставок нет
6 0320107

Крепёжный хомут, Pulse Шланг (TIE STRAP, Pulse hose)

нет в наличии, поставок нет
6 5035626

   (последний код) BAND,REM CON

нет в наличии, поставок нет
7 0439947

Коннектор & Трубка в сборе., Фильтр to vapor separa tor (CONNECTOR & TUBE ASSY., Filter to vapor separa tor)

нет в наличии, поставок нет
8 0439657

Лифтовый топливный насос в сборе. (FUEL LIFT PUMP ASSY.)

нет в наличии, поставок нет
8 5000885

   (последний код) PUMP,BRKT&HOSE AY

нет в наличии, поставок нет
9 0345169

Кронштейн топливного фильтра Креплениеing (BRACKET, Fuel filter mounting)

нет в наличии, поставок нет
10 0313022

Гайка, Топливный фильтр Кронштейн (NUT, Fuel filter bracket)

нет в наличии, поставок нет
10 3852118

   (последний код) NUT,LOCK

нет в наличии, поставок нет
11 0439970

Корпус в сборе., Топливный фильтр (HOUSING ASSY., Fuel filter)

нет в наличии, поставок нет
11 5004686

   (последний код) KIT AY,FILTER H

нет в наличии, поставок нет
12 0915946

ELBOW, Fuel вход (ELBOW, Fuel inlet)

нет в наличии, поставок нет
12 3853598

   (последний код) ELBOW

нет в наличии, поставок нет
13 0124341

Винт, Топливный фильтр Кронштейн (SCREW, Fuel filter bracket)

нет в наличии, поставок нет
13 0338305

   (последний код) SCREW

нет в наличии, поставок нет
14 0439926

WATER Датчик в сборе. (WATER SENSOR ASSY.)

нет в наличии, поставок нет
14 5001502

   (последний код) SENSOR AY, H20/FFI

нет в наличии, поставок нет
15 3850819

Уплотнительное кольцо, Water Датчик (O-RING, Water sensor)

нет в наличии, поставок нет
15 0915352

   (последний код) O-RING

нет в наличии, поставок нет
16 0336481

Винт, Датчик Фиксатор (SCREW, Sensor retainer)

нет в наличии, поставок нет
17 0344609

Фиксатор, Датчик (RETAINER, Sensor)

нет в наличии, поставок нет
18 0345612

Шланг, Lift Помпа pulse, верхний (HOSE, Lift pump pulse, upper)

нет в наличии, поставок нет
19 0439348

Коллектор в сборе., Fuel feed (MANIFOLD ASSY., Fuel feed)

нет в наличии, поставок нет
20 0344828

Уплотнительное кольцо, чёрный (O-RING, Black)

нет в наличии, поставок нет
21 0439349

Коллектор в сборе., Fuel return (MANIFOLD ASSY., Fuel return)

нет в наличии, поставок нет
21 5005403

   (последний код) MNFLD AY,FUEL-RTN

нет в наличии, поставок нет
22 0343585

Уплотнительное кольцо, коричневый (O-RING, Brown)

нет в наличии, поставок нет
23 0126341

Колпачок, Pressure test Клапан (CAP, Pressure test valve)

нет в наличии, поставок нет
24 0

Шланг, Пароотделитель to Система впуска, #4. сокращёная длина from 25 фут (7, 6m) Roll, P / N 327228 (HOSE, Vapor separator to intake, #4. Cut to Length from 25 ft. (7,6m) Roll, P/N 327228 .)

нет в наличии, поставок нет
25 0345236

Водяной шланг, Пароотделитель to ECU (HOSE, Water, vapor separator to ECU)

нет в наличии, поставок нет
25 0347034

   (последний код) HOSE

нет в наличии, поставок нет
26 0331683

Шланг, Lift Помпа pulse, нижний to #5 (HOSE, Lift pump pulse, lower to #5)

нет в наличии, поставок нет
26 0331769

   (последний код) HOSE

нет в наличии, поставок нет
27 0

Водяной шланг, adapter to vapor sep.. сокращёная длина from 25 фут (7, 6m) Roll, P / N 333341 (HOSE, Water, adapter to vapor sep.. Cut to Length from 25 ft. (7,6m) Roll, P/N 333341 .)

нет в наличии, поставок нет
28 0333040

ISOLATOR, Кронштейн Креплениеing (ISOLATOR, Bracket mounting)

нет в наличии, поставок нет
29 0328703

Шайба, Lift Помпа Кронштейн (WASHER, Lift pump bracket)

нет в наличии, поставок нет
29 3852184

   (последний код) WASHER

нет в наличии, поставок нет
30 0345707

Шпилька, Кронштейн to Картер двигателя (STUD, Bracket to crankcase)

нет в наличии, поставок нет
31 0338558

Проставка, Fuel Кронштейн (SPACER, Fuel bracket)

нет в наличии, поставок нет
32 0329518

Пыльник пароотделителя mtg. (GROMMET, Vapor separator mtg.)

нет в наличии, поставок нет
32 3852195

   (последний код) GROMMET

нет в наличии, поставок нет
33 0335328

Проставка, Пароотделитель (SPACER, Vapor separator)

нет в наличии, поставок нет
34 0328700

Шайба, Пароотделитель Креплениеing (WASHER, Vapor separator mounting)

нет в наличии, поставок нет
34 0331250

   (последний код) WASHER

нет в наличии, поставок нет
35 0333710

Винт, Пароотделитель to block (SCREW, Vapor separator to block)

нет в наличии, поставок нет
35 0332012

   (последний код) SCREW

нет в наличии, поставок нет
36 0344848

Шпилька, Пароотделитель to block (STUD, Vapor separator to block)

нет в наличии, поставок нет
37 0340328

Струбцина, Fuel вход tee (CLAMP, Fuel inlet tee)

нет в наличии, поставок нет
38 0343765

Струбцина, Lift Помпа (CLAMP, Lift pump)

нет в наличии, поставок нет
39 0343765

Винт Струбцина (SCREW CLAMP)

нет в наличии, поставок нет
40 0510487

Стопорное кольцо (RETAINING RING)

нет в наличии, поставок нет
41 0340328

Струбцина топливного фильтра (CLAMP, Fuel filter)

нет в наличии, поставок нет
42 0345468

Фиксатор, Коллектор to инжектор (RETAINER, Manifold to injector)

нет в наличии, поставок нет
42 0345121

   (последний код) RETAINER

нет в наличии, поставок нет
43 0320107

Крепёжный хомут, Пароотделитель (TIE STRAP, Vapor separator)

нет в наличии, поставок нет
43 5035626

   (последний код) BAND,REM CON

нет в наличии, поставок нет
44 0344635

Кронштейн, Lift Помпа (BRACKET, Lift pump)

нет в наличии, поставок нет
45 0345714

Шланг, Помпа to Фильтр (HOSE, Pump to filter)

нет в наличии, поставок нет
46 0345714

Шланг, Tee to Помпа (HOSE, Tee to pump)

нет в наличии, поставок нет
47 0345701

TEE, Fuel вход (TEE, Fuel inlet)

нет в наличии, поставок нет
48 0502906

Топливный фильтр (FILTER, Fuel)

нет в наличии, поставок нет
48 5009676

   (последний код) FILTER AY,FUEL

нет в наличии, поставок нет
49 0308743

Винт, Кронштейн to Картер двигателя (SCREW, Bracket to crankcase)

нет в наличии, поставок нет
49 0342422

   (последний код) SCREW

нет в наличии, поставок нет
50 0328703

Шайба, Топливный фильтр Кронштейн (WASHER, Fuel filter bracket)

нет в наличии, поставок нет
50 3852184

   (последний код) WASHER

нет в наличии, поставок нет
51 0345756

Проставка, Кронштейн to Картер двигателя (SPACER, Bracket to crankcase)

нет в наличии, поставок нет
52 0439712

Резервуар & Помпа (RESERVOIR & PUMP)

нет в наличии, поставок нет
52 5004429

   (последний код) RSVR&PUMP AY,FUEL

нет в наличии, поставок нет
53 0313022

Гайка, Lift Помпа Кронштейн (NUT, Lift pump bracket)

нет в наличии, поставок нет
53 3852118

   (последний код) NUT,LOCK

нет в наличии, поставок нет
evinrude

Время выполнения запроса 3.1300950050354 сек.


 
 

данный сайт носит информационный характер и не является публичной офертой

склад запчастей для водомоторной техники