вконтакте

Контактный телефон: +7 (981) 121-46-93, +7 (800) 200-90-76 , Email: parts-katalog@yandex.ru, где купить

 
 

  Логин:

Пароль:

Регистрация

www.partskatalog.ru Все каталоги Запчасти Mercury Запчасти Suzuki Запчасти Tohatsu Запчасти Honda Контакты



УВАЖАЕМЫЕ КЛИЕНТЫ!
C 19 ДЕКАБРЯ 2025 ПО 02 МАРТА 2026 ГОДА ОТДЕЛ ЗАПЧАСТЕЙ И СЕРВИС РАБОТАТЬ НЕ БУДУТ
ПРОДАЖА ЛОДОЧНЫХ МОТОРОВ В ШТАТНОМ РЕЖИМЕ
ОБ ИЗМЕНЕНИЯХ В ГРАФИКЕ РАБОТЫ ЧИТАЙТЕ НА САЙТА




Все разделы каталога запчастей на этот двигатель

назад Раздел:   вперёд

вернуться к списку узлов и деталей

ДЕТАЛИРОВКА ДЛЯ МОДЕЛИ: EVINRUDE E65WRYEES 1999

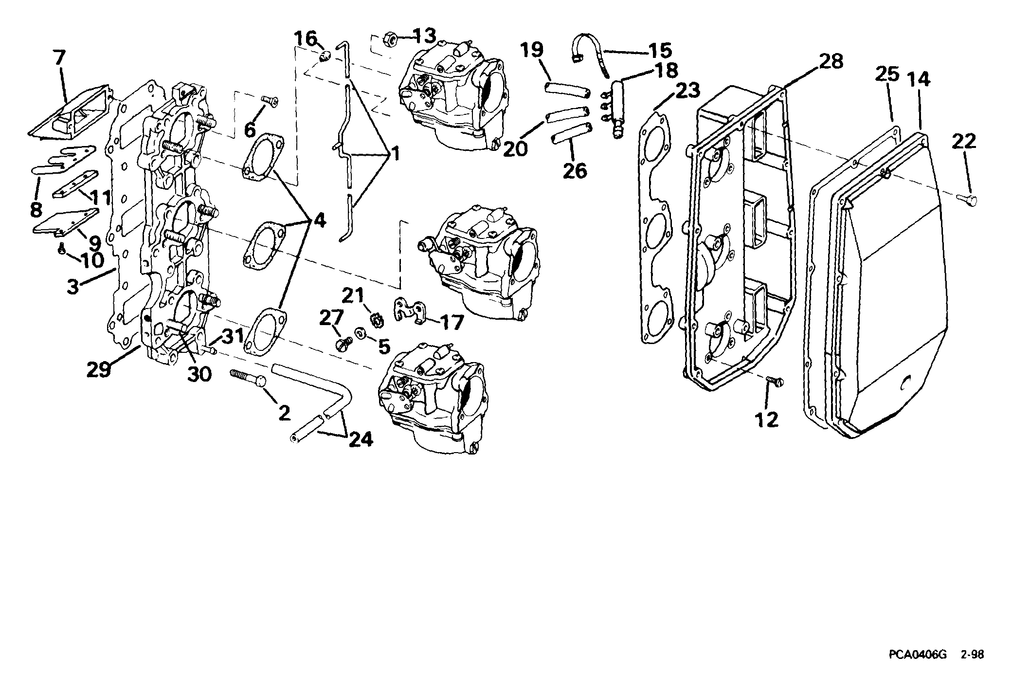
ВПУСКНОЙ КОЛЛЕКТОР & AIR ГЛУШИТЕЛЬ | INTAKE MANIFOLD & AIR SILENCER;


Двигатель EVINRUDE E65WRYEES 1999  - take Manifold & Air Silencer / take Коллектор & Air Глушитель

Номер на
рисунке
АртикулНаименованиеКол-во
на складе
Цена
1 0432271

Соединитель и Штифт, Middle Рычаг (LINK AND PIN, Middle arm)

нет в наличии, поставок нет
1 0394733

   (последний код) LINK&PIN AY

нет в наличии, поставок нет
2 0554306

Винт, Коллектор to Картер двигателя (SCREW, Manifold to crankcase)

нет в наличии, поставок нет
3 0326926

Прокладка, Пластина to Коллектор (GASKET, Plate to manifold)

нет в наличии, поставок нет
3 0317307

   (последний код) GASKET

нет в наличии, поставок нет
4 0325092

Прокладка карбюратора (GASKET, Carburetor)

нет в наличии, поставок нет
4 0314477

   (последний код) GASKET

нет в наличии, поставок нет
5 0328735

Шайба, Дроссель adjustment Винт (WASHER, Throttle adjustment screw)

нет в наличии, поставок нет
5 3852188

   (последний код) WASHER

нет в наличии, поставок нет
6 0316116

Винт, Пластина to Основание (SCREW, Plate to base)

нет в наличии, поставок нет
7 0389731

LEAF Пластина ASSEMBLY (LEAF PLATE ASSEMBLY)

нет в наличии, поставок нет
7 0389553

   (последний код) LEAF-PLATE-A

нет в наличии, поставок нет
8 0313420

LEAF Клапан (LEAF VALVE)

нет в наличии, поставок нет
9 0323688

LEAF STOP (LEAF STOP)

нет в наличии, поставок нет
10 0327074

Винт, Leaf stop (SCREW, Leaf stop)

нет в наличии, поставок нет
10 0307129

   (последний код) SCREW

нет в наличии, поставок нет
11 0324090

Регулировочная шайба, Leaf Клапан (SHIM, Leaf valve)

нет в наличии, поставок нет
12 0328694

Винт, Основание to Карбюратор (SCREW, Base to carburetor)

нет в наличии, поставок нет
12 0911122

   (последний код) SCREW

нет в наличии, поставок нет
13 0316355

Гайка, Карбюратор Креплениеing (NUT, Carburetor mounting)

нет в наличии, поставок нет
13 3852142

   (последний код) NUT

нет в наличии, поставок нет
14 0388264

Крышка, Air Глушитель (COVER, Air silencer)

нет в наличии, поставок нет
15 0320107

Струбцина Хомут, Топливный шланг to Карбюратор (CLAMP STRAP, Fuel hose to carburetor)

нет в наличии, поставок нет
15 5035626

   (последний код) BAND,REM CON

нет в наличии, поставок нет
16 0318165

Фиксатор, Дроссель (RETAINER, Throttle)

нет в наличии, поставок нет
17 0329418

Рычаг дросселя adjustment (LEVER, Throttle adjustment)

нет в наличии, поставок нет
18 0395540

FUEL Коллектор (FUEL MANIFOLD)

нет в наличии, поставок нет
19 0336236

Шланг, Коллектор to carb., верхний (HOSE, Manifold to carb., upper)

нет в наличии, поставок нет
20 0

Шланг, Коллектор to carb., middle, 2 1 / 2 дюйм (6 5 мм) сокращёная длина from 25 фут (7, 6m) Roll, P / N 327228 (HOSE, Manifold to carb., middle, 2 1/2 in. (6 5mm). Cut to Length from 25 ft. (7,6m) Roll, P/N 327228 .)

нет в наличии, поставок нет
21 0303701

Шайба с блокировкой, Adj. Винт (LOCK WASHER, Adj. screw)

нет в наличии, поставок нет
22 0330838

Винт, Крышка to Основание (SCREW, Cover to base)

нет в наличии, поставок нет
22 0329268

   (последний код) SCREW

нет в наличии, поставок нет
23 0333008

Прокладка, Air Глушитель (GASKET, Air silencer)

нет в наличии, поставок нет
23 0321793

   (последний код) GASKET-AIR-S

нет в наличии, поставок нет
24 0

Шланг, Air Глушитель to Коллектор, 4 7 / 8 дюйм (12 1 мм) сокращёная длина from P / N 336317, 3 / 16 дюйм I.D., 25 фут (7, 6m) (HOSE, Air silencer to manifold, 4 7/8 in. (12 1mm). Cut to Length from P/N 336317, 3/16 in. I.D., 25 ft. (7,6m) .)

нет в наличии, поставок нет
25 0321794

Прокладка, Air Корпус глушителя (GASKET, Air silencer cover)

нет в наличии, поставок нет
26 0336236

Шланг, Коллектор to carb., нижний (HOSE, Manifold to carb., lower)

нет в наличии, поставок нет
27 0306014

Винт дросселя adjustment (SCREW, Throttle adjustment)

нет в наличии, поставок нет
28 0333009

Основание ASSEMBLY (BASE ASSEMBLY)

нет в наличии, поставок нет
28 0329243

   (последний код) BASE-AIR-SIL

нет в наличии, поставок нет
29 0434126

Впускной коллектор (MANIFOLD, Intake)

нет в наличии, поставок нет
30 0314497

Шпилька, Карбюратор Креплениеing (STUD, Carburetor mounting)

нет в наличии, поставок нет
31 0325659

Ниппель, Коллектор (NIPPLE, Manifold)

нет в наличии, поставок нет
evinrude

Время выполнения запроса 1.5710439682007 сек.


 
 

данный сайт носит информационный характер и не является публичной офертой

склад запчастей для водомоторной техники