вконтакте

Контактный телефон: +7 (981) 121-46-93, +7 (800) 200-90-76 , Email: parts-katalog@yandex.ru, где купить

 
 

  Логин:

Пароль:

Регистрация

www.partskatalog.ru Все каталоги Запчасти Mercury Запчасти Suzuki Запчасти Tohatsu Запчасти Honda Контакты



УВАЖАЕМЫЕ КЛИЕНТЫ!
C 31 ОКТЯБРЯ 2025 ПО 10 НОЯБРЯ 2025 ГОДА РАБОТАТЬ НЕ БУДЕМ




Все разделы каталога запчастей на этот двигатель

назад Раздел:  

вернуться к списку узлов и деталей

ДЕТАЛИРОВКА ДЛЯ МОДЕЛИ: EVINRUDE E8WRLEES 1999

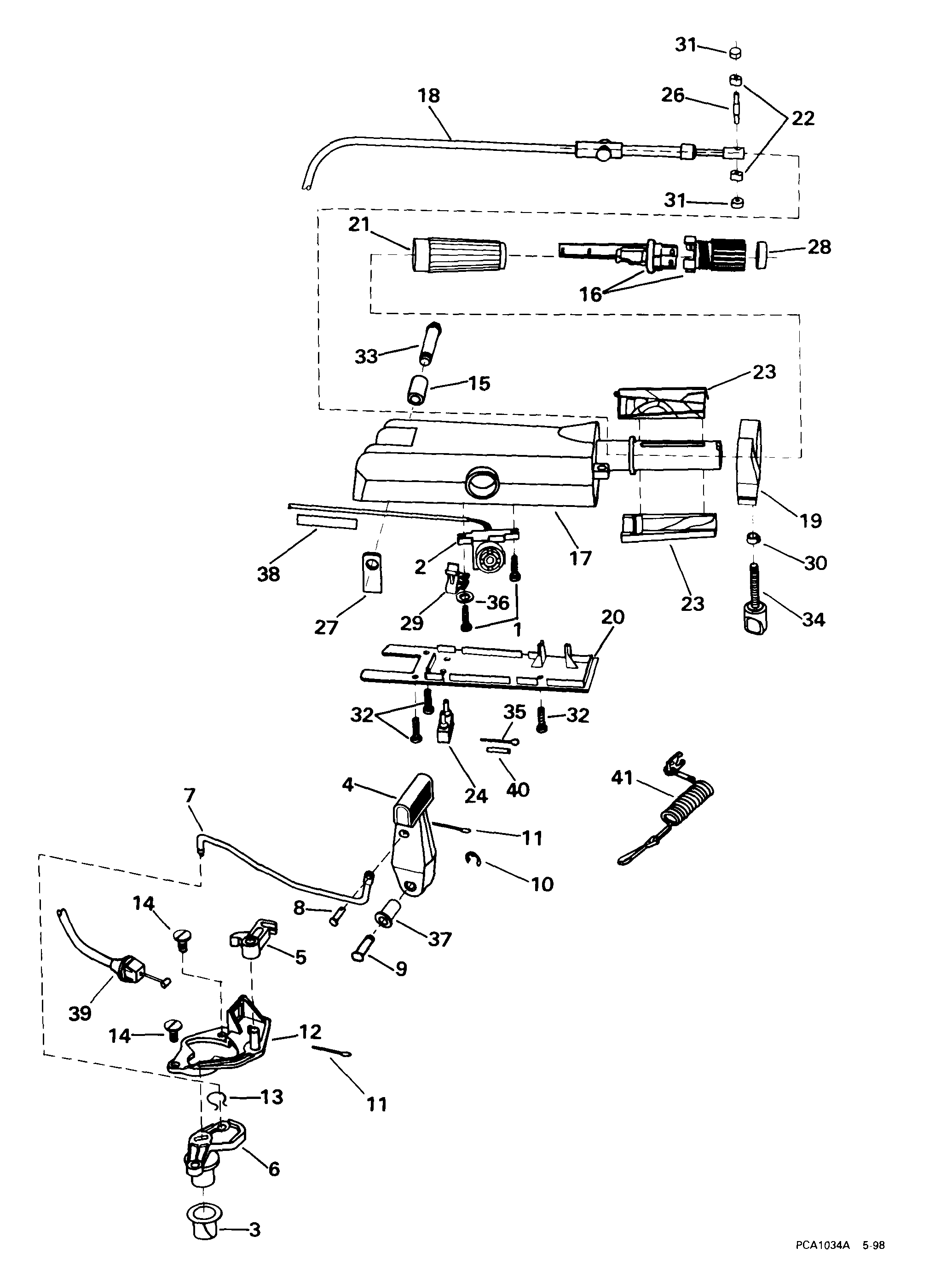
РУМПЕЛЬ | STEERING HANDLE;


Подвесной мотор Evinrude E8WRLEES 1999  - eeКольцо Handle / eering Handle

Номер на
рисунке
АртикулНаименованиеКол-во
на складе
Цена
1 0124880

Винт стопора Переключатель (SCREW, Stop switch)

нет в наличии, поставок нет
2 0585099

STOP Переключатель (Without lanyard) (STOP SWITCH (Without lanyard))

нет в наличии, поставок нет
2 0584244

   (последний код) SWITCH AY,STOP

нет в наличии, поставок нет
3 0314002

Втулка, Рычаг переключения (BUSHING, Shift lever)

нет в наличии, поставок нет
4 0336111

HANDLE, Переключатель (HANDLE, Shift)

нет в наличии, поставок нет
5 0336182

Рычаг, Блокировка стартераout (LEVER, Starter lockout)

нет в наличии, поставок нет
6 0335365

Рычаг переключателя (LEVER, Shift)

нет в наличии, поставок нет
7 0343273

Переключающая тяга handle to Рычаг (LINK, Shift handle to lever)

нет в наличии, поставок нет
7 0335965

   (последний код) LINK

нет в наличии, поставок нет
8 0336154

Штифт переключателя тяги (PIN, Shift link)

нет в наличии, поставок нет
9 0439585

Штифт, Переключатель handle (PIN, Shift handle)

нет в наличии, поставок нет
9 0344500

   (последний код) PIN

нет в наличии, поставок нет
10 0203470

Стопорное кольцо (RETAINING RING)

нет в наличии, поставок нет
10 0202139

   (последний код) RETAINING RIN

нет в наличии, поставок нет
11 0305650

Шплинт (COTTER PIN)

нет в наличии, поставок нет
11 3852052

   (последний код) PIN,COTTER

нет в наличии, поставок нет
12 0336180

Пластина, Retaining (PLATE, Retaining)

нет в наличии, поставок нет
13 0336417

Фиксатор, Переключатель Соединитель (RETAINER, Shift link)

нет в наличии, поставок нет
14 0332070

Винт, Retaining Пластина (SCREW, Retaining plate)

нет в наличии, поставок нет
14 0326875

   (последний код) SCREW

нет в наличии, поставок нет
15 0336537

Гильза, Румпель Винт (SLEEVE, Steering handle screw)

нет в наличии, поставок нет
16 0584302

ADJUSTMENT, Idle (ADJUSTMENT, Idle)

нет в наличии, поставок нет
17 0336156

Рулевая система Рычаг (STEERING ARM)

нет в наличии, поставок нет
18 0433325

Кабели в сборе., Дроссель (CABLE ASSY., Throttle)

нет в наличии, поставок нет
19 0345064

Воротник, Дроссель friction (COLLAR, Throttle friction)

нет в наличии, поставок нет
19 0336137

   (последний код) COLLAR,THROT

нет в наличии, поставок нет
20 0336159

Крышка, Румпель (рычаг наклона) (COVER, Tiller arm)

нет в наличии, поставок нет
21 0436216

TWIST Рукоятка (TWIST GRIP)

нет в наличии, поставок нет
22 0329879

Направляющая, Штифт (GUIDE, Pin)

нет в наличии, поставок нет
23 0339722

HELIX, Twist Рукоятка (HELIX, Twist grip)

нет в наличии, поставок нет
24 0336445

Держатель, Spare parts (HOLDER, Spare parts)

нет в наличии, поставок нет
26 0329880

Штифт, Helix Роликs (PIN, Helix rollers)

нет в наличии, поставок нет
27 0336220

Пластина рулевого управления Рычаг (PLATE, Steering arm)

нет в наличии, поставок нет
28 0336347

Заглушка, Idle adjustment (PLUG, Idle adjustment)

нет в наличии, поставок нет
29 0336558

Фиксатор, Тросик дросселя (RETAINER, Throttle cable)

нет в наличии, поставок нет
30 0315232

Фиксатор, Friction (RETAINER, Friction)

10 шт140 руб.
31 0329881

Ролик, Helix (ROLLER, Helix)

нет в наличии, поставок нет
32 0124880

Винт, Рулевая система Рычаг Крышка (SCREW, Steering arm cover)

нет в наличии, поставок нет
33 0335377

Винт, Румпель (SCREW, Steering handle)

нет в наличии, поставок нет
34 0434081

Фрикционный винт adjustment (SCREW, Friction adjustment)

нет в наличии, поставок нет
35 0306394

Шплинт (COTTER PIN)

нет в наличии, поставок нет
35 3852056

   (последний код) PIN,COTTER

нет в наличии, поставок нет
36 0324956

Шайба, Stop Переключатель & Фиксатор (WASHER, Stop switch & retainer)

нет в наличии, поставок нет
37 0334135

Втулка, Переключатель handle (BUSHING, Shift handle)

нет в наличии, поставок нет
38 0336596

Трубопровод, Кабели и leads (TUBING, Cable and leads)

нет в наличии, поставок нет
39 0432927

Кабель стартера lockout (CABLE, Starter lockout)

нет в наличии, поставок нет
40 0324690

DRIVE Штифт (DRIVE PIN)

нет в наличии, поставок нет
41 0398602

Зажим & LANYARD (CLIP & LANYARD)

нет в наличии, поставок нет
evinrude

Время выполнения запроса 2.8002271652222 сек.


 
 

данный сайт носит информационный характер и не является публичной офертой

склад запчастей для водомоторной техники