вконтакте

Контактный телефон: +7 (981) 121-46-93, +7 (800) 200-90-76 , Email: parts-katalog@yandex.ru, где купить

 
 

  Логин:

Пароль:

Регистрация

www.partskatalog.ru Все каталоги Запчасти Mercury Запчасти Suzuki Запчасти Tohatsu Запчасти Honda Контакты



УВАЖАЕМЫЕ КЛИЕНТЫ!
C 31 ОКТЯБРЯ 2025 ПО 10 НОЯБРЯ 2025 ГОДА РАБОТАТЬ НЕ БУДЕМ




Все разделы каталога запчастей на этот двигатель

назад Раздел:   вперёд

вернуться к списку узлов и деталей

ДЕТАЛИРОВКА ДЛЯ МОДЕЛИ: EVINRUDE E6RL4EEM 1999

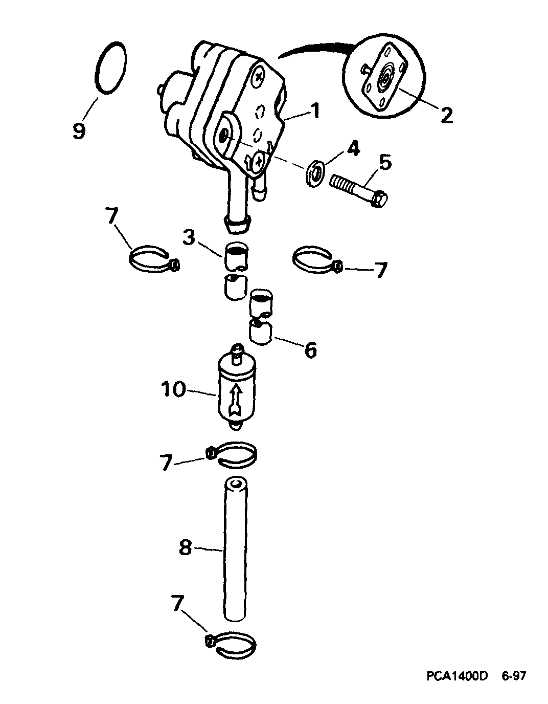
ТОПЛИВНЫЙ НАСОС | FUEL PUMP;


Подвесной двигатель EVINRUDE E6RL4EEM 1999  - el Помпа / el Pump

Номер на
рисунке
АртикулНаименованиеКол-во
на складе
Цена
1 0445078

Топливный насос в сборе. (FUEL PUMP ASSY.)

нет в наличии, поставок нет
1 5007429

   (последний код) KIT,FUEL PMP&BRKT

нет в наличии, поставок нет
2 0445082

Диафрагма (DIAPHRAGM)

нет в наличии, поставок нет
3 0332845

Шланг, Фильтр to Помпа (HOSE, Filter to pump)

нет в наличии, поставок нет
3 0319739

   (последний код) HOSE

нет в наличии, поставок нет
4 0446105

Шайба, Помпа to cyl. head Крышка (WASHER, Pump to cyl. head cover)

нет в наличии, поставок нет
5 0446104

Винт, Помпа Креплениеing (SCREW, Pump mounting)

нет в наличии, поставок нет
6 0

Топливный шланг от помпы к карбюратору. 14 дюйм (350 мм) сокращёная длина from P / N 327228 -- 5 / 32 дюйм I.D., 25 фут (7, 6m) Roll (HOSE, Fuel pump to carb. 14 in. (350mm). Cut to Length from P/N 327228 -- 5/32 in. I.D., 25 ft. (7,6m) Roll .)

нет в наличии, поставок нет
7 0320107

Крепёжный хомут, Шланг (TIE STRAP, Hose)

нет в наличии, поставок нет
7 5035626

   (последний код) BAND,REM CON

нет в наличии, поставок нет
8 0

Шланг, Коннектор to Помпа, 18 дюйм (450 мм) сокращёная длина from P / N 333341 (HOSE, Connector to pump, 18 in. (450mm). Cut to Length from P/N 333341 .)

нет в наличии, поставок нет
9 0446208

Уплотнительное кольцо (O-RING)

нет в наличии, поставок нет
10 0398319

Топливный фильтр в сборе. (FUEL FILTER ASSY.)

нет в наличии, поставок нет
10 0175227

   (последний код) FUEL-FILTER

нет в наличии, поставок нет
evinrude

Время выполнения запроса 0.7647430896759 сек.


 
 

данный сайт носит информационный характер и не является публичной офертой

склад запчастей для водомоторной техники