вконтакте

Контактный телефон: +7 (981) 121-46-93, +7 (800) 200-90-76 , Email: parts-katalog@yandex.ru, где купить

 
 

  Логин:

Пароль:

Регистрация

www.partskatalog.ru Все каталоги Запчасти Mercury Запчасти Suzuki Запчасти Tohatsu Запчасти Honda Контакты



УВАЖАЕМЫЕ КЛИЕНТЫ!
C 31 ОКТЯБРЯ 2025 ПО 10 НОЯБРЯ 2025 ГОДА РАБОТАТЬ НЕ БУДЕМ




Все разделы каталога запчастей на этот двигатель

назад Раздел:   вперёд

вернуться к списку узлов и деталей

ДЕТАЛИРОВКА ДЛЯ МОДЕЛИ: EVINRUDE E250PXECD 1998

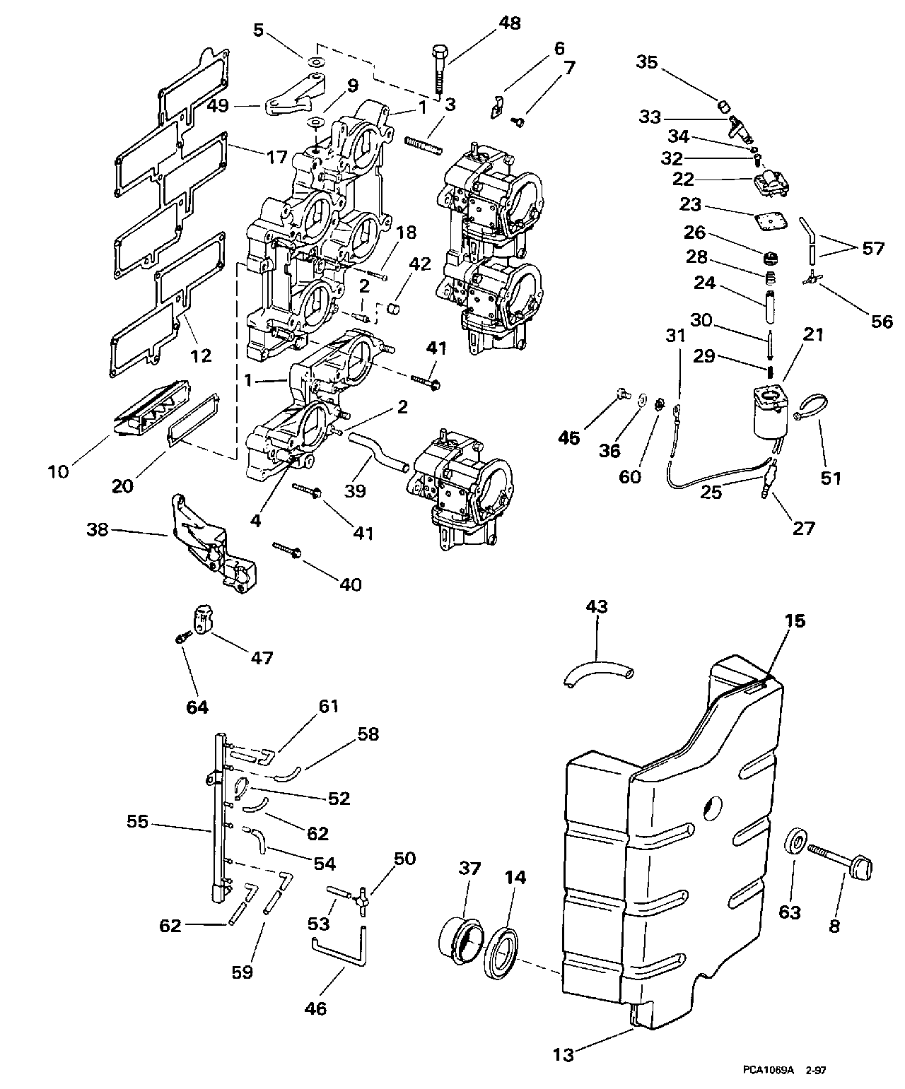
ВПУСКНОЙ КОЛЛЕКТОР | INTAKE MANIFOLD;


Подвесной двигатель Эвинруд E250PXECD 1998  - take Manifold - take Коллектор

Номер на
рисунке
АртикулНаименованиеКол-во
на складе
Цена
1 0437340

Впускной коллектор в сборе., верхний (INTAKE MANIFOLD ASSY., Upper)

нет в наличии, поставок нет
1 0437338

Впускной коллектор в сборе., нижний (INTAKE MANIFOLD ASSY., Lower)

нет в наличии, поставок нет
2 0325659

FITTING, Drain (FITTING, Drain)

нет в наличии, поставок нет
3 0314616

Шпилька (STUD)

нет в наличии, поставок нет
3 0324811

   (последний код) STUD-CYL

нет в наличии, поставок нет
4 0328789

FITTING, Primer (FITTING, Primer)

нет в наличии, поставок нет
5 0320744

Шайба, Винт (WASHER, Screw)

нет в наличии, поставок нет
5 0306124

   (последний код) WASHER

нет в наличии, поставок нет
6 0343985

TIMING POINTER, Коллектор (TIMING POINTER, Manifold)

нет в наличии, поставок нет
6 0341513

   (последний код) POINTER,TIMI

нет в наличии, поставок нет
7 0310379

Винт, Timing pointer (SCREW, Timing pointer)

нет в наличии, поставок нет
8 0439922

Ручка в сборе., Крышка to Карбюратор (KNOB ASSY., Cover to carburetor)

нет в наличии, поставок нет
8 0436547

   (последний код) KNOB-AY

нет в наличии, поставок нет
9 0341381

Шайба, Кулачок дросселя (WASHER, Throttle cam)

нет в наличии, поставок нет
9 0127386

   (последний код) WASHER

нет в наличии, поставок нет
10 0439042

REED BOX в сборе. (REED BOX ASSY.)

нет в наличии, поставок нет
10 0397336

   (последний код) REED-BOX

нет в наличии, поставок нет
12 0341476

Прокладка, Система впуска, нижний Included in Powerhead Комплект прокладок (GASKET, Intake, lower. Included in Powerhead Gasket Set)

нет в наличии, поставок нет
13 0436998

AIR Глушитель & Сальник (AIR SILENCER & SEAL)

нет в наличии, поставок нет
13 0439767

   (последний код) AIR SIL & SEAL AY

нет в наличии, поставок нет
14 0339581

Сальник, Air Глушитель to Карбюратор (SEAL, Air silencer to carburetor)

нет в наличии, поставок нет
15 0335026

Наклейка, Timing (DECAL, Timing)

нет в наличии, поставок нет
17 0328622

Прокладка коллектора to Картер двигателя. Included in Powerhead Комплект прокладок (GASKET, Manifold to crankcase. Included in Powerhead Gasket Set)

нет в наличии, поставок нет
18 0332265

Винт, Reed box (SCREW, Reed box)

нет в наличии, поставок нет
20 0332266

Прокладка, Leaf Пластина. Included in Powerhead Комплект прокладок (GASKET, Leaf plate. Included in Powerhead Gasket Set)

нет в наличии, поставок нет
21 0437234

Соленоид, в сборе., Primer (SOLENOID ASSY., Primer)

нет в наличии, поставок нет
21 5007355

   (последний код) KIT AY,PRMR SOL

нет в наличии, поставок нет
22 0341071

Крышка, Primer solenoid (COVER, Primer solenoid)

нет в наличии, поставок нет
23 0341297

Прокладка, Solenoid (GASKET, Solenoid)

нет в наличии, поставок нет
24 0511809

Плунжер (PLUNGER)

нет в наличии, поставок нет
25 0513185

Гильза (SLEEVE)

нет в наличии, поставок нет
25 0512948

   (последний код) SLEEVE

нет в наличии, поставок нет
26 0332365

Фильтр, Клапан Корпус (FILTER, Valve housing)

нет в наличии, поставок нет
26 0511811

   (последний код) FILTER

нет в наличии, поставок нет
27 0512947

Клемма (TERMINAL)

нет в наличии, поставок нет
27 0910462

   (последний код) TERM.-60766-

нет в наличии, поставок нет
28 0511986

Пружина клапана (SPRING, Valve)

нет в наличии, поставок нет
29 0511987

Пружина, Плунжер (SPRING, Plunger)

нет в наличии, поставок нет
30 0333447

Клапан, Плунжер (VALVE, Plunger)

нет в наличии, поставок нет
30 0511988

   (последний код) VALVE

нет в наличии, поставок нет
31 0510818

Клемма (TERMINAL)

нет в наличии, поставок нет
31 3854243

   (последний код) TERMINAL,RIN

нет в наличии, поставок нет
32 0330121

Винт, Крышка to Корпус (SCREW, Cover to housing)

нет в наличии, поставок нет
32 0326186

   (последний код) SCREW

нет в наличии, поставок нет
33 0175158

Клапан, Maintenance (VALVE, Maintenance)

нет в наличии, поставок нет
34 0331365

Уплотнительное кольцо, Клапан (O-RING, Valve)

нет в наличии, поставок нет
34 0326721

   (последний код) O-RING

нет в наличии, поставок нет
35 0126341

Колпачок (CAP)

нет в наличии, поставок нет
36 0328735

Шайба, Primer solenoid (WASHER, Primer solenoid)

нет в наличии, поставок нет
36 3852188

   (последний код) WASHER

нет в наличии, поставок нет
37 0339842

Гильза, Air Глушитель (SLEEVE, Air silencer)

нет в наличии, поставок нет
38 0341898

TRUNNION BLOCK (TRUNNION BLOCK)

нет в наличии, поставок нет
38 5007027

   (последний код) KIT AY,TRUNNION

нет в наличии, поставок нет
39 0340716

Шланг, Air Глушитель drain (HOSE, Air silencer drain)

нет в наличии, поставок нет
39 0344783

   (последний код) HOSE

нет в наличии, поставок нет
40 0324430

Винт, Block to Коллектор (SCREW, Block to manifold)

нет в наличии, поставок нет
40 0316658

   (последний код) SCREW

нет в наличии, поставок нет
41 0307471

Винт, Коллектор, short (SCREW, Manifold, short)

нет в наличии, поставок нет
42 0322892

Колпачок, Верхний фиттинг (CAP, Fitting, upper)

нет в наличии, поставок нет
43 0

Шланг, Air Глушитель to Картер двигателя, 25 дюйм (635 мм) сокращёная длина from 25 фут (7, 6m) Roll, P / N 335802 (HOSE, Air silencer to crankcase, 25 in. (635 mm). Cut to Length from 25 ft. (7,6m) Roll, P/N 335802)

нет в наличии, поставок нет
45 0308825

Винт (SCREW)

нет в наличии, поставок нет
45 3852081

   (последний код) SCREW

нет в наличии, поставок нет
46 0339335

Топливный шланг tee to Коллектор (HOSE, Fuel tee to manifold)

нет в наличии, поставок нет
47 0329271

Крышка, Trunnion (COVER, Trunnion)

нет в наличии, поставок нет
48 0332353

Винт дросселя cam (SCREW, Throttle cam)

нет в наличии, поставок нет
48 0347338

   (последний код) SCREW,SHOULDER

нет в наличии, поставок нет
49 0339440

Кулачок дросселя (THROTTLE CAM)

нет в наличии, поставок нет
50 0338896

TEE, Fuel (TEE, Fuel)

нет в наличии, поставок нет
51 0317893

Крепёжный хомут, Primer Шлангs (TIE STRAP, Primer hoses)

нет в наличии, поставок нет
51 3852149

   (последний код) TIE-STRAP

нет в наличии, поставок нет
52 0320107

Крепёжный хомут (TIE STRAP)

нет в наличии, поставок нет
52 5035626

   (последний код) BAND,REM CON

нет в наличии, поставок нет
53 0331674

Шланг, Tee to primer (HOSE, Tee to primer)

нет в наличии, поставок нет
53 0332117

   (последний код) HOSE-PRIMER

нет в наличии, поставок нет
54 0338961

Шланг, Коллектор to #5 Карбюратор (HOSE, Manifold to #5 carburetor)

нет в наличии, поставок нет
55 0435732

FUEL Коллектор (FUEL MANIFOLD)

нет в наличии, поставок нет
56 0325569

TEE, Primer Шланг (TEE, Primer hose)

нет в наличии, поставок нет
57 0

Шланг, Primer. сокращёная длина from 25 фут (7, 6m) Roll, P / N 327229 (HOSE, Primer. Cut to Length from 25 ft. (7,6m) Roll, P/N 327229)

нет в наличии, поставок нет
58 0339332

Шланг, Коллектор to #1 Карбюратор (HOSE, Manifold to #1 carburetor)

нет в наличии, поставок нет
59 0339334

Шланг, Коллектор to #4 Карбюратор (HOSE, Manifold to #4 carburetor)

нет в наличии, поставок нет
60 0303701

Шайба (WASHER)

нет в наличии, поставок нет
61 0331674

Шланг, Коллектор to #2 Карбюратор (HOSE, Manifold to #2 carburetor)

нет в наличии, поставок нет
61 0332117

   (последний код) HOSE-PRIMER

нет в наличии, поставок нет
62 0339333

Шланг, Коллектор to #3 & #6 carbs. (HOSE, Manifold to #3 & #6 carbs.)

нет в наличии, поставок нет
63 0340840

Сальник, Ручка to air Глушитель (SEAL, Knob to air silencer)

нет в наличии, поставок нет
64 0328725

Винт, Trunnion Крышка (SCREW, Trunnion cover)

нет в наличии, поставок нет
64 3852187

   (последний код) SCREW

нет в наличии, поставок нет
evinrude

Время выполнения запроса 2.6294169425964 сек.


 
 

данный сайт носит информационный характер и не является публичной офертой

склад запчастей для водомоторной техники