вконтакте

Контактный телефон: +7 (981) 121-46-93, +7 (800) 200-90-76 , Email: parts-katalog@yandex.ru, где купить

 
 

  Логин:

Пароль:

Регистрация

www.partskatalog.ru Все каталоги Запчасти Mercury Запчасти Suzuki Запчасти Tohatsu Запчасти Honda Контакты



УВАЖАЕМЫЕ КЛИЕНТЫ!
C 31 ОКТЯБРЯ 2025 ПО 10 НОЯБРЯ 2025 ГОДА РАБОТАТЬ НЕ БУДЕМ




Все разделы каталога запчастей на этот двигатель

назад Раздел:   вперёд

вернуться к списку узлов и деталей

ДЕТАЛИРОВКА ДЛЯ МОДЕЛИ: EVINRUDE BE130TLECE 1998

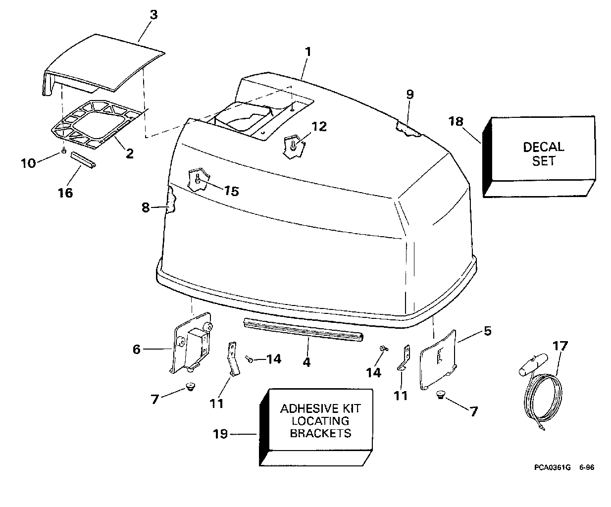
КРЫШКА ДВИГАТЕЛЯ (КАПОТ) -- JOHNSON | ENGINE COVER -- JOHNSON;


Подвесной двигатель EVINRUDE BE130TLECE 1998  -  Johnson / Johnson

Номер на
рисунке
АртикулНаименованиеКол-во
на складе
Цена
1 0438354

Крышка двигателя (капот) в сборе.. Oceanrunner Styling (белый) (ENGINE COVER ASSY.. Oceanrunner Styling (White))

нет в наличии, поставок нет
2 0331942

BAFFLE, Рукоятка наклона (BAFFLE, Tilt handle)

нет в наличии, поставок нет
2 0328670

   (последний код) BAFFLE

нет в наличии, поставок нет
3 0328671

Рукоятка наклона (TILT HANDLE)

нет в наличии, поставок нет
4 0912032

Резинка капота двигателя (SEAL, Engine cover)

нет в наличии, поставок нет
4 0330731

   (последний код) SEAL,MOTOR COVER

нет в наличии, поставок нет
5 0336990

LOCATING Кронштейн, Front (LOCATING BRACKET, Front)

нет в наличии, поставок нет
6 0336989

LOCATING Кронштейн, Rear (LOCATING BRACKET, Rear)

нет в наличии, поставок нет
7 0324898

Бампер, Locating Кронштейнs (BUMPER, Locating brackets)

нет в наличии, поставок нет
8 0341539

SOUND BLANKET, Side (SOUND BLANKET, Side)

нет в наличии, поставок нет
8 0328668

   (последний код) SOUND BLANKET

нет в наличии, поставок нет
9 0341538

SOUND BLANKET, Top (SOUND BLANKET, Top)

нет в наличии, поставок нет
9 0328667

   (последний код) SOUND BLANKET

нет в наличии, поставок нет
10 0323937

Винт, Baffle to Рукоятка наклона (SCREW, Baffle to tilt handle)

нет в наличии, поставок нет
11 0323176

Крючок капота двигателя (HOOK, Engine cover)

нет в наличии, поставок нет
11 0315191

   (последний код) HOOK

нет в наличии, поставок нет
12 0323229

Винт, Рукоятка наклона, front (SCREW, Tilt handle, front)

нет в наличии, поставок нет
14 0323229

Винт, Крючок (SCREW, Hook)

нет в наличии, поставок нет
15 0323228

Винт, Рукоятка наклона, rear (SCREW, Tilt handle, rear)

нет в наличии, поставок нет
16 0328669

Сальник, Baffle to Рукоятка наклона (SEAL, Baffle to tilt handle)

нет в наличии, поставок нет
16 0210187

   (последний код) SEAL,MOTOR COVER

нет в наличии, поставок нет
17 0378347

Шнур стартера (STARTER ROPE)

нет в наличии, поставок нет
18 0438468

Комплект наклеек (DECAL SET)

нет в наличии, поставок нет
19 0431929

ADHESIVE KIT, Locating Кронштейнs (ADHESIVE KIT, Locating brackets)

нет в наличии, поставок нет
evinrude

Время выполнения запроса 0.97969198226929 сек.


 
 

данный сайт носит информационный характер и не является публичной офертой

склад запчастей для водомоторной техники