вконтакте

Контактный телефон: +7 (981) 121-46-93, +7 (800) 200-90-76 , Email: parts-katalog@yandex.ru, где купить

 
 

  Логин:

Пароль:

Регистрация

www.partskatalog.ru Все каталоги Запчасти Mercury Запчасти Suzuki Запчасти Tohatsu Запчасти Honda Контакты


Все разделы каталога запчастей на этот двигатель

назад Раздел:  

вернуться к списку узлов и деталей

ДЕТАЛИРОВКА ДЛЯ МОДЕЛИ: EVINRUDE SE65WMYD 1998

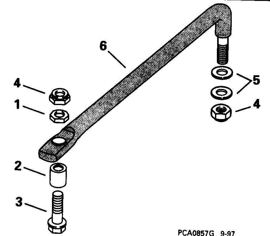
РУЛЕВАЯ СИСТЕМА СОЕДИНИТЕЛЬ KIT | STEERING LINK KIT;


Подвесной лодочный мотор Эвинруд SE65WMYD 1998  - eering Link Kit / eeКольцо Соединитель Kit

Номер на
рисунке
АртикулНаименованиеКол-во
на складе
Цена
0173700 0173700

Рулевая система Соединитель KIT, Stainless steel. Not Shown (STEERING LINK KIT, Stainless steel. Not Shown)

нет в наличии, поставок нет
0173700 0434845

   (последний код) CONNECTOR-KIT

нет в наличии, поставок нет
1 0122840

Гайка, Стержень (NUT, Pivot)

нет в наличии, поставок нет
2 0122841

Проставка, Стержень (SPACER, Pivot)

нет в наличии, поставок нет
3 0344327

Болт, Рулевая система Соединитель (BOLT, Steering link)

нет в наличии, поставок нет
3 0123178

   (последний код) BOLT

нет в наличии, поставок нет
4 0315077

LOCKГайка, Stainless steel (LOCKNUT, Stainless steel)

нет в наличии, поставок нет
4 3852132

   (последний код) NUT,LOCK

нет в наличии, поставок нет
5 0319453

Шайба (WASHER)

нет в наличии, поставок нет
5 3852155

   (последний код) WASHER

нет в наличии, поставок нет
6 0173694

Рулевая система Соединитель в сборе., Stainless steel (STEERING LINK ASSY., Stainless steel)

нет в наличии, поставок нет
6 0436791

   (последний код) KIT

нет в наличии, поставок нет
evinrude

Время выполнения запроса 0.65594983100891 сек.


 
 

данный сайт носит информационный характер и не является публичной офертой

склад запчастей для водомоторной техники