вконтакте

Контактный телефон: +7 (981) 121-46-93, +7 (800) 200-90-76 , Email: parts-katalog@yandex.ru, где купить

 
 

  Логин:

Пароль:

Регистрация

www.partskatalog.ru Все каталоги Запчасти Mercury Запчасти Suzuki Запчасти Tohatsu Запчасти Honda Контакты



УВАЖАЕМЫЕ КЛИЕНТЫ!
C 19 ДЕКАБРЯ 2025 ПО 02 МАРТА 2026 ГОДА ОТДЕЛ ЗАПЧАСТЕЙ И СЕРВИС РАБОТАТЬ НЕ БУДУТ
ПРОДАЖА ЛОДОЧНЫХ МОТОРОВ В ШТАТНОМ РЕЖИМЕ
ОБ ИЗМЕНЕНИЯХ В ГРАФИКЕ РАБОТЫ ЧИТАЙТЕ НА САЙТА




Все разделы каталога запчастей на этот двигатель

назад Раздел:   вперёд

вернуться к списку узлов и деталей

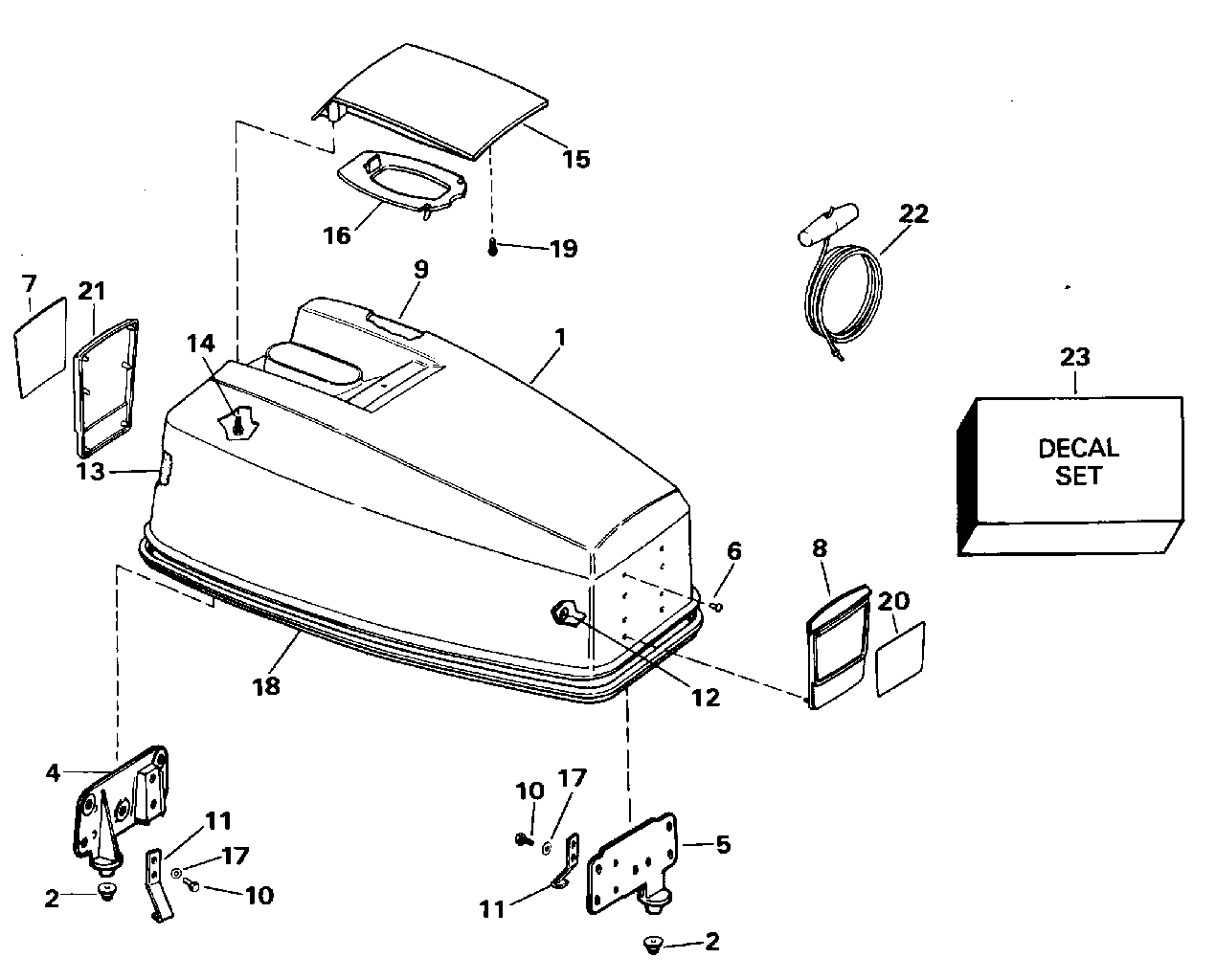
ДЕТАЛИРОВКА ДЛЯ МОДЕЛИ: EVINRUDE BE50TLECR 1998

КРЫШКА ДВИГАТЕЛЯ (КАПОТ) -- JOHNSON -- ШНУР START ONLY | ENGINE COVER -- JOHNSON -- ROPE START ONLY &NB;


Лодочный мотор Эвинруд BE50TLECR 1998  - Johnson -- Шнур Start Only

Номер на
рисунке
АртикулНаименованиеКол-во
на складе
Цена
1 0438336

Крышка двигателя (капот) в сборе.. 40R Models Only (ENGINE COVER ASSY.. 40R Models Only)

нет в наличии, поставок нет
1 0435157

   (последний код) COVER AY,MOTOR-UPR

нет в наличии, поставок нет
1 0438539

Крышка двигателя (капот) в сборе.. 50R Models Only (ENGINE COVER ASSY.. 50R Models Only)

нет в наличии, поставок нет
2 0334432

Бампер, Locating Кронштейн (BUMPER, Locating bracket)

нет в наличии, поставок нет
3 0332025

Сальник, Крышка Кронштейн (SEAL, Cover bracket)

нет в наличии, поставок нет
3 0330790

   (последний код) 2277B5034

нет в наличии, поставок нет
4 0333937

LOCATING Кронштейн (LOCATING BRACKET)

нет в наличии, поставок нет
5 0326948

Заклёпка, Locating Кронштейн (RIVET, Locating bracket)

нет в наличии, поставок нет
5 0331881

   (последний код) RIVET

нет в наличии, поставок нет
6 0323229

Винт, Рукоятка наклона, front (SCREW, Tilt handle, front)

нет в наличии, поставок нет
7 0305284

Винт, Крючок to Кронштейн (SCREW, Hook to bracket)

нет в наличии, поставок нет
7 0908158

   (последний код) SCREW

нет в наличии, поставок нет
8 0323176

Крючок, Кронштейн (HOOK, Bracket)

нет в наличии, поставок нет
8 0315191

   (последний код) HOOK

нет в наличии, поставок нет
9 0341533

SOUND BLANKET, Top (SOUND BLANKET, Top)

нет в наличии, поставок нет
9 0334309

   (последний код) SOUND-BLKT

нет в наличии, поставок нет
10 0313079

Шайба, Крючок to Кронштейн (WASHER, Hook to bracket)

нет в наличии, поставок нет
11 0341532

SOUND BLANKET, Side (SOUND BLANKET, Side)

нет в наличии, поставок нет
11 0316544

   (последний код) SOUND BLKT

нет в наличии, поставок нет
12 0323228

Винт, Рукоятка наклона, rear (SCREW, Tilt handle, rear)

нет в наличии, поставок нет
13 0333090

Рукоятка наклона (TILT HANDLE)

нет в наличии, поставок нет
14 0210296

BAFFLE, Рукоятка наклона (BAFFLE, Tilt handle)

нет в наличии, поставок нет
15 0211111

Сальник, Крышка (SEAL, Cover)

нет в наличии, поставок нет
16 0438450

Комплект наклеек. 40R Models Only (DECAL SET. 40R Models Only)

нет в наличии, поставок нет
16 0438542

Комплект наклеек. 50R Models Only (DECAL SET. 50R Models Only)

нет в наличии, поставок нет
evinrude

Время выполнения запроса 0.72807598114014 сек.


 
 

данный сайт носит информационный характер и не является публичной офертой

склад запчастей для водомоторной техники