вконтакте

Контактный телефон: +7 (981) 121-46-93, +7 (800) 200-90-76 , Email: parts-katalog@yandex.ru, где купить

 
 

  Логин:

Пароль:

Регистрация

www.partskatalog.ru Все каталоги Запчасти Mercury Запчасти Suzuki Запчасти Tohatsu Запчасти Honda Контакты



УВАЖАЕМЫЕ КЛИЕНТЫ!
C 31 ОКТЯБРЯ 2025 ПО 10 НОЯБРЯ 2025 ГОДА РАБОТАТЬ НЕ БУДЕМ




Все разделы каталога запчастей на этот двигатель

назад Раздел:   вперёд

вернуться к списку узлов и деталей

ДЕТАЛИРОВКА ДЛЯ МОДЕЛИ: EVINRUDE E40TEECR 1998

КРЫШКА ДВИГАТЕЛЯ (КАПОТ) -- EVINRUDE -- ELECTRIC START ONLY | ENGINE COVER -- EVINRUDE -- ELECTRIC START ONLY  


Лодочный подвесной мотор Эвинруд E40TEECR 1998  -  Evinrude -- Electric Start Only - Evinrude -- Electric Start Only

Номер на
рисунке
АртикулНаименованиеКол-во
на складе
Цена
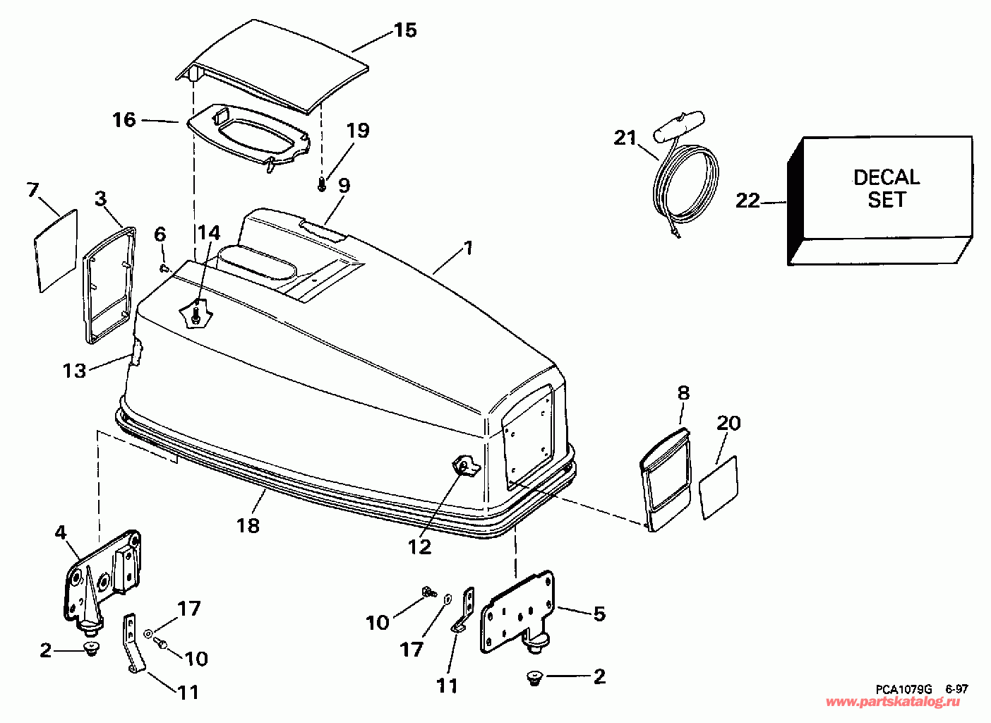
1 0284996

Крышка двигателя (капот) в сборе.. 40 Models (ENGINE COVER ASSY.. 40 Models)

нет в наличии, поставок нет
1 0284999

Крышка двигателя (капот) в сборе.. 50ES, 50TS Models (ENGINE COVER ASSY.. 50ES, 50TS Models)

нет в наличии, поставок нет
1 0284970

Крышка двигателя (капот) в сборе.. X50ESL Models Only (ENGINE COVER ASSY.. X50ESL Models Only)

нет в наличии, поставок нет
1 0284997

Крышка двигателя (капот) в сборе.. 50TL Models Only (ENGINE COVER ASSY.. 50TL Models Only)

нет в наличии, поставок нет
2 0334432

Бампер, Locating Кронштейн (BUMPER, Locating bracket)

нет в наличии, поставок нет
3 0210972

Рама, Rear. 40 Models 50ES, 50TS Models 50TL Models Only (FRAME, Rear. 40 Models 50ES, 50TS Models 50TL Models Only)

нет в наличии, поставок нет
3 0334237

Рама, Rear. X50ESL Models Only (FRAME, Rear. X50ESL Models Only)

нет в наличии, поставок нет
4 0333939

LOCATING Кронштейн, Rear (LOCATING BRACKET, Rear)

нет в наличии, поставок нет
5 0333938

LOCATING Кронштейн, Front (LOCATING BRACKET, Front)

нет в наличии, поставок нет
6 0326948

Заклёпка, Locating Кронштейн (RIVET, Locating bracket)

нет в наличии, поставок нет
6 0331881

   (последний код) RIVET

нет в наличии, поставок нет
7 0213243

Пластина, Rear. 40 Models (PLATE, Rear. 40 Models)

нет в наличии, поставок нет
7 0213252

Пластина, Rear. 50ES, 50TS Models (PLATE, Rear. 50ES, 50TS Models)

нет в наличии, поставок нет
7 0212915

Пластина, Rear. X50ESL Models Only (PLATE, Rear. X50ESL Models Only)

нет в наличии, поставок нет
7 0213246

Пластина, Rear. 50TL Models Only (PLATE, Rear. 50TL Models Only)

нет в наличии, поставок нет
8 0210971

Рама, Front. 40 Models 50ES, 50TS Models 50TL Models Only (FRAME, Front. 40 Models 50ES, 50TS Models 50TL Models Only)

нет в наличии, поставок нет
8 0334236

Рама, Front. X50ESL Models Only (FRAME, Front. X50ESL Models Only)

нет в наличии, поставок нет
9 0341531

SOUND BLANKET, Top (SOUND BLANKET, Top)

нет в наличии, поставок нет
9 0316543

   (последний код) SOUND BLKT

нет в наличии, поставок нет
10 0305284

Винт, Крючок to Кронштейн (SCREW, Hook to bracket)

нет в наличии, поставок нет
10 0908158

   (последний код) SCREW

нет в наличии, поставок нет
11 0323176

Крючок, Кронштейн (HOOK, Bracket)

нет в наличии, поставок нет
11 0315191

   (последний код) HOOK

нет в наличии, поставок нет
12 0317223

Защелка, Applique (FASTENER, Applique)

нет в наличии, поставок нет
13 0341532

SOUND BLANKET, Side (SOUND BLANKET, Side)

нет в наличии, поставок нет
13 0316544

   (последний код) SOUND BLKT

нет в наличии, поставок нет
14 0323228

Винт, Рукоятка наклона, rear (SCREW, Tilt handle, rear)

нет в наличии, поставок нет
15 0208181

Рукоятка наклона (TILT HANDLE)

нет в наличии, поставок нет
16 0210296

BAFFLE, Рукоятка наклона (BAFFLE, Tilt handle)

нет в наличии, поставок нет
17 0313079

Шайба, Крючок to Кронштейн (WASHER, Hook to bracket)

нет в наличии, поставок нет
18 0211111

Резинка капота двигателя (SEAL, Engine cover)

нет в наличии, поставок нет
19 0323229

Винт, Рукоятка наклона, front (SCREW, Tilt handle, front)

нет в наличии, поставок нет
20 0213242

Пластина, Front. 50TL Models Only (PLATE, Front. 50TL Models Only)

нет в наличии, поставок нет
20 0213213

Пластина, Front. 50ES, 50TS Models (PLATE, Front. 50ES, 50TS Models)

нет в наличии, поставок нет
20 0212914

Пластина, Front. X50ESL Models Only (PLATE, Front. X50ESL Models Only)

нет в наличии, поставок нет
20 0213242

Пластина, Front. 50TL Models Only (PLATE, Front. 50TL Models Only)

нет в наличии, поставок нет
21 0378347

Шнур стартера (STARTER ROPE)

нет в наличии, поставок нет
22 0285051

Комплект наклеек. 40 Models (DECAL SET. 40 Models)

нет в наличии, поставок нет
22 0285054

Комплект наклеек. 50ES, 50TS Models (DECAL SET. 50ES, 50TS Models)

нет в наличии, поставок нет
22 0284923

Комплект наклеек. X50ESL Models Only (DECAL SET. X50ESL Models Only)

нет в наличии, поставок нет
22 0285052

Комплект наклеек. 50TL Models Only (DECAL SET. 50TL Models Only)

нет в наличии, поставок нет
evinrude

Время выполнения запроса 1.409392118454 сек.


 
 

данный сайт носит информационный характер и не является публичной офертой

склад запчастей для водомоторной техники