вконтакте

Контактный телефон: +7 (981) 121-46-93, +7 (800) 200-90-76 , Email: parts-katalog@yandex.ru, где купить

 
 

  Логин:

Пароль:

Регистрация

www.partskatalog.ru Все каталоги Запчасти Mercury Запчасти Suzuki Запчасти Tohatsu Запчасти Honda Контакты



УВАЖАЕМЫЕ КЛИЕНТЫ!
C 31 ОКТЯБРЯ 2025 ПО 10 НОЯБРЯ 2025 ГОДА РАБОТАТЬ НЕ БУДЕМ




Все разделы каталога запчастей на этот двигатель

назад Раздел:   вперёд

вернуться к списку узлов и деталей

ДЕТАЛИРОВКА ДЛЯ МОДЕЛИ: EVINRUDE BE30ELECS 1998

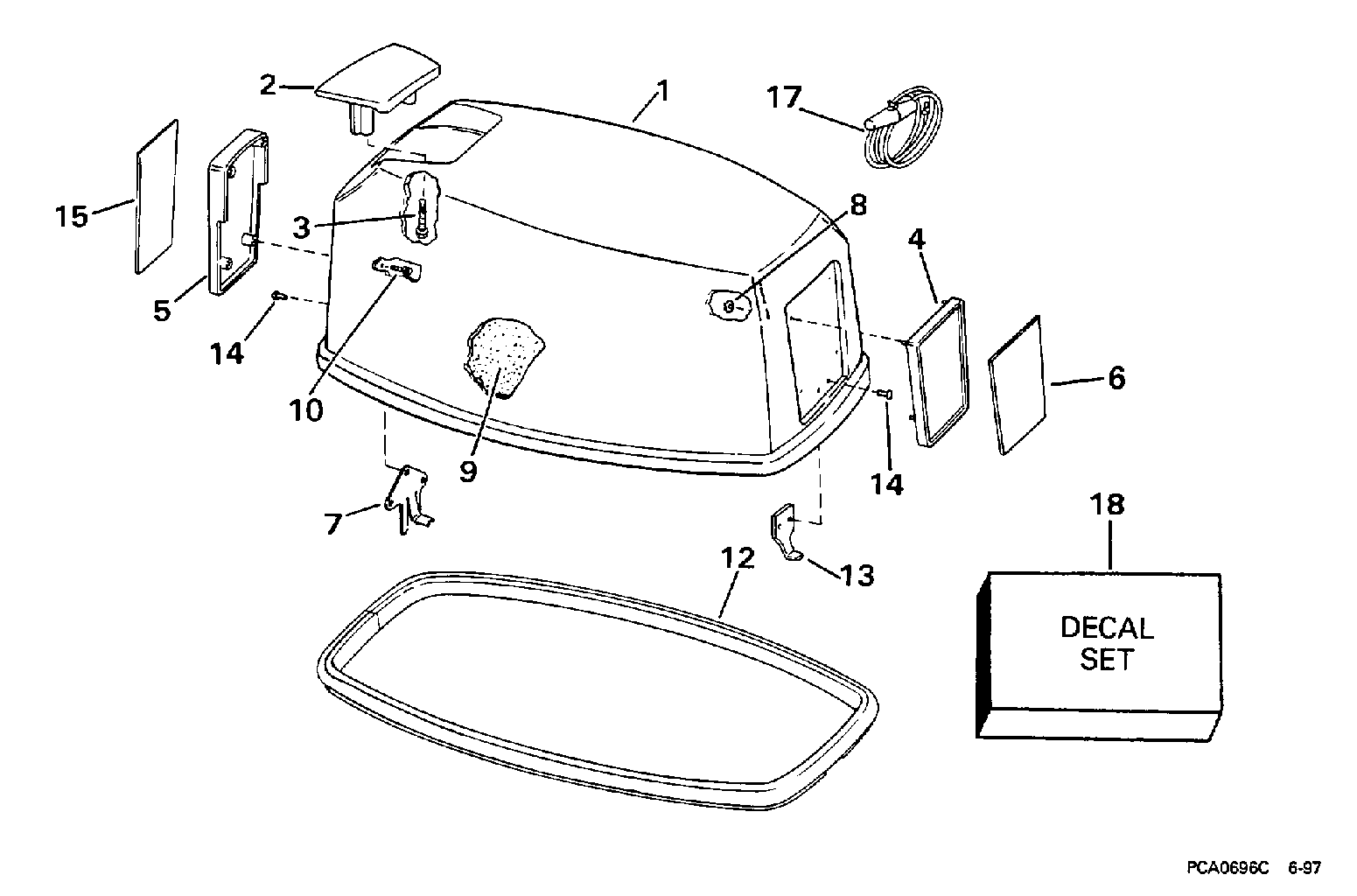
КРЫШКА ДВИГАТЕЛЯ (КАПОТ) -- EVINRUDE | ENGINE COVER -- EVINRUDE;


Мотор Evinrude BE30ELECS 1998  - Evinrude /  Evinrude

Номер на
рисунке
АртикулНаименованиеКол-во
на складе
Цена
1 0284983

Крышка двигателя (капот) в сборе.. 20SE, 20SEL (ENGINE COVER ASSY.. 20SE, 20SEL)

нет в наличии, поставок нет
1 0284984

Крышка двигателя (капот) в сборе.. 25E, 25EL (ENGINE COVER ASSY.. 25E, 25EL)

нет в наличии, поставок нет
1 0284985

Крышка двигателя (капот) в сборе.. 30E, 30EL (ENGINE COVER ASSY.. 30E, 30EL)

нет в наличии, поставок нет
2 0322882

Рукоятка наклона (TILT HANDLE)

нет в наличии, поставок нет
3 0330823

Винт, Рукоятка наклона (SCREW, Tilt handle)

нет в наличии, поставок нет
3 0325838

   (последний код) SCREW

нет в наличии, поставок нет
4 0210965

Рама, Front (FRAME, Front)

нет в наличии, поставок нет
5 0210973

Рама, Rear (FRAME, Rear)

нет в наличии, поставок нет
6 0213219

Пластина, Рама, front (PLATE, Frame, front)

нет в наличии, поставок нет
7 0329635

Крючок капота двигателя, rear (HOOK, Engine cover, rear)

нет в наличии, поставок нет
7 0316171

   (последний код) ANCHOR BLOCK

нет в наличии, поставок нет
8 0317223

Гайка, Push-on (NUT, Push-on)

нет в наличии, поставок нет
9 0341523

SOUND BLANKET, Top (SOUND BLANKET, Top)

нет в наличии, поставок нет
9 0211273

   (последний код) SOUND-BLANKE

нет в наличии, поставок нет
9 0341525

SOUND BLANKET, Port (SOUND BLANKET, Port)

нет в наличии, поставок нет
9 0211275

   (последний код) SOUND-BLANKE

нет в наличии, поставок нет
9 0341524

SOUND BLANKET, Stbd. (SOUND BLANKET, Stbd.)

нет в наличии, поставок нет
9 0211274

   (последний код) SOUND-BLANKE

нет в наличии, поставок нет
9 0341526

SOUND BLANKET, Front (SOUND BLANKET, Front)

нет в наличии, поставок нет
9 0211276

   (последний код) SOUND-BLANKE

нет в наличии, поставок нет
10 0334528

Винт, Рама Креплениеing, rear (SCREW, Frame mounting, rear)

нет в наличии, поставок нет
12 0316225

Резинка капота двигателя (SEAL, Engine cover)

нет в наличии, поставок нет
12 0326487

   (последний код) SEAL

нет в наличии, поставок нет
13 0207482

Крючок капота двигателя, front (HOOK, Engine cover, front)

нет в наличии, поставок нет
13 0206656

   (последний код) HOOK

нет в наличии, поставок нет
14 0554355

Заклёпка (RIVET)

нет в наличии, поставок нет
14 0544355

   (последний код) RIVET

нет в наличии, поставок нет
15 0213220

Пластина, Рама, rear. 20SE, 20SEL (PLATE, Frame, rear. 20SE, 20SEL)

нет в наличии, поставок нет
15 0213223

Пластина, Рама, rear. 25E, 25EL (PLATE, Frame, rear. 25E, 25EL)

нет в наличии, поставок нет
15 0213226

Пластина, Рама, rear. 30E, 30EL (PLATE, Frame, rear. 30E, 30EL)

нет в наличии, поставок нет
17 0378347

Шнур стартера (STARTER ROPE)

нет в наличии, поставок нет
18 0285042

Комплект наклеек. 20SE, 20SEL (DECAL SET. 20SE, 20SEL)

нет в наличии, поставок нет
18 0285043

Комплект наклеек. 25E, 25EL (DECAL SET. 25E, 25EL)

нет в наличии, поставок нет
18 0285044

Комплект наклеек. 30E, 30EL (DECAL SET. 30E, 30EL)

нет в наличии, поставок нет
evinrude

Время выполнения запроса 1.6193881034851 сек.


 
 

данный сайт носит информационный характер и не является публичной офертой

склад запчастей для водомоторной техники