вконтакте

Контактный телефон: +7 (981) 121-46-93, +7 (800) 200-90-76 , Email: parts-katalog@yandex.ru, где купить

 
 

  Логин:

Пароль:

Регистрация

www.partskatalog.ru Все каталоги Запчасти Mercury Запчасти Suzuki Запчасти Tohatsu Запчасти Honda Контакты



УВАЖАЕМЫЕ КЛИЕНТЫ!
C 31 ОКТЯБРЯ 2025 ПО 10 НОЯБРЯ 2025 ГОДА РАБОТАТЬ НЕ БУДЕМ




Все разделы каталога запчастей на этот двигатель

назад Раздел:   вперёд

вернуться к списку узлов и деталей

ДЕТАЛИРОВКА ДЛЯ МОДЕЛИ: EVINRUDE SE150WTPLT 1997

НИЖНЯЯ КРЫШКА ДВИГАТЕЛЯ | LOWER ENGINE COVER;


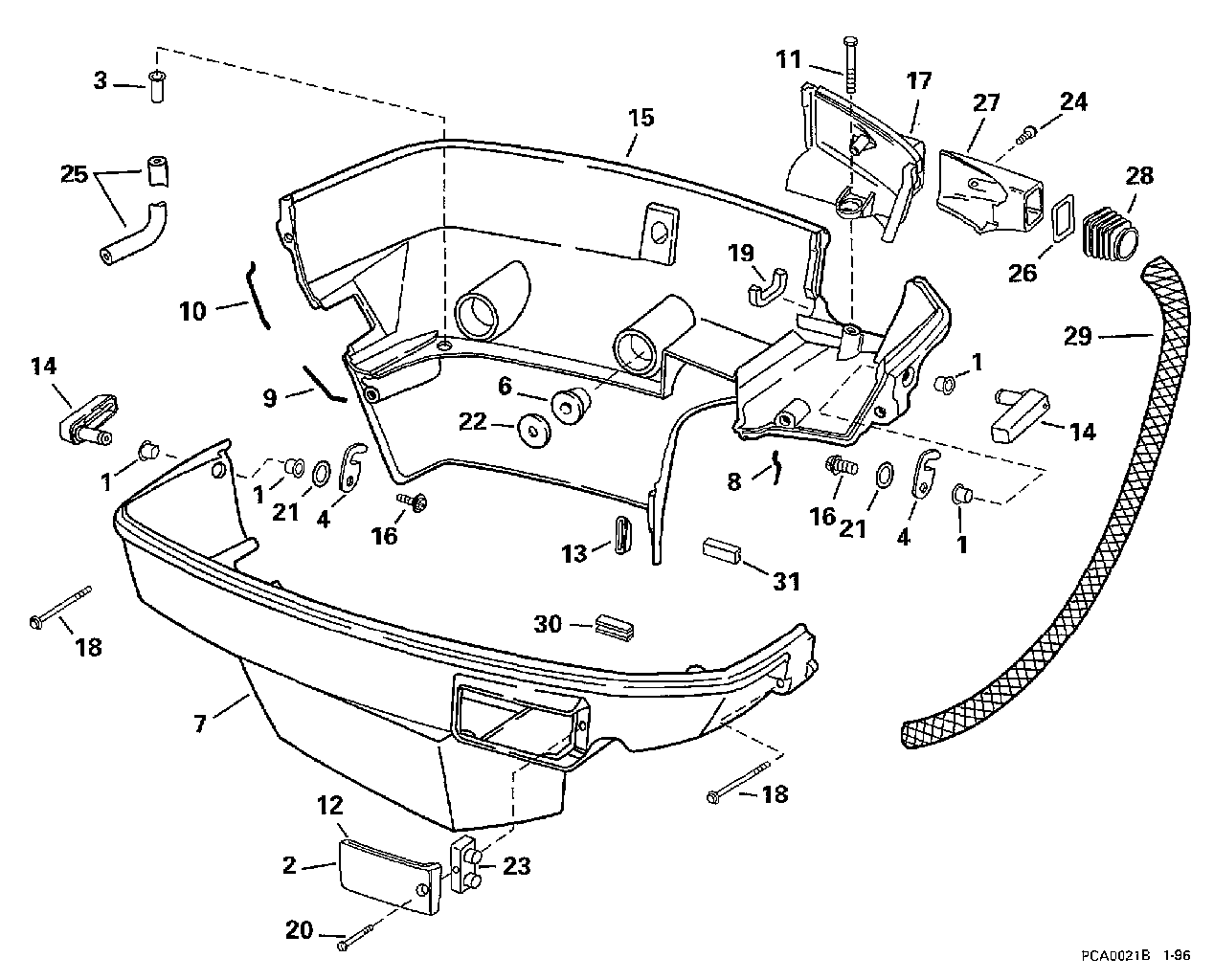
Лодочный подвесной мотор EVINRUDE SE150WTPLT 1997  - wer Engine Cover - wer Крышка двигателя (капот)

Номер на
рисунке
АртикулНаименованиеКол-во
на складе
Цена
1 0308532

Втулка, Latch Рычаг (BUSHING, Latch lever)

нет в наличии, поставок нет
1 0122475

   (последний код) BUSHING

нет в наличии, поставок нет
2 0335632

Крышка, Anchor block (COVER, Anchor block)

нет в наличии, поставок нет
3 0331977

EYELET, Drain Шланг (EYELET, Drain hose)

нет в наличии, поставок нет
4 0335570

Крючок спереди & rear (HOOK, Front & rear)

нет в наличии, поставок нет
6 0328584

Крепление нижнее Крышка (MOUNT, Lower cover)

нет в наличии, поставок нет
6 0349557

   (последний код) MOUNT

нет в наличии, поставок нет
7 0434646

Крышка двигателя (капот), Stbd. (ENGINE COVER, Stbd.)

нет в наличии, поставок нет
7 0433339

   (последний код) COVER AY,MOTOR

нет в наличии, поставок нет
8 0

Резинка капота двигателя, front. сокращёная длина from 331018 (SEAL, Engine cover, front. Cut to Length from 331018)

нет в наличии, поставок нет
9 0

Резинка капота двигателя, rear, нижний сокращёная длина from 331018 (SEAL, Engine cover, rear, lower. Cut to Length from 331018)

нет в наличии, поставок нет
10 0

Резинка капота двигателя, rear, верхний сокращёная длина from 331018 (SEAL, Engine cover, rear, upper. Cut to Length from 331018)

нет в наличии, поставок нет
11 0328725

Винт, Фиксатор (SCREW, Retainer)

нет в наличии, поставок нет
11 3852187

   (последний код) SCREW

нет в наличии, поставок нет
12 0307103

Сальник, Anchor block (SEAL, Anchor block)

нет в наличии, поставок нет
13 0335643

Бампер (BUMPER)

нет в наличии, поставок нет
14 0433514

LATCH HANDLE (LATCH HANDLE)

нет в наличии, поставок нет
15 0434645

Крышка двигателя (капот), Port (ENGINE COVER, Port)

нет в наличии, поставок нет
15 0433338

   (последний код) COVER AY,MOTOR-LWR

нет в наличии, поставок нет
16 0328724

Винт, Handle to latch (SCREW, Handle to latch)

нет в наличии, поставок нет
16 3852186

   (последний код) SCREW

нет в наличии, поставок нет
17 0435273

Фиксатор, Fuel & electric (RETAINER, Fuel & electric)

нет в наличии, поставок нет
17 0335578

   (последний код) RETAINER,FUE

нет в наличии, поставок нет
18 0335221

Винт, Нижняя часть корпуса (SCREW, Lower cover)

нет в наличии, поставок нет
18 0328715

   (последний код) SCREW

нет в наличии, поставок нет
19 0335345

Сальник, Electric Проводs (SEAL, Electric wires)

нет в наличии, поставок нет
20 0335846

Винт, Крышка, anchor block (SCREW, Cover, anchor block)

нет в наличии, поставок нет
21 0330234

Пружинная шайба, Latch handle (SPRING WASHER, Latch handle)

нет в наличии, поставок нет
22 0329749

Шайба, Крепление (WASHER, Mount)

нет в наличии, поставок нет
22 0349556

   (последний код) WASHER

нет в наличии, поставок нет
23 0335631

Пыльник тросика управленияs (GROMMET, Control cables)

нет в наличии, поставок нет
24 0911429

Винт, Крышка (SCREW, Cover)

нет в наличии, поставок нет
24 0343505

   (последний код) SCREW

нет в наличии, поставок нет
25 0336225

Дренажный шланг (HOSE, Drain)

нет в наличии, поставок нет
26 0336634

Фиксатор, Пыльник (RETAINER, Grommet)

нет в наличии, поставок нет
27 0336383

Крышка, Fuel & electric (COVER, Fuel & electric)

нет в наличии, поставок нет
28 0336384

Пыльник, Fuel & electric (GROMMET, Fuel & electric)

нет в наличии, поставок нет
29 0336545

Гильза, Fuel & electric lines (SLEEVE, Fuel & electric lines)

нет в наличии, поставок нет
30 0335500

Сальник, Stbd. (SEAL, Stbd.)

нет в наличии, поставок нет
31 0335499

Сальник, Port (SEAL, Port)

нет в наличии, поставок нет
evinrude

Время выполнения запроса 1.5262410640717 сек.


 
 

данный сайт носит информационный характер и не является публичной офертой

склад запчастей для водомоторной техники