вконтакте

Контактный телефон: +7 (981) 121-46-93, +7 (800) 200-90-76 , Email: parts-katalog@yandex.ru, где купить

 
 

  Логин:

Пароль:

Регистрация

www.partskatalog.ru Все каталоги Запчасти Mercury Запчасти Suzuki Запчасти Tohatsu Запчасти Honda Контакты



УВАЖАЕМЫЕ КЛИЕНТЫ!
C 31 ОКТЯБРЯ 2025 ПО 10 НОЯБРЯ 2025 ГОДА РАБОТАТЬ НЕ БУДЕМ




Все разделы каталога запчастей на этот двигатель

назад Раздел:   вперёд

вернуться к списку узлов и деталей

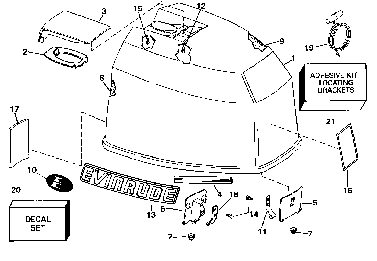
ДЕТАЛИРОВКА ДЛЯ МОДЕЛИ: EVINRUDE XE115HLEUA 1997

КРЫШКА ДВИГАТЕЛЯ (КАПОТ) - EVINRUDE | ENGINE COVER - EVINRUDE;


 Эвинруд XE115HLEUA 1997  - Evinrude - Evinrude

Номер на
рисунке
АртикулНаименованиеКол-во
на складе
Цена
1 0284939

Крышка двигателя (капот) в сборе., 90. голубой Крышка двигателя (капот) (ENGINE COVER ASSY., 90. Blue Engine Cover)

нет в наличии, поставок нет
1 0284941

Крышка двигателя (капот) в сборе., 90. белый Крышка двигателя (капот) (ENGINE COVER ASSY., 90. White Engine Cover)

нет в наличии, поставок нет
1 0285241

   (последний код) COVER AY,MOTOR-

нет в наличии, поставок нет
1 0284940

Крышка двигателя (капот) в сборе., 115. голубой Крышка двигателя (капот) (ENGINE COVER ASSY., 115. Blue Engine Cover)

нет в наличии, поставок нет
1 0284942

Крышка двигателя (капот) в сборе., 115. белый Крышка двигателя (капот) (ENGINE COVER ASSY., 115. White Engine Cover)

нет в наличии, поставок нет
1 0285241

   (последний код) COVER AY,MOTOR-

нет в наличии, поставок нет
2 0210296

BAFFLE, Рукоятка наклона (BAFFLE, Tilt handle)

нет в наличии, поставок нет
3 0208208

Рукоятка наклона (TILT HANDLE)

нет в наличии, поставок нет
4 0329548

Резинка капота двигателя (SEAL, Engine cover)

нет в наличии, поставок нет
4 0910916

   (последний код) SEAL

нет в наличии, поставок нет
5 0336991

LOCATING Кронштейн, Front (LOCATING BRACKET, Front)

нет в наличии, поставок нет
6 0336992

LOCATING Кронштейн, Rear (LOCATING BRACKET, Rear)

нет в наличии, поставок нет
7 0324898

Бампер, Locating Кронштейнs (BUMPER, Locating brackets)

нет в наличии, поставок нет
8 0341534

SOUND BLANKET, Side (SOUND BLANKET, Side)

нет в наличии, поставок нет
8 0208509

   (последний код) BLANKET

нет в наличии, поставок нет
9 0341535

SOUND BLANKET, Top (SOUND BLANKET, Top)

нет в наличии, поставок нет
11 0323175

Крючок, верхний front (HOOK, Upper front)

нет в наличии, поставок нет
11 0315199

   (последний код) HOOK

нет в наличии, поставок нет
12 0323229

Винт, Рукоятка наклона, front (SCREW, Tilt handle, front)

нет в наличии, поставок нет
13 0331856

Рама, Front & rear. белый Крышка двигателя (капот) (FRAME, Front & rear. White Engine Cover)

нет в наличии, поставок нет
14 0323229

Винт, Крючок (SCREW, Hook)

нет в наличии, поставок нет
15 0323228

Винт, Рукоятка наклона, rear (SCREW, Tilt handle, rear)

нет в наличии, поставок нет
16 0317223

Защелка, Applique. белый Крышка двигателя (капот) (FASTENER, Applique. White Engine Cover)

нет в наличии, поставок нет
17 0323176

Крючок, верхний rear (HOOK, Upper rear)

нет в наличии, поставок нет
17 0315191

   (последний код) HOOK

нет в наличии, поставок нет
18 0343683

Пластина, Front & rear, 90. белый Крышка двигателя (капот) (PLATE, Front & rear, 90. White Engine Cover)

нет в наличии, поставок нет
18 0343684

Пластина, Front & rear, 115. белый Крышка двигателя (капот) (PLATE, Front & rear, 115. White Engine Cover)

нет в наличии, поставок нет
19 0378347

Шнур стартера (STARTER ROPE)

нет в наличии, поставок нет
20 0284943

Комплект наклеек, 90. голубой Крышка двигателя (капот) (DECAL SET, 90. Blue Engine Cover)

нет в наличии, поставок нет
20 0284944

Комплект наклеек, 115. голубой Крышка двигателя (капот) (DECAL SET, 115. Blue Engine Cover)

нет в наличии, поставок нет
20 0284845

Комплект наклеек. белый Крышка двигателя (капот) (DECAL SET. White Engine Cover)

нет в наличии, поставок нет
21 0431929

ADHESIVE KIT, Locating Кронштейнs (ADHESIVE KIT, Locating brackets)

нет в наличии, поставок нет
evinrude

Время выполнения запроса 1.1621119976044 сек.


 
 

данный сайт носит информационный характер и не является публичной офертой

склад запчастей для водомоторной техники