| |
Все разделы каталога запчастей на этот двигатель
вернуться к списку узлов и деталей ДЕТАЛИРОВКА ДЛЯ МОДЕЛИ: EVINRUDE BE50RLEUC 1997
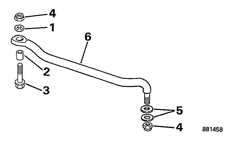
РУЛЕВАЯ СИСТЕМА СОЕДИНИТЕЛЬ KIT | STEERING LINK KIT;
Номер на рисунке | Артикул | Наименование | Кол-во на складе | Цена |
| 0173699 | 0173699 | Рулевая система Соединитель KIT, Stainless steel. Not Shown Опции. Not Included with Motor (STEERING LINK KIT, Stainless steel. Not Shown Optional. Not Included with Motor) | нет в наличии, поставок нет |
| 0173699 | 0173328 | (последний код) STEERINGCONNECT | нет в наличии, поставок нет |
| 1 | 0122840 | Гайка, Стержень (NUT, Pivot) | нет в наличии, поставок нет |
| 2 | 0122841 | Проставка, Стержень (SPACER, Pivot) | нет в наличии, поставок нет |
| 3 | 0344327 | Болт, Рулевая система Соединитель (BOLT, Steering link) | нет в наличии, поставок нет |
| 3 | 0123178 | (последний код) BOLT | нет в наличии, поставок нет |
| 4 | 0315077 | LOCKГайка, Stainless steel (LOCKNUT, Stainless steel) | нет в наличии, поставок нет |
| 4 | 3852132 | (последний код) NUT,LOCK | нет в наличии, поставок нет |
| 5 | 0319453 | Шайба (WASHER) | нет в наличии, поставок нет |
| 5 | 3852155 | (последний код) WASHER | нет в наличии, поставок нет |
| 6 | 0174244 | Рулевая система Соединитель в сборе., Stainless steel (STEERING LINK ASSY., Stainless steel) | нет в наличии, поставок нет |
| 6 | 0173693 | (последний код) CONN-ROD-AY | нет в наличии, поставок нет |

Время выполнения запроса 0.49273204803467 сек.
|
|