Номер на   рисунке | Артикул | Наименование | Кол-во   на складе | Цена | 
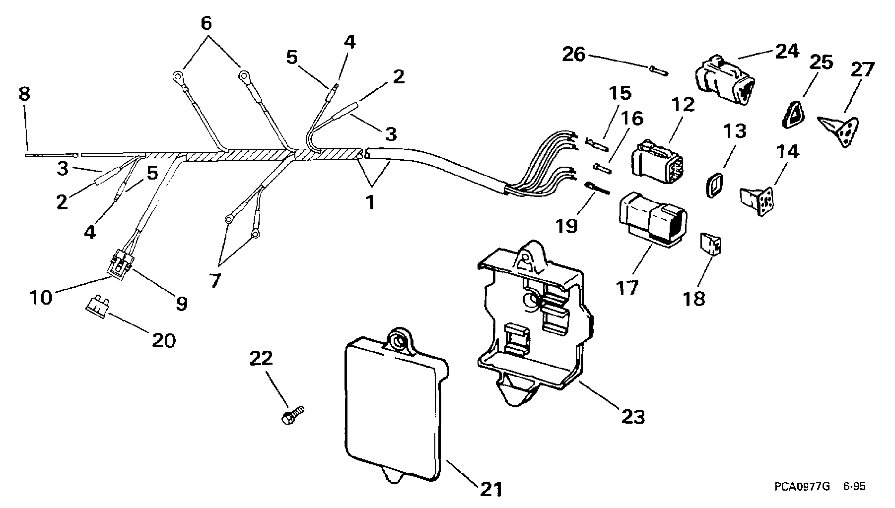
|  1  | 0586025 | MOTOR Кабели (MOTOR CABLE)  | нет в наличии, поставок нет | 
|  1  | 0585119 |    (последний код) CABLE AY,MOTOR                                                                    | нет в наличии, поставок нет | 
|  2  | 0512876 | Клемма, Socket (TERMINAL, Socket)  | нет в наличии, поставок нет | 
|  2  | 3852244 |    (последний код) TERMINAL,SOC                                                                      | нет в наличии, поставок нет | 
|  3  | 0513186 | Гильза (SLEEVE)  | нет в наличии, поставок нет | 
|  3  | 3852248 |    (последний код) SLEEVE,SKT-B                                                                      | нет в наличии, поставок нет | 
|  4  | 0512947 | Клемма, Bullet (TERMINAL, Bullet)  | нет в наличии, поставок нет | 
|  4  | 0910462 |    (последний код) TERM.-60766-                                                                      | нет в наличии, поставок нет | 
|  5  | 0513185 | Гильза (SLEEVE)  | нет в наличии, поставок нет | 
|  5  | 0512948 |    (последний код) SLEEVE                                                                            | нет в наличии, поставок нет | 
|  6  | 0510818 | Клемма, Кольцо, 1 / 4 дюйм (TERMINAL, Ring, 1/4 in.)  | нет в наличии, поставок нет | 
|  6  | 3854243 |    (последний код) TERMINAL,RIN                                                                      | нет в наличии, поставок нет | 
|  7  | 0511829 | Клемма, Кольцо, #10 (TERMINAL, Ring, #10)  | нет в наличии, поставок нет | 
|  7  | 3852233 |    (последний код) TERMINAL,RIN                                                                      | нет в наличии, поставок нет | 
|  8  | 0581656 | Клемма, Socket (TERMINAL, Socket)  | нет в наличии, поставок нет | 
|  8  | 3852257 |    (последний код) TERMINAL AY,SCKT                                                                  | нет в наличии, поставок нет | 
|  9  | 0514033 | Коннектор (CONNECTOR)  | нет в наличии, поставок нет | 
|  10  | 0514035 | Клемма (TERMINAL)  | нет в наличии, поставок нет | 
|  10  | 3858186 |    (последний код) TERMINAL                                                                          | нет в наличии, поставок нет | 
|  12  | 0514687 | Коннектор, 6-socket (CONNECTOR, 6-socket)  | нет в наличии, поставок нет | 
|  13  | 0514790 | Сальник (SEAL)  | нет в наличии, поставок нет | 
|  14  | 0514683 | LOCK WEDGE (LOCK WEDGE)  | нет в наличии, поставок нет | 
|  15  | 0514680 | Клемма, Socket (TERMINAL, Socket)  | нет в наличии, поставок нет | 
|  16  | 0514690 | Заглушка, Vacant hole (PLUG, Vacant hole)  | нет в наличии, поставок нет | 
|  17  | 0514688 | Коннектор, 6-Штифт (CONNECTOR, 6-pin)  | нет в наличии, поставок нет | 
|  18  | 0514684 | LOCK WEDGE (LOCK WEDGE)  | нет в наличии, поставок нет | 
|  19  | 0514679 | Клемма, Штифт (TERMINAL, Pin)  | нет в наличии, поставок нет | 
|  20  | 0514021 | Предохранитель, 20 Amp (FUSE, 20 Amp)  | нет в наличии, поставок нет | 
|  21  | 0342265 | Крышка, Кронштейн (COVER, Bracket)  | нет в наличии, поставок нет | 
|  21  | 0341030 |    (последний код) COVER,-CONN                                                                       | нет в наличии, поставок нет | 
|  22  | 0330838 | Винт, Крышка (SCREW, Cover)  | нет в наличии, поставок нет | 
|  22  | 0329268 |    (последний код) SCREW                                                                             | нет в наличии, поставок нет | 
|  23  | 0342197 | Кронштейн коннектораs (BRACKET, Connectors)  | нет в наличии, поставок нет | 
|  0586072  | 0586072 | Внешняя розетка & Сальник в сборе., Trim Кабели (RECEPTACLE & SEAL ASSY., Trim cable)  | нет в наличии, поставок нет | 
|  24  | 0514686 | Коннектор, 3-Штифт (CONNECTOR, 3-pin)  | нет в наличии, поставок нет | 
|  25  | 0514789 | Сальник (SEAL)  | нет в наличии, поставок нет | 
|  26  | 0514690 | Заглушка, Vacant hole (PLUG, Vacant hole)  | нет в наличии, поставок нет | 
|  27  | 0514681 | LOCK WEDGE (LOCK WEDGE)  | нет в наличии, поставок нет |