вконтакте

Контактный телефон: +7 (981) 121-46-93, +7 (800) 200-90-76 , Email: parts-katalog@yandex.ru, где купить

 
 

  Логин:

Пароль:

Регистрация

www.partskatalog.ru Все каталоги Запчасти Mercury Запчасти Suzuki Запчасти Tohatsu Запчасти Honda Контакты



УВАЖАЕМЫЕ КЛИЕНТЫ!
C 19 ДЕКАБРЯ 2025 ПО 02 МАРТА 2026 ГОДА ОТДЕЛ ЗАПЧАСТЕЙ И СЕРВИС РАБОТАТЬ НЕ БУДУТ
ПРОДАЖА ЛОДОЧНЫХ МОТОРОВ В ШТАТНОМ РЕЖИМЕ
ОБ ИЗМЕНЕНИЯХ В ГРАФИКЕ РАБОТЫ ЧИТАЙТЕ НА САЙТА




Все разделы каталога запчастей на этот двигатель

назад Раздел:   вперёд

вернуться к списку узлов и деталей

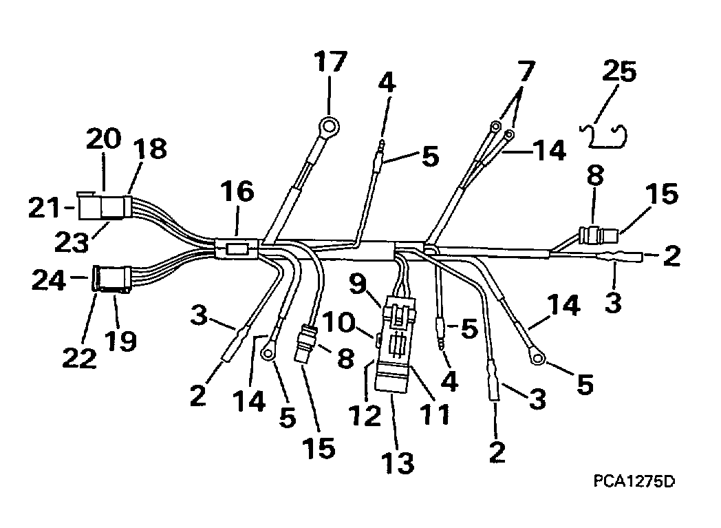
ДЕТАЛИРОВКА ДЛЯ МОДЕЛИ: EVINRUDE HE10FTEUR 1997

MOTOR КАБЕЛИ | MOTOR CABLE;


Мотор Evinrude HE10FTEUR 1997  - tor Кабели / tor Cable

Номер на
рисунке
АртикулНаименованиеКол-во
на складе
Цена
1 0445099

MOTOR Кабели (MOTOR CABLE)

нет в наличии, поставок нет
1 0445096

   (последний код) CABLE AY,MOTOR

нет в наличии, поставок нет
2 0512876

Клемма, Socket (TERMINAL, Socket)

нет в наличии, поставок нет
2 3852244

   (последний код) TERMINAL,SOC

нет в наличии, поставок нет
3 0513186

Гильза (SLEEVE)

нет в наличии, поставок нет
3 3852248

   (последний код) SLEEVE,SKT-B

нет в наличии, поставок нет
4 0512947

Клемма, Bullet (TERMINAL, Bullet)

нет в наличии, поставок нет
4 0910462

   (последний код) TERM.-60766-

нет в наличии, поставок нет
5 0513185

Гильза (SLEEVE)

нет в наличии, поставок нет
5 0512948

   (последний код) SLEEVE

нет в наличии, поставок нет
6 0510818

Клемма, Кольцо (TERMINAL, Ring)

нет в наличии, поставок нет
6 3854243

   (последний код) TERMINAL,RIN

нет в наличии, поставок нет
7 0511829

Клемма, Кольцо (TERMINAL, Ring)

нет в наличии, поставок нет
7 3852233

   (последний код) TERMINAL,RIN

нет в наличии, поставок нет
8 0513356

Коннектор (CONNECTOR)

нет в наличии, поставок нет
9 0514033

Коннектор, Предохранитель (CONNECTOR, Fuse)

нет в наличии, поставок нет
10 0514035

Клемма (TERMINAL)

нет в наличии, поставок нет
10 3858186

   (последний код) TERMINAL

нет в наличии, поставок нет
11 0514021

Предохранитель, 20 Amp (FUSE, 20 Amp)

нет в наличии, поставок нет
12 0514491

Крышка (COVER)

нет в наличии, поставок нет
13 0514022

Заглушка, Предохранитель (PLUG, Fuse)

нет в наличии, поставок нет
14 0510781

Гильза (SLEEVE)

нет в наличии, поставок нет
15 0581656

Клемма, Socket (TERMINAL, Socket)

нет в наличии, поставок нет
15 3852257

   (последний код) TERMINAL AY,SCKT

нет в наличии, поставок нет
16 0583898

DIODE в сборе. (DIODE ASSY.)

нет в наличии, поставок нет
16 3852258

   (последний код) KIT-AY,DIODE

нет в наличии, поставок нет
17 0204053

Клемма, Кольцо (TERMINAL, Ring)

нет в наличии, поставок нет
17 3852037

   (последний код) TERMINAL,RIN

нет в наличии, поставок нет
18 0514690

Заглушка, Сальник (PLUG, Seal)

нет в наличии, поставок нет
19 0514687

Коннектор, 6-Заглушка (CONNECTOR, 6-plug)

нет в наличии, поставок нет
20 0514688

Коннектор, 6-Внешняя розетка (CONNECTOR, 6-receptacle)

нет в наличии, поставок нет
21 0514679

Клемма, Штифт (TERMINAL, Pin)

нет в наличии, поставок нет
22 0514683

LOCK WEDGE, 6-Заглушка (LOCK WEDGE, 6-plug)

нет в наличии, поставок нет
23 0514684

LOCK WEDGE, 6-Внешняя розетка (LOCK WEDGE, 6-receptacle)

нет в наличии, поставок нет
24 0514680

Клемма, Socket (TERMINAL, Socket)

нет в наличии, поставок нет
25 0512741

Фиксатор (RETAINER)

нет в наличии, поставок нет
evinrude

Время выполнения запроса 0.62713503837585 сек.


 
 

данный сайт носит информационный характер и не является публичной офертой

склад запчастей для водомоторной техники