вконтакте

Контактный телефон: +7 (981) 121-46-93, +7 (800) 200-90-76 , Email: parts-katalog@yandex.ru, где купить

 
 

  Логин:

Пароль:

Регистрация

www.partskatalog.ru Все каталоги Запчасти Mercury Запчасти Suzuki Запчасти Tohatsu Запчасти Honda Контакты



УВАЖАЕМЫЕ КЛИЕНТЫ!
C 19 ДЕКАБРЯ 2025 ПО 02 МАРТА 2026 ГОДА ОТДЕЛ ЗАПЧАСТЕЙ И СЕРВИС РАБОТАТЬ НЕ БУДУТ
ПРОДАЖА ЛОДОЧНЫХ МОТОРОВ В ШТАТНОМ РЕЖИМЕ
ОБ ИЗМЕНЕНИЯХ В ГРАФИКЕ РАБОТЫ ЧИТАЙТЕ НА САЙТА




Все разделы каталога запчастей на этот двигатель

назад Раздел:   вперёд

вернуться к списку узлов и деталей

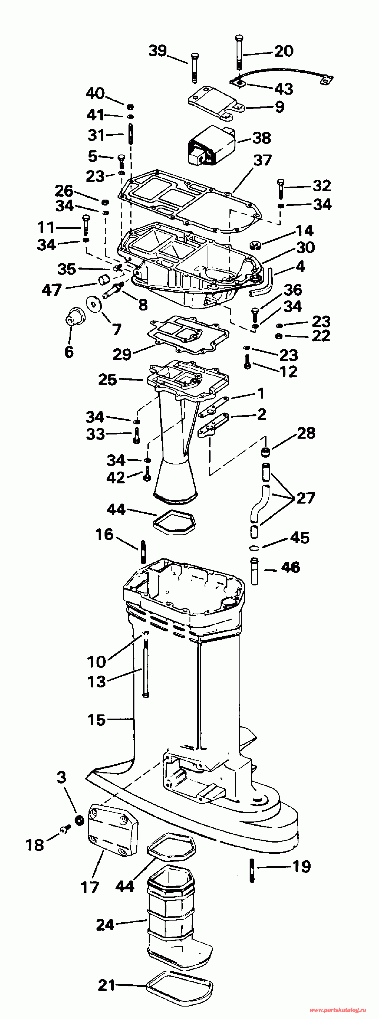
ДЕТАЛИРОВКА ДЛЯ МОДЕЛИ: EVINRUDE SE125RWYV 1996

УДЛИНИТЕЛЬ КОРПУСА | EXHAUST HOUSING;


Подвесной лодочный мотор Эвинруд SE125RWYV 1996  - haust Housing - haust Корпус

Номер на
рисунке
АртикулНаименованиеКол-во
на складе
Цена
1 0332999

Прокладка, Водяная трубка to megaphone (GASKET, Water tube to megaphone)

нет в наличии, поставок нет
2 0333000

ADAPTER, Водяная трубка to megaphone (ADAPTER, Water tube to megaphone)

нет в наличии, поставок нет
3 0301250

Шайба, Винт, Крепление (WASHER, Screw, mount)

нет в наличии, поставок нет
3 0911009

   (последний код) WASHER

нет в наличии, поставок нет
4 0333434

Сальник, Крышка to adapter (SEAL, Cover to adapter)

нет в наличии, поставок нет
4 0328589

   (последний код) SEAL

нет в наличии, поставок нет
5 0306427

Винт, Картер двигателя to adapter (SCREW, Crankcase to adapter)

нет в наличии, поставок нет
6 0328584

Крепление, Крышка двигателя (капот) (MOUNT, Engine cover)

нет в наличии, поставок нет
6 0349557

   (последний код) MOUNT

нет в наличии, поставок нет
7 0329749

Шайба, Крепление (WASHER, Mount)

нет в наличии, поставок нет
7 0349556

   (последний код) WASHER

нет в наличии, поставок нет
8 0329743

Шпилька, Крышка Крепление (STUD, Cover mount)

нет в наличии, поставок нет
9 0330929

Пластина верхней опоры (PLATE, Upper mount)

нет в наличии, поставок нет
10 0307708

Шайба, Удлинитель корпуса (WASHER, Exhaust housing)

нет в наличии, поставок нет
10 0302865

   (последний код) LOCKWASHER

нет в наличии, поставок нет
11 0303398

Винт, Adapter to outer Корпус (SCREW, Adapter to outer housing)

нет в наличии, поставок нет
11 0330119

   (последний код) SCREW

нет в наличии, поставок нет
12 0302860

Винт, Adapter to powerhead (SCREW, Adapter to powerhead)

нет в наличии, поставок нет
13 0329161

Винт, Удлинитель корпуса (SCREW, Exhaust housing)

нет в наличии, поставок нет
14 0329748

Сальник, Переключающая тяга (SEAL, Shift rod)

нет в наличии, поставок нет
15 0435433

Удлинитель корпуса (EXHAUST HOUSING)

нет в наличии, поставок нет
15 0435310

   (последний код) HSG&STUD

нет в наличии, поставок нет
16 0314956

Шпилька, Удлинитель корпуса (STUD, Exhaust housing)

нет в наличии, поставок нет
17 0338741

Крышка, Монтажный кронштейн, нижний (COVER, Mount bracket, lower)

нет в наличии, поставок нет
17 0337773

   (последний код) COVER,LOWER

нет в наличии, поставок нет
18 0908688

Винт, Крышка (SCREW, Cover)

нет в наличии, поставок нет
19 0333270

Шпилька, Удлинитель корпуса. 22.5 дюйм (571 мм) Transom Models Only (STUD, Exhaust housing. 22.5 in. (571mm) Transom Models Only)

нет в наличии, поставок нет
20 0330931

Винт, верхний Крепление (SCREW, Upper mount)

нет в наличии, поставок нет
20 0121250

   (последний код) SCREW

нет в наличии, поставок нет
21 0320961

Сальник, Редуктор to Внутренности машинки газ-реверс (SEAL, Gearcase to inner housing)

нет в наличии, поставок нет
22 0306422

Гайка, Powerhead to adapter (NUT, Powerhead to adapter)

нет в наличии, поставок нет
23 0306470

Шайба, Powerhead to adapter (WASHER, Powerhead to adapter)

нет в наличии, поставок нет
23 3852061

   (последний код) LOCKWASHER

нет в наличии, поставок нет
24 0327796

Выхлоп HSG., Inner, нижний 20 дюйм (508 мм) Transom Models Only (EXHAUST HSG., Inner, lower. 20 in. (508mm) Transom Models Only)

нет в наличии, поставок нет
24 0320838

   (последний код) HH-EXH-HSG-I

нет в наличии, поставок нет
24 0336263

Выхлоп HSG., Inner, нижний 22.5 дюйм (571 мм) Transom Models Only (EXHAUST HSG., Inner, lower. 22.5 in. (571mm) Transom Models Only)

нет в наличии, поставок нет
25 0336267

TUNING MEGAPHONE (TUNING MEGAPHONE)

нет в наличии, поставок нет
25 0333747

   (последний код) MEGAPHONE

нет в наличии, поставок нет
26 0328742

Гайка, Adapter to outer Корпус (NUT, Adapter to outer housing)

нет в наличии, поставок нет
26 0308133

   (последний код) NUT

нет в наличии, поставок нет
27 0321016

Водяная трубка (WATER TUBE)

нет в наличии, поставок нет
27 0346897

   (последний код) TUBE,WATER 20"

нет в наличии, поставок нет
28 0305145

Пыльник водяной трубки (GROMMET, Water tube)

нет в наличии, поставок нет
29 0328655

Прокладка, Megaphone to adapter (GASKET, Megaphone to adapter)

нет в наличии, поставок нет
30 0434146

ADAPTER, Удлинитель корпуса (ADAPTER, Exhaust housing)

нет в наличии, поставок нет
30 0398694

   (последний код) ADAPTOR-&-ST

нет в наличии, поставок нет
31 0316813

Шпилька, Adapter (STUD, Adapter)

нет в наличии, поставок нет
32 0303459

Винт, Adapter to Внутренности машинки газ-реверс (SCREW, Adapter to inner housing)

нет в наличии, поставок нет
32 3852048

   (последний код) SCREW

нет в наличии, поставок нет
33 0306418

Винт, Megaphone to adapter (SCREW, Megaphone to adapter)

нет в наличии, поставок нет
34 0302290

Шайба с блокировкой (LOCK WASHER)

нет в наличии, поставок нет
34 0338307

   (последний код) WASHER,LOCK

нет в наличии, поставок нет
35 0321886

ELBOW (ELBOW)

нет в наличии, поставок нет
35 0321686

   (последний код) ELBOW

нет в наличии, поставок нет
36 0306409

Винт, Adapter to Корпус, outer (SCREW, Adapter to housing, outer)

нет в наличии, поставок нет
37 0328590

Прокладка, Adapter to powerhead (GASKET, Adapter to powerhead)

нет в наличии, поставок нет
38 0395539

Монтажная резинка в сборе., верхний (RUBBER MOUNT ASSY., Upper)

нет в наличии, поставок нет
39 0330930

Винт, верхний Крепление (SCREW, Upper mount)

нет в наличии, поставок нет
39 0335021

   (последний код) SCREW 3/8-16

нет в наличии, поставок нет
40 0306422

Гайка, Картер двигателя to adapter (NUT, Crankcase to adapter)

нет в наличии, поставок нет
41 0306470

Шайба с блокировкой, Картер двигателя to adapter (LOCK WASHER, Crankcase to adapter)

нет в наличии, поставок нет
41 3852061

   (последний код) LOCKWASHER

нет в наличии, поставок нет
42 0302030

Винт, Megaphone, center (SCREW, Megaphone, center)

нет в наличии, поставок нет
42 0303398

   (последний код) SCREW

нет в наличии, поставок нет
43 0583967

LEAD в сборе., Заземление (LEAD ASSY., Ground)

нет в наличии, поставок нет
43 0583357

   (последний код) LEAD-AY

нет в наличии, поставок нет
44 0320936

Сальник, Удлинитель корпуса (SEAL, Exhaust housing)

нет в наличии, поставок нет
45 0326649

Уплотнительное кольцо, Удлинитель. 22.5 дюйм (571 мм) Transom Models Only (O-RING, Extension. 22.5 in. (571mm) Transom Models Only)

нет в наличии, поставок нет
45 0553127

   (последний код) O RING

нет в наличии, поставок нет
46 0335384

Удлинитель, Водяная трубка. 22.5 дюйм (571 мм) Transom Models Only (EXTENSION, Water tube. 22.5 in. (571mm) Transom Models Only)

нет в наличии, поставок нет
47 0322892

Колпачок, Elbow (CAP, Elbow)

нет в наличии, поставок нет
evinrude

Время выполнения запроса 3.211877822876 сек.


 
 

данный сайт носит информационный характер и не является публичной офертой

склад запчастей для водомоторной техники